Control unit S25-HM_20211123_095841 - 第6页
Control unit S25-HM Page 6 / 10 23.11.2021

Control unit S25-HM
Page 5 / 10 23.11.2021

Control unit S25-HM
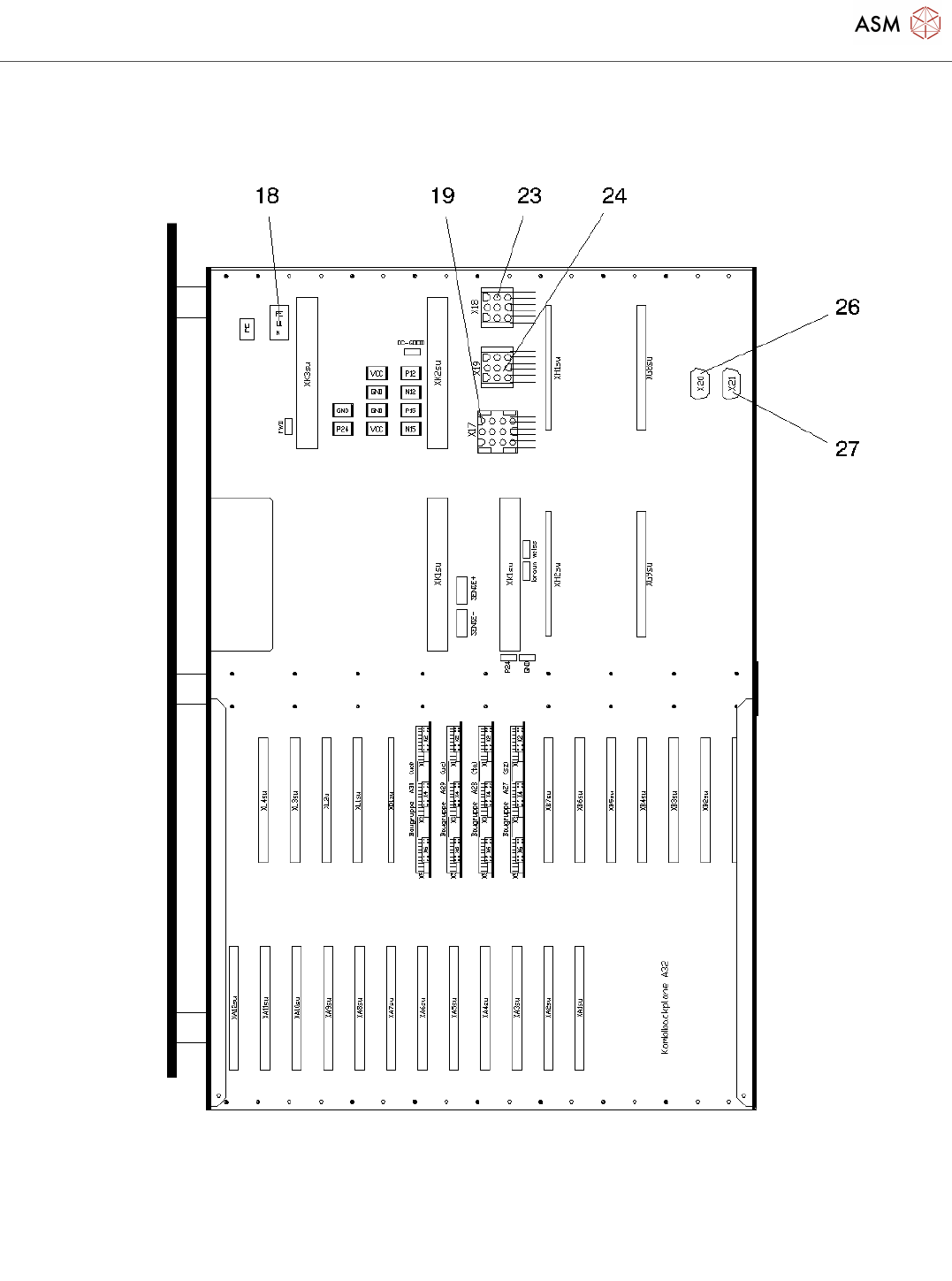
Page 6 / 10 23.11.2021

Control unit S25-HM
Page 7 / 10 23.11.2021
Control unit S25-HM Page 6 / 10 23.11.2021


