00193936-01 - 第166页
4 SIPLACE HF 4.5 SR.505.xx 2004 5 166 4.5.4.1 HS50 HS50 PCB 830 mm 4 PC…

SIPLACE HF 4
SR.505.xx 2004 5 4.5
165
4
4.5 - 2
4
(1)
(2) HS50
(3)
(4)
(5) HS50
(T) PCB
(P)
(S)

4 SIPLACE HF
4.5 SR.505.xx 2004 5
166
4.5.4.1 HS50
HS50
PCB 830 mm 4
PCB 830 mm
Æ HS50 4.5 - 2 5
PCB 900 mm 4
PCB 900 mm
Æ 90 mm HS50
4
4
4
4
4
4
4
4
4
4
4
4
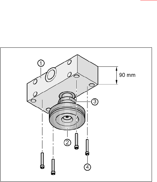
4.5 - 3
900 mm
4
(1) 90 mm
(2) HS50
(3) M24
(4) M12x80 4

SIPLACE HF 4
SR.505.xx 2004 5 4.5
167
Æ HS50
Æ
- PCB 4.5 - 2
4 165
- PCB 4.5 - 2
3 165
Æ 4 M12x80 4.5 - 3 4 size 10 mm
PCB 930 mm 950 mm 4
PCB 930 mm 950 mm
Æ 122.5 mm HS50
4
4.5 - 4
950 mm
950 mm
4
(1) 122.5 mm
(2) HS50
(3) M24
(4) M12 x 80 4