00193936-01 - 第252页
6 SIPLACE HF 6.2 SR.505.xx 2004 5 252 6.2.16 6 6 6.2 - 16 (1) (2) (3) (14) (15) …

SIPLACE HF 6
SR.505.xx 2004 5 6.2
251
6.2.15.1
6
6.2.15.2
6
SIPLACE Pro V 2.0
V 505.xx
SIPLACE Pro 6
6.2.15.3
6
- SIPLACE Pro
-
-

6 SIPLACE HF
6.2 SR.505.xx 2004 5
252
6.2.16
6
6
6.2 - 16
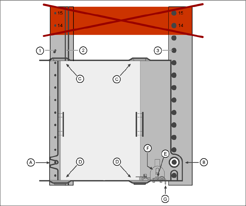
(1)
(2)
(3)
(14) (15)
6
260x360mm² 9
00116430-0 6
136x360 mm² 5
00116432-01
6

SIPLACE HF 6
SR.505.xx 2004 5 6.2
253
-
HF 2 4
HF/3 2
14 15
- 4
-
6.2.16.1
Æ A 6.2 - 16
Æ B 6.2 - 16
Æ
Æ C 6.2 - 16 D
6.2 - 16
Æ E 6.2 - 16
Æ F 6.2 - 16
Æ
136mm JEDEC CENELEC
6
6
6.2.16.2
Æ 6.2 - 16 G 6.2 - 16 F
6.2.16.3
SIPLACE Pro 6