00193936-01 - 第255页
SIPLACE HF 6 SR.505.xx 2004 5 6.2 255 25 35 45 55 65 75 µm 6 1 6 ± 5 mm 6 0 - 10 sec. 0.1 sec 6 …

6 SIPLACE HF
6.2 SR.505.xx 2004 5
254
6.2.17
6
6.2 - 17
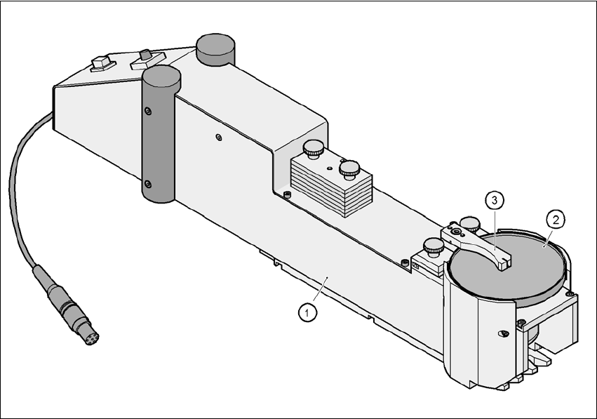
(1)
(2)
(3)
6.2.17.1
(1) CSP (2)
(3) 40 µm
6.2.17.2
00117010-xx 6
3 6
36 x 36 mm²
6
SIPLACE HF 6
SR.505.xx 2004 5 6.2
255
25 35 45 55 65 75 µm 6
1 6
± 5 mm 6
0 - 10 sec.
0.1 sec 6
0 - 2 sec.
0.1 sec 6
6
6

6 SIPLACE HF
6.3 SR.505.xx 2004 5
256
6.3
SIPLACE HF 4
6.3 - 1
1, 2, 3, 4 1 2 3 4
TPCB