CN_Nordson_EFD_EV_Series_Operating_Manual - 第77页
EV系列自动点胶系统 www.nordsonefd.com/cn china@nordsonefd.com +86 (21) 3866 9006 诺信 EFD 在全球范围内销售专业点胶系统并提供技术支持服务 77 附录A - 命令功能参考 附录A - 命令功能参考 本附录对每个设置与点胶命令作了详细介绍。这些命令按字母顺序排列。 以下规则适用于所有命令: · 一个命令会一直保持有效状态,直到为另一个命令所取代。 · 命令设置优先于系统设…

EV系列自动点胶系统
www.nordsonefd.com/cn china@nordsonefd.com +86 (21) 3866 9006 诺信EFD在全球范围内销售专业点胶系统并提供技术支持服务
76
技术数据(续)技术数据(续)
输入/输出连接示例输入/输出连接示例
可使用机械手背面的输入/输出端口和外部控制端口连接多个输入/输出。系统内有备用接口。以下示意图为机械手输
入/输出连接的常见示例。
输入输入
引脚 25
PLC输出(+24V)
PLC
SW1
机械手输入/
输出端口
+24VDC
机械手输入/
输出端口
引脚 2
输入 2
引脚 11
接地
引脚 1
输入 1
PLC接地
输出输出
连接在机械手上的外部装置连接在机械手上的外部装置
引脚 24
设备
机械手输入/
输出端口
+24VDC
引脚 11
接地
+24VDC电源额定输出为3.0 Amp。
启动与紧急停止(ESTOP)连接外部控制端口启动与紧急停止(ESTOP)连接外部控制端口
引脚 2
ESTOP
启动信号
外部控制端口
引脚 7
紧急停止
引脚 1
接地
外部控制端口
SW1
引脚 6
紧急停止
引脚 14
+24V In
设备
LED 1
机械手输入/
输出端口
输出 1
机械手输入/
输出端口
引脚 15
输出 2
引脚 11
接地
引脚 11
接地
接地
额定输出为125 mA.

EV系列自动点胶系统
www.nordsonefd.com/cn china@nordsonefd.com +86 (21) 3866 9006 诺信EFD在全球范围内销售专业点胶系统并提供技术支持服务
77
附录A - 命令功能参考附录A - 命令功能参考
本附录对每个设置与点胶命令作了详细介绍。这些命令按字母顺序排列。
以下规则适用于所有命令:
· 一个命令会一直保持有效状态,直到为另一个命令所取代。
· 命令设置优先于系统设置。
Acceleration (加速度)Acceleration (加速度)
点击点击 功能功能
用于控制机械手点到点(ptp)或沿一条连续路径(cp)的加速度。一般来说,此参数的值与机械手加速度呈相反关
系。
参数参数 描述描述
0:ptp 1:cp 在点到点(ptp)和连续路径(cp)之间进行加速度控制的切换。
Value
(值)
用于设定点到点或在一条连续路径上的加速度。
范围:20–500
Arc Point (圆弧中点)Arc Point (圆弧中点)
点击点击 功能功能
将当前XYZ位置记录为一个弧线中间点。弧线中间点沿一条弧形路径进行点胶。
Backtrack Setup (返回设置)Backtrack Setup (返回设置)
点击点击 功能功能
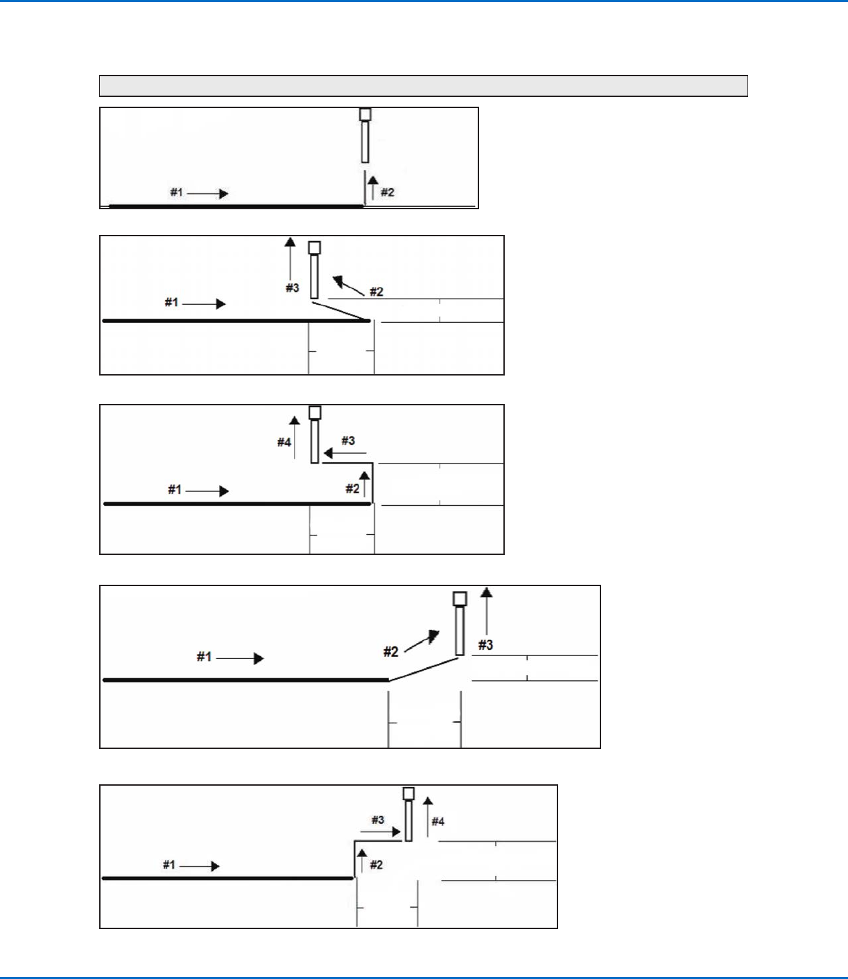
用于设定线段点胶结束时针头抬起方式。它对于高粘度或粘稠流体非常有用,可控制流体尾部落下的位置。下页图
例上显示了返回设置的选择情况。
参数参数 描述描述
Backtrack Length
(返回长度)
针头朝远离线段结束点方向移动的距离。
Backtrack Gap
(返回高度)
针头朝远离线段结束点方向抬升的距离。此值必须小于该点的Z轴工作高度值。
Backtrack Speed
(返回速度)
针头(1) 在线段点胶后向后并沿返回路径向上移动的速度,或 (2) 在线段点胶后向前并
以一个角度向上移动的速度。
Type (型) 0 or blank (Normal) [0或空(正常)] — 针头完全朝上移动,移动距离和高度依照“返
回长度”和“返回高度”中设定的值。
1 (Back) (向后) — 针头以一定角度向后移动,移动距离和高度依照“返回长度”和“
返回高度”中设定的值。
2 (Square Back) (直角向后) — 针头向上移动,然后向后移动,移动距离和高度依
照“返回长度”和“返回高度”中设定的值。
3 (Forward)(向前) — 针头以一定角度向前移动,移动距离和高度依照“返回长度”
和“返回高度”中设定的值。
4 (Square Forward) (直角向前) — 针头向上移动,然后向前移动,移动距离和高度依
照“返回长度”和“返回高度”中设定的值。

EV系列自动点胶系统
www.nordsonefd.com/cn china@nordsonefd.com +86 (21) 3866 9006 诺信EFD在全球范围内销售专业点胶系统并提供技术支持服务
78
I附录A - 命令功能参考(续)I附录A - 命令功能参考(续)
Backtrack Setup(返回设置)(续)Backtrack Setup(返回设置)(续)
返回设置图例
0或空(正常)
返回高度
1(向后)
返回高度
返回长度
2(直角向后)
返回高度
返回长度
3(向前)
返回高度
返回长度
4(直角向前)
返回高度
返回长度