Siplace productivity lift with dual conveyor top (base_ 00116310-03)_20211118_071210 - 第6页
Siplace productivity lift with dual conveyor top (base: 00116310-03) Page 6 / 9 18.11.2021

Siplace productivity lift with dual conveyor top (base:
00116310-03)
Page 5 / 9 18.11.2021

Siplace productivity lift with dual conveyor top (base:
00116310-03)
Page 6 / 9 18.11.2021

Siplace productivity lift with dual conveyor top (base:
00116310-03)
Page 7 / 9 18.11.2021
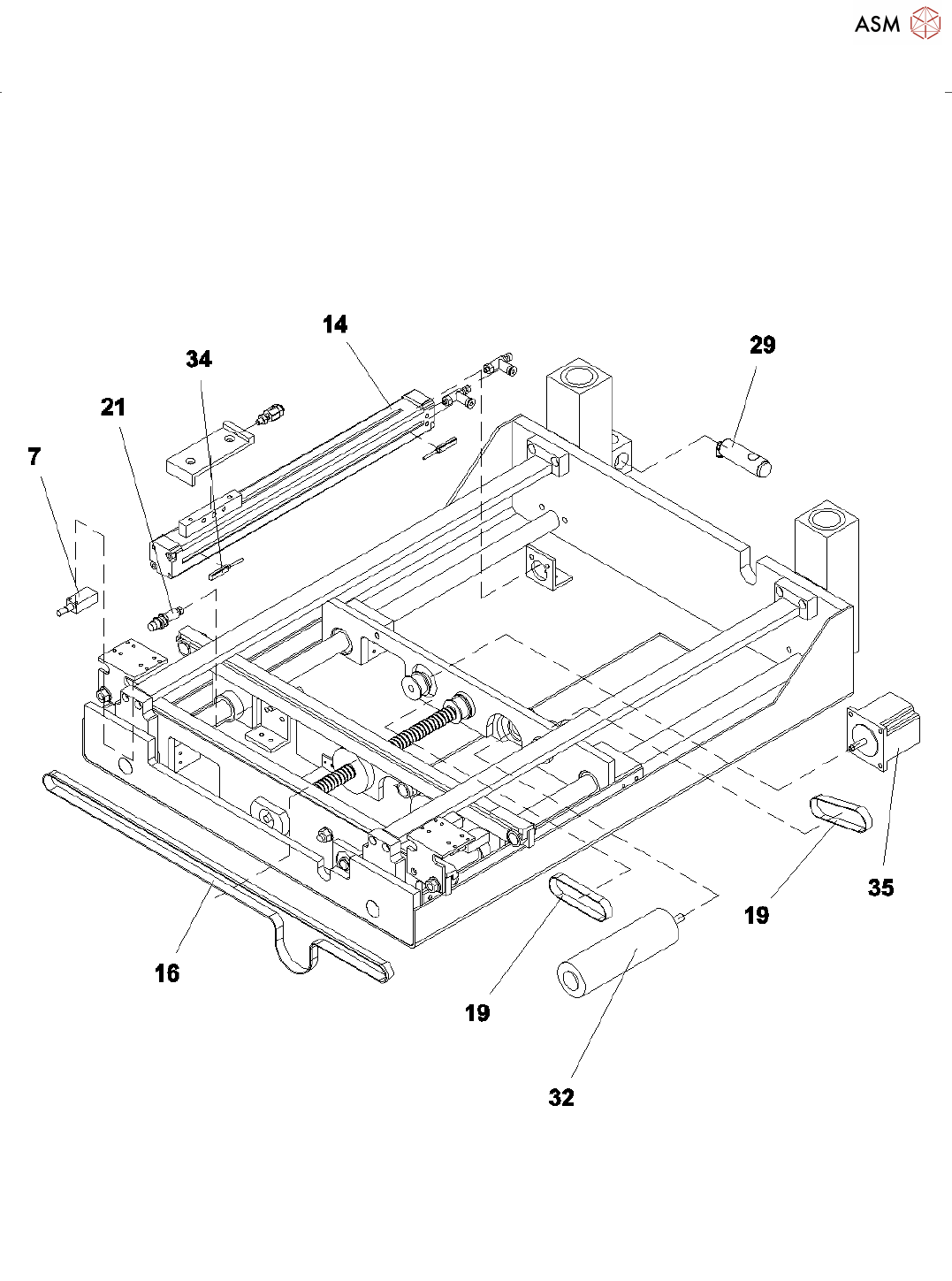
Pos. Item no. Description Part marking
00116325-03 SPL WITH DUAL CONVEYOR-TOP
(BASIS 00116310-03)
1 00347448-04 INTERFACE MODULE AMI 3.0 SPARE PART
2 00347449-01 RELAIS, PLUG-/PRINT- 5A SPARE
3 00347461-01 POWER PACK 15A 24V DC, PSU
500L24
Spare Part
4 00347475-02 OPTO-ELECTRONIC FOR STEP
MOTOR DKO, 24V
5 00347478-01 PROXIMITY SWITCH IQ10-03BPS-
KT1
Spare Part
6 00347478-01 PROXIMITY SWITCH IQ10-03BPS-
KT1
Spare Part
7 00347490-01 REFLECTION-LIGHT-SENSOR
WT4-2P330
Spare Part
8 00347490-01 REFLECTION-LIGHT-SENSOR
WT4-2P330
Spare Part
9 00348192-02 SUPPLEMENT-CONTROL-MODUL,
CAN/MS1
Spare Part
10 00348193-02 CONTROL UNIT CAN/MM101 SPARE PART
11 00348195-02 CONTROL PANEL CAN/P50 SPARE
12 00348197-01 PNEUMATIC CYL. UNIT
DNC-40-125-PPV-A
13 00348198-01 SOLENOID VALVE UNIT MYH-5/3G-
M5-L-LED
14 00348200-01 TAPE CYLINDER UNIT
DPG-18-252-PPV-AB
15 00349121-02 MICRO STEP POWER OUTPUT
K480216A-24
SPARE PART
16 00349122-01 FLAT-TAPE 12/1143 TG20 WEAR PART
17 00349122-01 FLAT-TAPE 12/1143 TG20 WEAR PART
18 00352706-01 LAMP 36V 5W PRODUCTIVITY LIFT WEAR PART
19 00347485-01 TOOTH-BELT 10 T5/200 WEAR PART
20 00347485-01 TOOTH-BELT 10 T5/200 WEAR PART
21 00347493-01 SHOCK-ADSORBER SA10 SPARE PART
22 00352857-01 DC-MOTOR WL 1 BG 62X60 SG80 Spare Part
23 00352858-01 MOTOR CONTROLLER SCA-B4-70-10 Spare Part
24 00352859-01 OPTO ELECTRONIC MAXI-MW-8-30 Spare Part
25 00352860-02 SAFETY RELAY SNE 4004 K-A SPARE
26 00352881-02 SAFETY RELAY SNO 4003 K-A SPARE