P-186-003e - 第57页
Key No. P AR T No. P AR T NAME Q’ty REMARKS NOTE MODEL TCM-X1 10 0507-002 55 101 630 086 4236 BASE(SCOPE XY) 1 809EB-010-101 102 630 1 17 0534 BASE(SCOPE XY) 1 809EB-010-102 103 630 086 2591 COLLAR(0.5) 4 T0.5 809EB-010-…

MODEL TCM-X110
0507-002
54
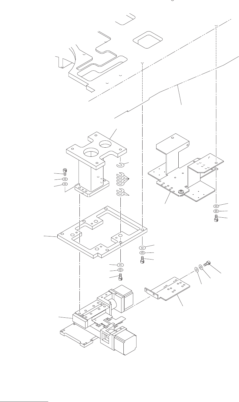
認識ユニット部
RECOGNITION UNIT SECTION
Fig. EB-2
スコープ
XY
ユニット
Scope XY Unit
119
111
120
108
112
108
112
121
115
114
113
107
109
108
106
105
104
See Fig.L-1
Key No.12
118
117
103
110
102
101

Key No. PART No. PART NAME Q’ty REMARKS
NOTE
MODEL TCM-X110
0507-002
55
101 630 086 4236 BASE(SCOPE XY) 1 809EB-010-101
102 630 117 0534 BASE(SCOPE XY) 1 809EB-010-102
103 630 086 2591 COLLAR(0.5) 4 T0.5 809EB-010-103
104 630 000 8036 BOLT,HEX-SCT 4 809EB-010-104
105 411 141 3100 WASHER SPR 8 4 809EB-010-105
106 630 001 0244 WASHER 4 809EB-010-106
107 630 000 7916 BOLT,HEX-SCT 6 809EB-010-107
108 411 141 3001 WASHER SPR 6 12 809EB-010-108
109 630 001 0237 WASHER 6 809EB-010-109
110 630 087 2156 COLLAR(0.1) 16 T0.1 809EB-010-110
111 630 098 2695 COLLAR(0.05) 8 T0.05 809EB-010-111
112 411 141 4305 WASHER V 6X12.5X1.6 6 809EB-010-112
113 630 000 7756 BOLT,HEX-SCT 2 809EB-010-113
114 411 141 6705 WASHER SPR 5 2 809EB-010-114
115 411 141 4107 WASHER V 5X10X1 2 809EB-010-115
117 630 117 0664 BRACKET 1 809EB-010-117
118 630 092 0512 BRACKET 1 809EB-010-118
119 630 125 1684 UNIT 1 MPM28(CX),MPM29(CY),BPH1-8,
#TKR26-KR26-1487580
809EB-010-119
120 630 000 7893 BOLT,HEX-SCT 4 809EB-010-120
121 630 000 7886 BOLT,HEX-SCT 2 809EB-010-121
EB-2

MODEL TCM-X110
0306-001
56
217
216
219
See Fig.L-1
Key No.12
232
216
223
232
216
219
227
237
226
225
238
226
204
203
202
217
216
215
253
254
228
224
222
218
214
201
認識ユニット部
RECOGNITION UNIT SECTION
Fig. EB-3
基板認識カメラ
P.E.C. Camera