4OM-1054-002 - 第327页
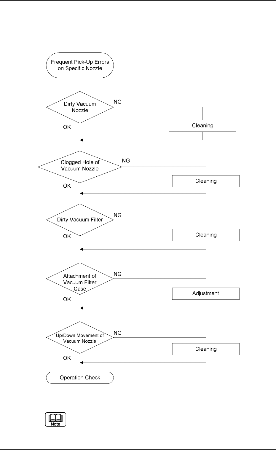
5.2.2 Symptom-Based T roubleshooting (1) Frequent Failures on Specific V acuum Nozzle Fig. 4B32 Refer to "1. Periodic Maintenance" in "Section 1" for the clean- ing. 5.2 Troubleshooting on Pick-Up Err…

(2) Machine-Based Factors
When a component has no problem, check the main body of the ma-
chine.
A failure can be tracked by checking if it occurs on a specific vacuum
nozzle or feeder slot No.
(2-1) When a failure occurs on a specific vacuum nozzle, check the
following items concerning the pertinent vacuum nozzle.
• Check if the nozzle is abnormal.
• Check if the vacuum line is abnormal.
• Check if the vacuum ON/OFF valve is abnormal.
When a factory is dusty or a lot of components packaged in paper tapes
are used, the vacuum nozzles and their filters get dirty easily. There-
fore, it becomes important to clean the vacuum nozzles and filters pe-
riodically.
Refer to "(1) Frequent Failures on Specific Vacuum Nozzle" in "5.2.2"
for the troubleshooting.
(2-2) When a failure occurs on a specific feeder slot No. (feeder No.),
check the following items concerning the pertinent feeder slot No.
(tape feeder).
1. Check if the tape feeder is loaded correctly with components.
2. Check if the top cover tape is peeled off normally.
3. Check if the data related to the component picks is normal.
Refer to "(2) Frequent Pick-Up Errors on Specific Feeder Slot No." in
"5.2.2" for the troubleshooting.
0307-001 2-209
AGS01ETRP
5.2 Troubleshooting on Pick-Up Errors

5.2.2 Symptom-Based Troubleshooting
(1) Frequent Failures on Specific Vacuum Nozzle
Fig. 4B32
Refer to "1. Periodic Maintenance" in "Section 1" for the clean-
ing.
5.2 Troubleshooting on Pick-Up Errors
0307-001 2-210 AGS01ETRP

(2) Frequent Pick-Up Errors on Specific Feeder Slot No.
Fig. 4B33
(a) See Figs. 4B34 and 4B35 on the next page for the check-
points on tape feeders.
(b) When a tape feeder loaded with different components is
installed, the pick-up position must be checked and the off-
set data "Feeder-B" must be cleared or modified for the
new components after program change operation because
it is prepared for the previous components.
5.2 Troubleshooting on Pick-Up Errors
0307-001 2-211 AGS01ETRP