4OM-1054-002 - 第72页
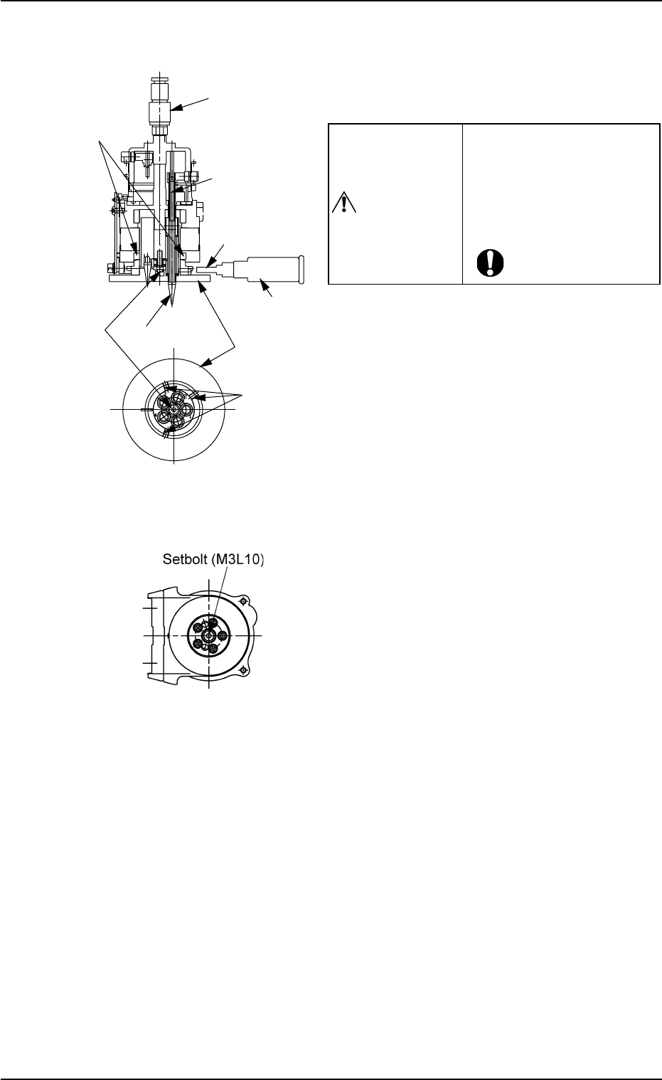
(7) While pressing the holder , loosen 2 set- screws on the upper area of the head adequately with the 1.5 mm bit (Standard Accessory Part: 630 1 16 3659) to detach the holder from the head. (a ) Carefully loosen 2 setsc…

(5) Loosen 3 setscrews fastening the diffusion
plate with the 2 mm bit (Standard Accessory
Part: 630 116 3673) and detach the diffu-
sion plate from the head.
(6) Loosen and remove the setbolt and detach
the MSB plate.
0303-005 1-57
AGS01ETRP
1.4 Maintenance Method
Fig. 4A70
CAUTION
Do not apply a wrench,
etc., to the magnet for head
origin detection.
Otherwise, the magnet will
be demagnetized.
Fig. 4A71 View from Head Bottom
Rotary Turret
Tightening Jig
Miniature
Stroke Bearing
Diffusion Plate
Setscrews
(3 pcs.)
Nozzle
Holder
Mounting Bolts
Magnet for Head
Origin Detection
Torque Screwdrive
r
(630 044 2786)
2 mm Bit

(7) While pressing the holder, loosen 2 set-
screws on the upper area of the head
adequately with the 1.5 mm bit (Standard
Accessory Part: 630 116 3659) to detach
the holder from the head.
(a) Carefully loosen 2 setscrews be-
cause the holder pops out upward.
(b) To avoid damaging the tapped hole,
use a hexagon wrench (TONE,
BONDUS) that fits the diagonal di-
mensions.
(8) Detach the miniature stroke bearing (MSB).
(8-1) Detach the MSB shaft and the MSB outer
cylinder.
Pull out the MSB shaft from the upper
side. Use a pair of tweezers to pull out the
MSB outer cylinder from the lower side.
Do not change the combination of the
MSB shaft and the MSB outer cylinder.
Otherwise, the smooth movement of the
head cannot be expected and the head
may have some leeway.
(9) Detach the upper seal, the collar, and the
lower seal from the MSB outer cylinder.
When the upper and lower seals are
scratched or deformed or foreign
substances have accumulated on
them, replace them with new ones
(630 048 0849).
0303-005 1-58
AGS01ETRP
1.4 Maintenance Method
Fig. 4A72
Fig. 4A74
Fig. 4A73

• Washing of Miniature Stroke Bearing
(1) Wash the MSB shaft and the MSB outer
cylinder with kerosene in the supersonic
cleaner for approx. 5 to 10 minutes.
(a) Do not wash the A-marked area of
the MSB shaft.
Use a cleaning jig to keep the A-
marked area clear of the cleaning
solvent.
If the A-marked area is washed, the
bearings and the spring inside the
shaft will be degreased, shortening
the longevity of the MSB.
Cleaning Jig
Name : Miniature SB Cleaning
Base
Jig No. : JG-0128
(b) Alcohol can also be used in place
of kerosene.
In this case, wipe the surfaces of
the MSB shaft and the MSB outer
cylinder with a rag quickly after
washing and grease them up.
(c) Light oil can be used in place of
kerosene.
Right after light oil is used, be sure
to blow air to the MSB shaft and
outer cylinder until they dry out
completely. After that, grease them
up.
(d) Do not leave the MSB shaft and
outer cylinder with light oil being
adhering to them for a long time.
Otherwise, the longevity of the MSB
will shorten.
0307-006 1-59 AGS01ETRP
Fig. 4A75
1.4 Maintenance Method
A
Spring (inside the shaft)
Bearing
Liquid Level
MSB Outer
Cylinder
MSB Shaft
Cleaning Jig