WPC6_074449 - 第16页
WPC6 Page 16 / 34 16.09.2021

WPC6
Page 15 / 34 16.09.2021

WPC6
Page 16 / 34 16.09.2021

WPC6
Page 17 / 34 16.09.2021
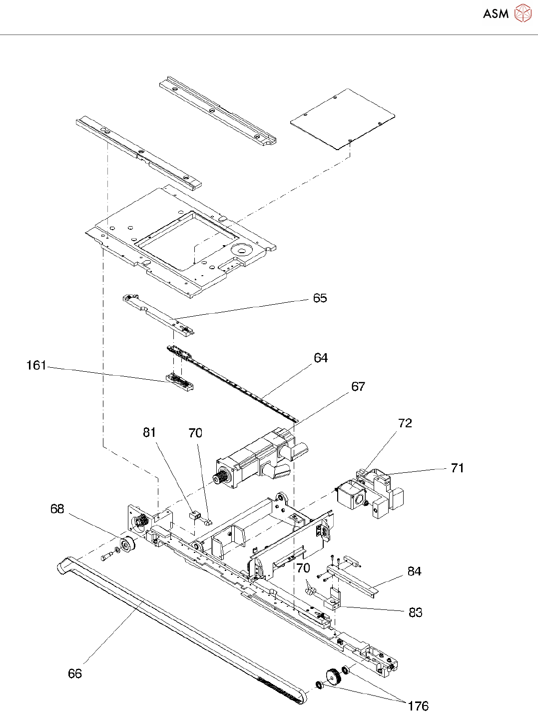
Pos. Item no. Description Part marking
1 03067618-02 WPC6 900-950 MM
03071483-02 FRAME ASSEMBLY WPC / NSM
03071104-02 BASE FRAME PROCESSED WPC5
03057990-02 RECEPTACLE -CONTROLRACK WPC
5
03048089-02 GUARD TRANSFORMER
03049012-01 CABLE CHANNEL 25X25X540
2 03049864-01 BUFFER ASSEMBLY LIFTING AXIS SPARE PART
3 00301040-01 ELASTOMER SPRING 25*10,5*50
(90 SHORE A)
SPARE PART
03049863-01 SLEEVE (BUFFER LIFTING AXIS)
03071489-01 GROUND METAL 2
6 03067617-02 FEED AXIS / WPC5
03067616-02 FRAME PROCESSED / WPC5
03052820-01 MOTOR FLANGE
7 03047270-01 CIRCULAR LEVEL SPARE PART
03071508-01 PRECENTERING
8 03047690-01 TOOTHED BELT 10T5/2120 E WEAR PART
03069545-01 SENSOR MOUNT FA / WPC5
03046904-01 LENS FLANGE SCREW M4X8-A2-70
03070141-01 SENSOR BLOCK FA / WPC5
9 03047651-01 FRAME PROTECTION 2 SPARE PART
10 03069217-02 SLIDING RAIL LEFT SIDE SHORT SPARE PART
11 03047689-01 TOOTHED BELT 16T5/330 WEAR PART
12 03051250-01 FRAME PROTECTION 1
03049057-01 PROXIMITY SWITCH MOUNT 2
13 03046607-01 RAIL F. RECOGNITION MARK
69 03054316-01 STOP PAD FRONT / NSM
16 03054318-01 PRESSURE PIECE D6 L9,5 90 SHORE SPARE PART
03069254-01 BELT FASTENER FA / WPC5 SPARE PART
03070336-01 SENSOR MOUNT HIGH FA / WPC5
17 03047013-01 LINEAR GUIDE 2SRS9MUU+865LM SPARE PART
03054317-01 STOP PAD REAR / NSM
03046591-01 CLAMP
03046602-01 SYNCHRONIZING DISK