Q170226E01 中文版 - 第114页
rh5 服务手册 5.3X − Y表的 来源和超限检 查和调整 da3s ec − 83 − 8ko − a0 5.3 − 2 2 =检查= • 检查主控面 板上的显示是 否指示原点。 • 如果没有, 请遵循下面的 程序。 (1) 将CH4从2 00改为80。 (2) 关闭电源 并将其打 开。 (3) 再次松开 电机侧N联轴 器。 (4) 关闭服务 锁释放和 手动滑动 X − Y表到原点检 测光子模拟 LED的位 置 点燃了。 (5) …

rh5
服务手册
5.3X−Y表的来源和超限检查和调整
5.3
−
1
1
da3sec−83−8ko−a0
5.3
X−Y表的来源和超限检查和调整
判决编号。
da3sec−83−8ko−a0
什么时候表演
•
后更换电机
•
维修或更换X−Y表后
•
当插入错误经常发生时
所需工具
•
艾伦扳手
•
箱子扳手
检查原点位置
1.
将X轴(Y轴)驱动器的CH4(速度回路增益)从80
改为200。
2.
把电源关掉一次,然后把它打开。
3.
将原点板设置为X−Y表。
=检查=
•
将基准销($4.0)连接到定位杆上。
•
确保导向销不弯曲。
4.
创建以下NC数据。
n1 g1 m0t0v4x0 是的 z0
n20 0 4 0 0 0 0
n30 1 1 0 140.0 67.5 1
5.
输入程序偏移如下:M:
X=−160.00Y=−255.00
ll:x=−250.00y=−385.00
6.
手动将X−Y表返回到其原点。
x−轴原点
探测光子模拟
−轴原点
探测光子模拟

rh5
服务手册
5.3X−Y表的来源和超限检查和调整
da3sec−83−8ko−a0
5.3
−
2
2
=检查=
•
检查主控面板上的显示是否指示原点。
•
如果没有,请遵循下面的程序。
(1) 将CH4从200改为80。
(2) 关闭电源并将其打开。
(3) 再次松开电机侧N联轴器。
(4) 关闭服务锁释放和
手动滑动X−Y表到原点检测光子模拟LED的位置
点燃了。
(5) 按ORIGIN RETURN按钮将X−Y表返回到其原
点。
(6) 确保主控面板上的显示器指示原始位置。
(7) 将CH4从80改为200。
(8) 关闭电源并将其打开。
7.
使用教学功能,将X−Y表移动到步骤4中创建的数据
位置。
8.
转动手轮,保证导向销出原点板孔。
=检查=
此时,砧和导针的摆动精度必须在给定的范围
内。

rh5
服务手册
5.3X−Y表的来源和超限检查和调整
5.3
−
1
3
da3sec−83−8ko−a0
调整原点位置
1.
将X轴(Y轴)驱动器的CH4(速度环增益)从
200更改为100。
2.
关闭电源并将其打开。
3.
手动将X−Y表返回到其原点,并将其移动
到步骤4中在“检查原点位置”中创建的
数据位置’。
4.
断开N耦合。
5.
手动移动X−Y表,引导销通过转动手轮从
原点板中出来。
6.
将手轮返回原点,然后拧紧N个联轴器。
7.
将X轴(Y轴)驱动器的CH4(速度环增益)从
100更改为200。
8.
关闭电源并将其打开。
9.
通过以下方法再次检查X−Y表
步骤7和8在“检查原点位置’。
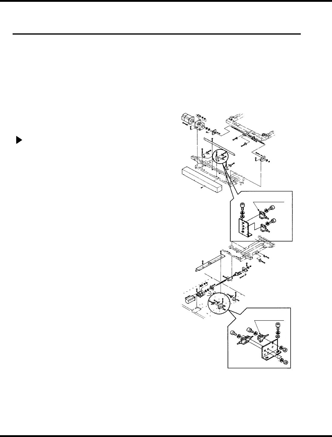
电机侧螺母
N耦合
(17毫米 )
滚珠丝杠侧螺母
马达
(17毫米 )
领导
滚珠丝杠