Q170226E01 中文版 - 第230页
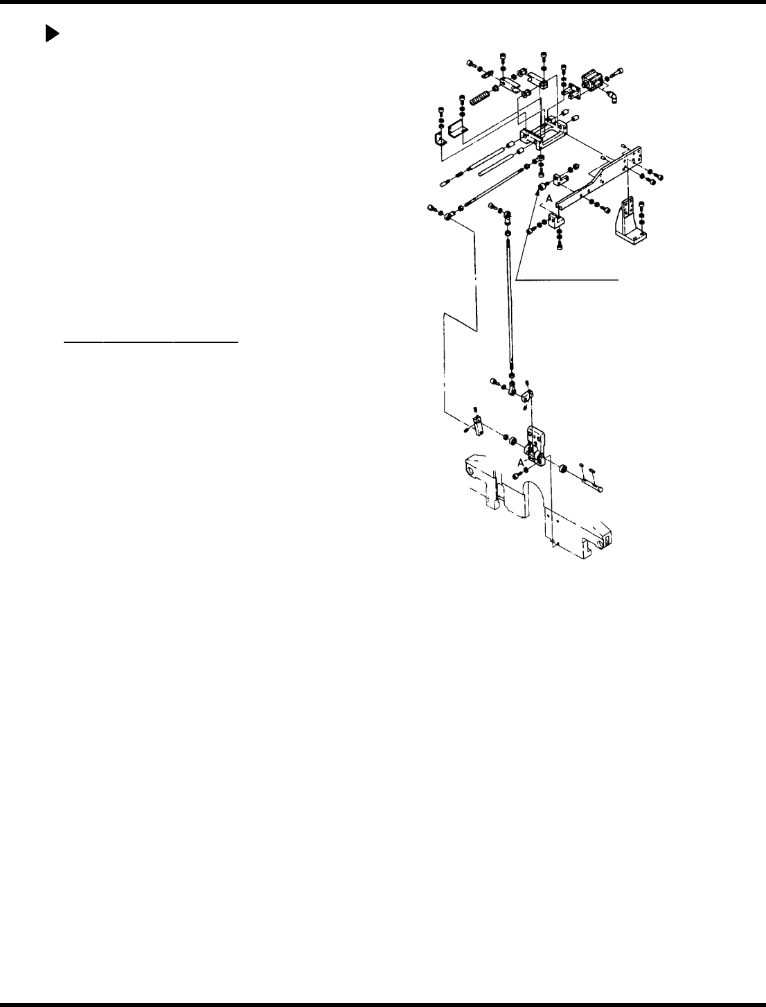
rh5 服务手册 5.34轴线 高度检查和调 整 5.34 − 1 3 da3s ec − 83 − 9s0 − a0 调整Z轴高度 (降低 Z轴) 1. 松开螺栓塞 子。 2. 将厚度计( 有高度要降低 )夹在螺栓塞 子和支架之 间。 3. 拧紧螺栓塞 子。 4. 拆卸Z轴支架( 4 − M8)。 5. 点击Z轴支架从上 面,并 确保0. 03毫米厚 计不能适合 。 6. 重新紧固Z轴支 架(4 − M 8)。 7. 再次检查胶 带废…

rh5
服务手册
5.34轴线高度检查和调整
da3sec−83−9s0−a0
5.34
−
2
2
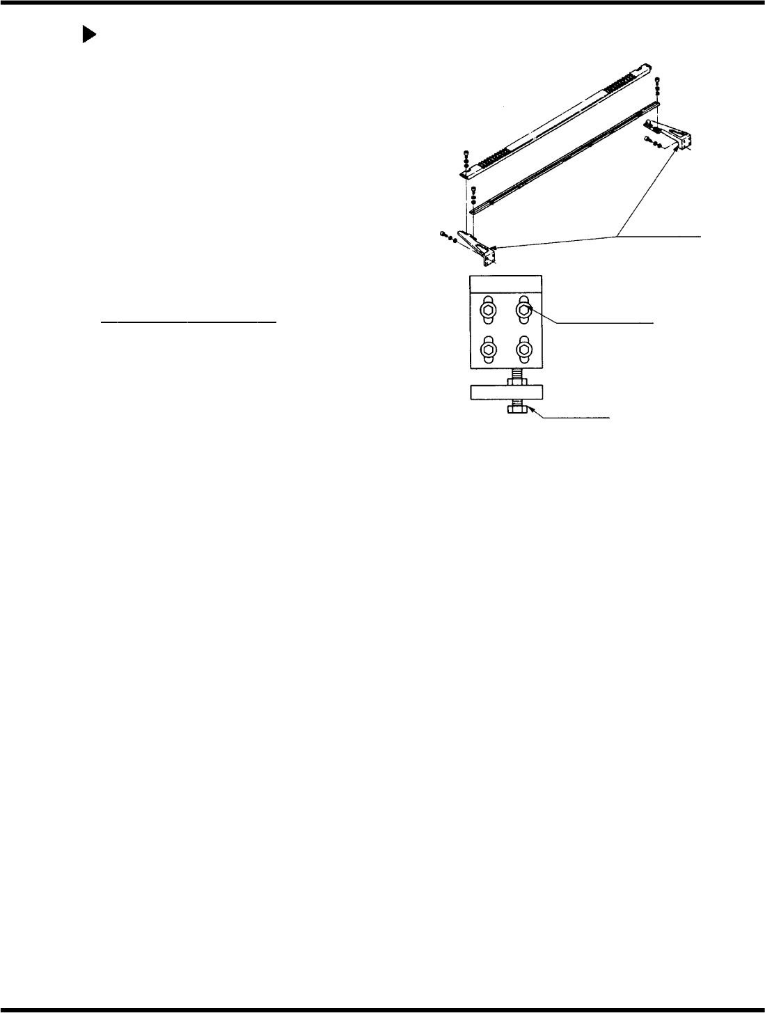
调整Z轴高度(提高Z轴)
1.
拆卸Z轴支架(4−M8)。
2.
使用开槽螺丝刀,提升Z轴支架,并在螺栓
塞子和支架之间夹层测厚仪(有要提高的高
度。
3.
重新紧固Z轴支架(4−M8)。
4.
拆下测厚仪,松开螺栓塞。
5.
挤压螺栓塞子并固定它,使0.03毫米厚度
计将不适合。
6.
再次检查胶带废料。
两个点在Z轴编号。 1和80(62)
Z轴支架
Z轴支架(4−M8)
螺栓塞子

rh5
服务手册
5.34轴线高度检查和调整
5.34
−
1
3
da3sec−83−9s0−a0
调整Z轴高度(降低Z轴)
1.
松开螺栓塞子。
2.
将厚度计(有高度要降低)夹在螺栓塞
子和支架之间。
3.
拧紧螺栓塞子。
4.
拆卸Z轴支架(4−M8)。
5.
点击Z轴支架从上面,并确保0.03毫米厚
计不能适合。
6.
重新紧固Z轴支架(4−M8)。
7.
再次检查胶带废料。
=检查=
确保用于支持安装在进料板上的Z轴保
持架的凸轮从动件(X2)中的任何一个
适合Z轴保持架。
在调整Z轴高度时,也要做凸轮从动件的
位置。 )
凸轮从动件为Z轴支
架

rh5
服务手册
5.34轴线高度检查和调整
da3sec−83−9s0−a0
5.34
−
2
4
=备忘录=