Q170226E01 中文版 - 第81页
rh5 服务手册 da3sec − 11 − 020 − a0 3.2 − 2 3.2 连接电源 3.2 连接电源 3.2 .1 连接 电 缆 判决编号。 da3sec − 11 − 020 − a0 在机器安装 过程中,用电 缆连接电源和 机器。 下图 为电源输入电 路。 连接配电盘 ,总开关,机 器如图所示。 由其提供 电缆随机器 而来 机器 连接电缆 供电电缆接 地电缆 电线必须固 定 =检查= 该机器的电 力体积为三 − 交流2…

rh5
服务手册
3.1安装大纲
da3sec
−
11
−
010
−
a0
3.1
−
2
6
3.1.5
连接空气供应
将一次空气管道连接到机器上。
确保一次空气压力大于0.5MPa,流量大于120L/min(A.N.R)。
=检查=
一次空气不得有水分等外来物质。
完成管道连接后,供应一次空气,并使用MR单元将其调整到0.5MPa。

rh5
服务手册
da3sec
−
11
−
020
−
a0
3.2
−
2
3.2
连接电源
3.2
连接电源
3.2.1
连接电缆
判决编号。
da3sec−11−020−a0
在机器安装过程中,用电缆连接电源和机器。 下图为电源输入电路。
连接配电盘,总开关,机器如图所示。
由其提供 电缆随机器而来
机器
连接电缆
供电电缆接地电缆
电线必须固定
=检查=
该机器的电力体积为三−交流200V5k VA。 当将电缆连接到总开关时,注意满足配电盘安装的要求。

rh5
服务手册
3.2
−
1
da3sec
−
11
−
020
−
a0
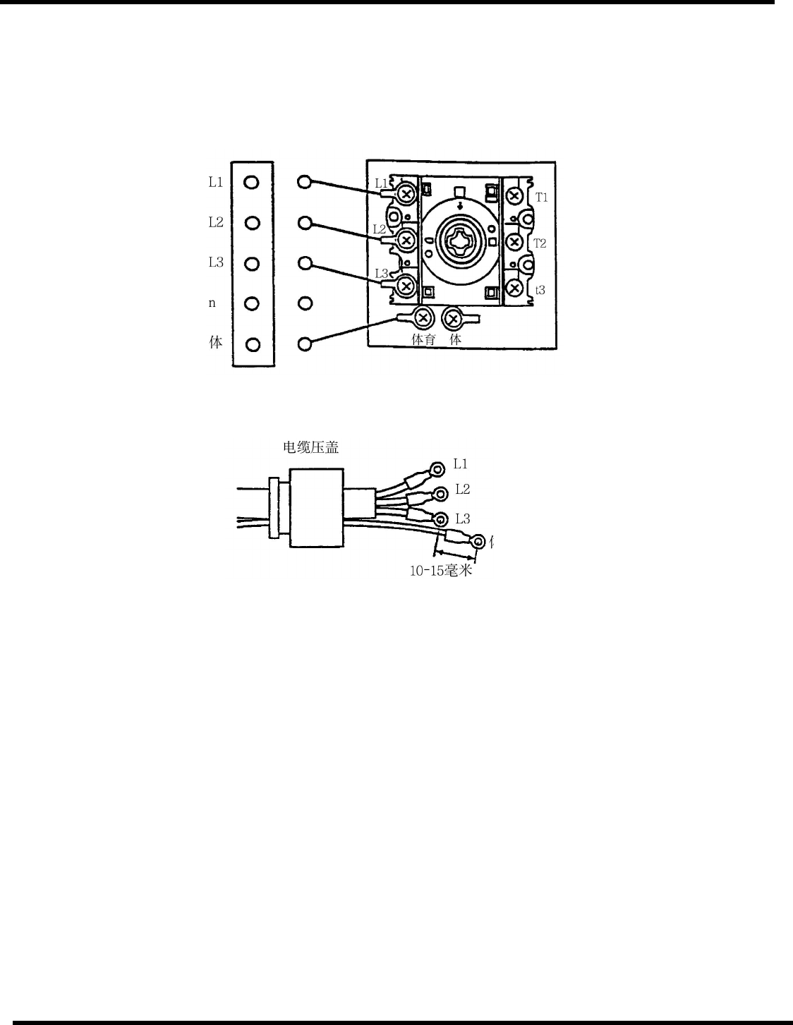
3.2接通电源
3.2.2
连接程序
按照下面的程序连接电缆。
1.
关闭配电盘的开关。
2.
用3根
−
芯电缆和一芯保护接地电缆将配电盘接至总开关的输入端。
必须连接保护土(PE)。
配电板 总开关
体育
=检查=
PE电缆
指导必须根据国家要求。