Components carriage X-series_20211123_105013 - 第9页
Components carriage X-series Page 9 / 12 23.11.2021

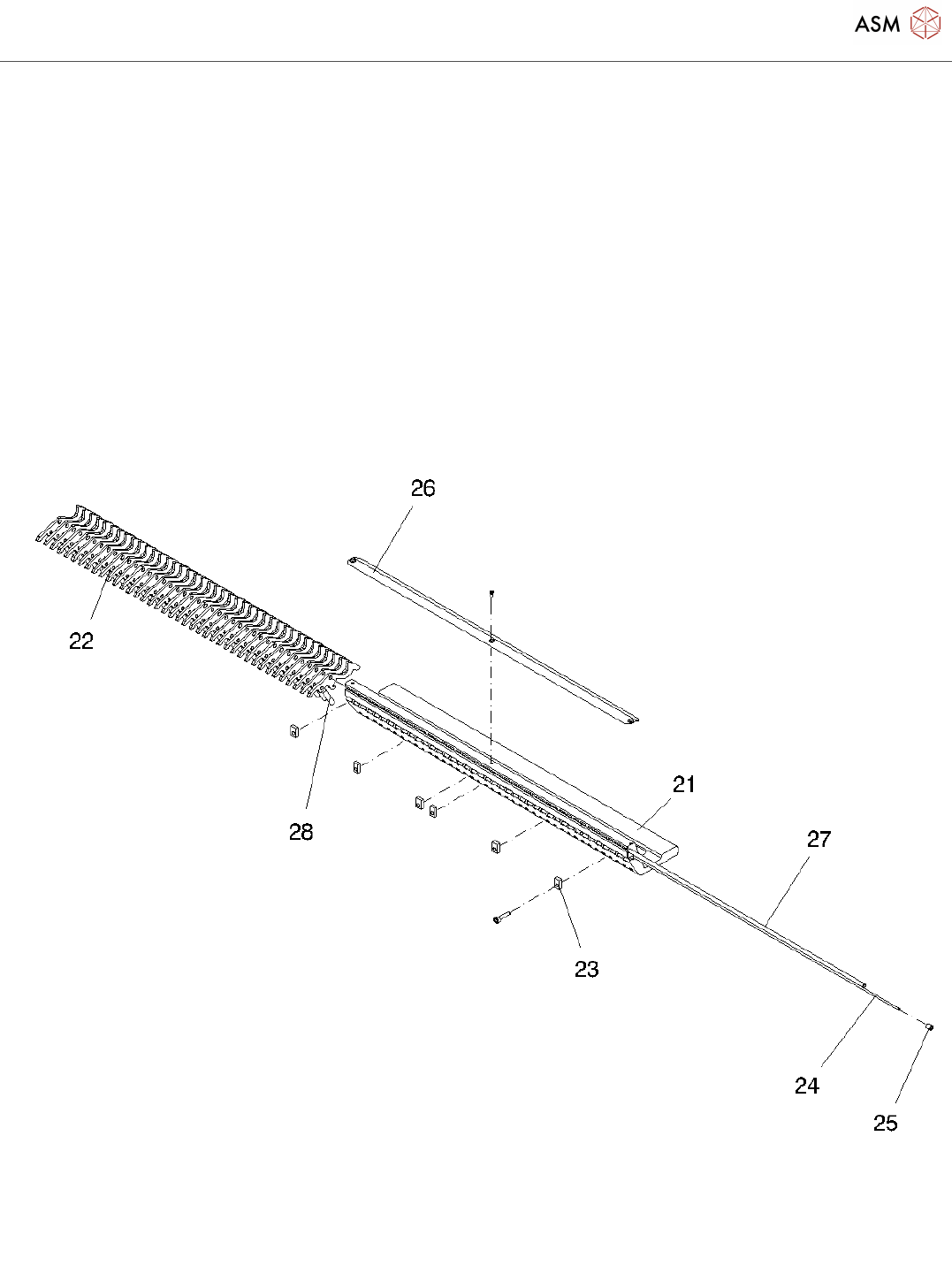
Components carriage X-series
Page 8 / 12 23.11.2021

Components carriage X-series
Page 9 / 12 23.11.2021

Components carriage X-series
Page 10 / 12 23.11.2021