文档中心
/
Cable trees_20211119_043403
Cable trees_20211119_043403 - 第13页
Cable trees Page 13 / 25 19.11.2021
目录
100%
显示:宽度
宽度
1 / 25
回到旧版
旧版
?
Cable trees
Page 12 / 25
19.11.2021
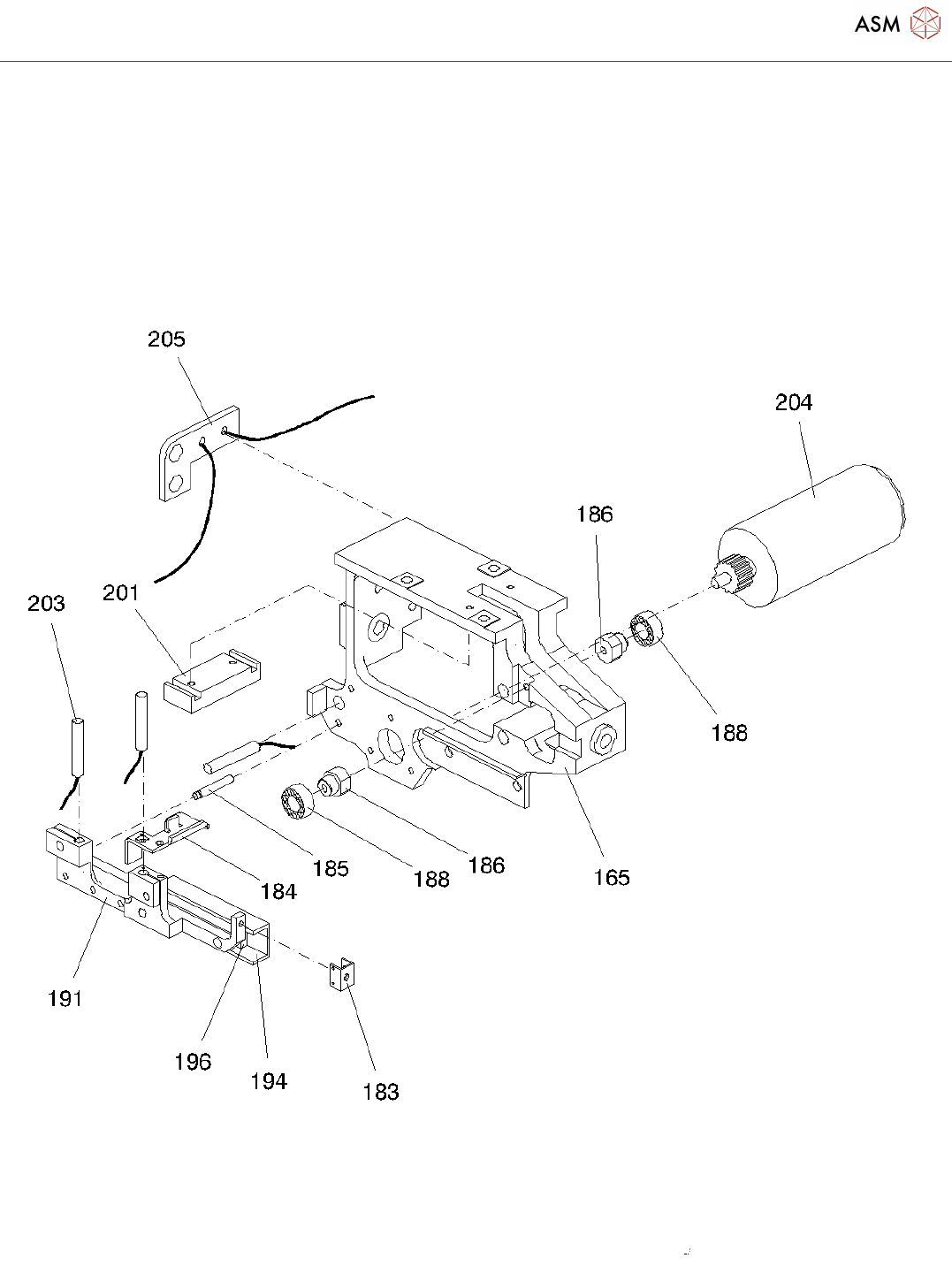
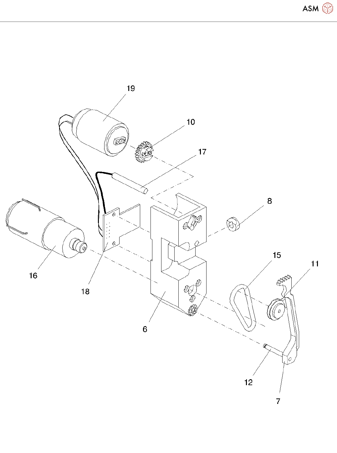
Cable trees
Page 13 / 25
19.11.2021
Cable trees
Page 14 / 25
19.11.2021
该页面需要启用 JavaScript 才能进行交互式预览。