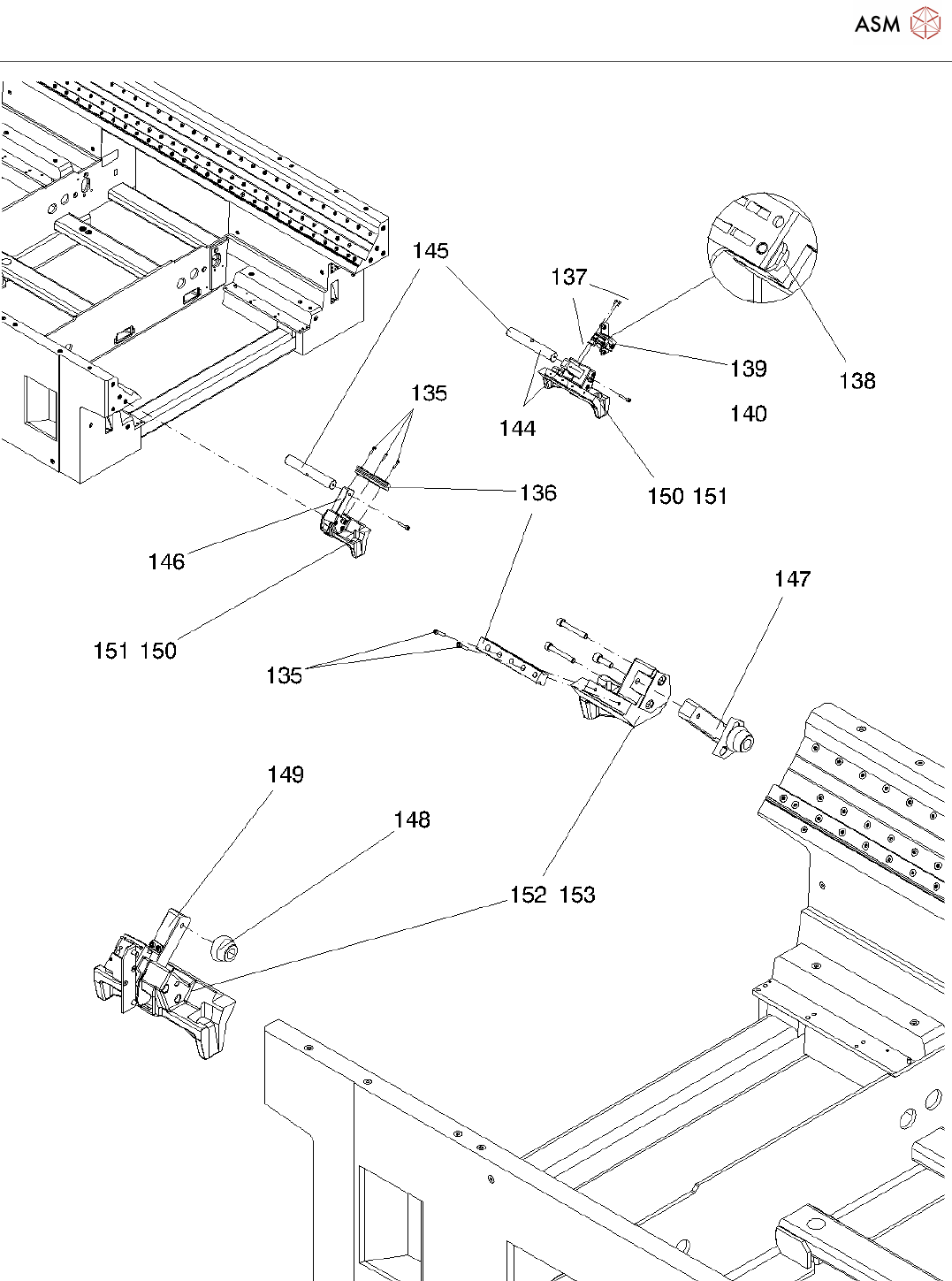
Machine protection SX1_2 V2_20211123_071215 - 第13页
Machine protection SX1/2 V2 Page 13 / 20 23.11.2021

Machine protection SX1/2 V2
Page 12 / 20 23.11.2021

Machine protection SX1/2 V2
Page 13 / 20 23.11.2021

Machine protection SX1/2 V2
Page 14 / 20 23.11.2021