KE-750_MS - 第16页

4. Magnescale Replacement – For method of adjustment & tension settings, refe r to QA Table, X-Y Unit, XY-7, Magnescale / Fastening position / Clearance. 5. Limit Sensor Replacement (1) X-axis limit Right X frame end…

100%1 / 257
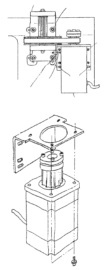
(2) Y Motor
SL6051492TNx4
(Tightening torque
9Nm)
Y-axis motor
KM000000020
YM bracket
E2305725000
YM bracket assy
SM8053002TP
SN6050001SC
Parallel
pins
SL6061642TN
(Tightening
torque 15Nm)
SL6061642TN
(Tightening torque 15Nm)
YA pulley bracket assy
Loosen lock nut NM6050001SC and
SM8053002TP.
Remove 4 screws SL6061642TN fastening
YM bracket assy Y frame and remove
bracket.
Replace motor as shown in the diagram
while taking care to note motor & bracket
positioning. (Assemble so that motor cable
faces bracket motor mounting face.)
Remove pulley M and ETP bush above
motor axis and replace. (Refer to separate
section for mounting & disassembly of ETP
bush.)
Mount belt on pulley, insert parallel pin into
slot and provisionally tighten screws
SL6061642TN.
Regulate belt tension. Refer to the QA Table,
X-Y Unit, XY-1, XY Belt Tension for Timing
Belt XA.
1-9
4. Magnescale Replacement
For method of adjustment & tension settings, refer to QA Table, X-Y Unit, XY-7, Magnescale /
Fastening position / Clearance.
5. Limit Sensor Replacement
(1) X-axis limit
Right X frame end
SM7860801SC
SL5020892TN
(Tightening torque 1Nm)
E2435725000
X limit bracket
SL5020892TN
(Tightening torque 1Nm)
SM7860801SC
E2435725000
X limit bracket
Left X frame end
Remove sensor SM4860801SC from X-limit bracket and replace.
(2) Y-axis limit
Remove sensor SM4860801SC from Y-limit bracket and replace.
E2324725000
Y limit bracket
Linear motion
guide rail
For replacement & adjustment of both left & right sensors, refer to the QA Table, X-Y Unit, XY-9,
Limit sensor positioning" under XY Unit, XY-9 in the QA table.
1-10
6. Home Sensor Replacement
(1) X home sensor
Home sensor is mounted in the X-axis frame. Remove screw to replace.
After replacement, move home sensor back and forth until it is 1mm +2/0 from the magneswitch
magnet located on the back of the head plate.
X-MSC bracket
Magneswitch
magnet
X home sensor
(Accessory screw)
E94907250A0
X home sensor
Left X frame end
(2) Y home sensor
Remove screws SL4040801SC in Y-ORG bracket which hold sensor and replace.
Refer to heading "Home sensor positioning" under XY Unit, XY-8 in the QA list for details on
positioning after replacement.
SL4040801SC
SL6040892TN
E2323725000
Y-ORG bracket
1-11