KE-750_MS - 第10页
2. Pulley Replacement (1) XA Pulley Bracket Assy – Loosen the 4 screws SL6061492TN that hold the Y-axis cable bearer. Pull cable bearer away. SM1050801SC Tightening torque 9Nm Locktite 242 SL6062042TN Tightening torque 1…

(3) Timing Belt YB
– Remove the 2 screws SL6061642TN holding Y belt support (1) at left & right of X frame end.
– Loosen lock nut NM6060001SC at left
& right of YB pulley bracket and loosen
SM6064002TN.
Y belt support (1)
Timing belt YB
Y belt support (2)
Y belt support (1)
SL6061642TN
(Tightening torque
15Nm)
(Tightening torque
15Nm)
Y tension support
E2315725000
SL6062542TN
(Tightening torque
15Nm)
YB pulley bracket
assy (L/R)
– Loosen the 4 screws SL6062592TN
holding YB pulley bracket to loosen
belt.
– Remove 6 screws SL6041242TN
holding Y belt support and remove Y
belt support (2).
– Cut timing belt YB (E2308725000) at
the 63rd peak and bevel cut edges as
shown at right.
– Pass belt through pulleys YA & YB,
sandwich with Y belt support (1) and
fasten with screws. Move X belt
support up to 4 peaks left or right to
align mesh. Tighten the 6 screws
SL6041242TN evenly to a torque of
5Nm using Locktite 277.
– Tighten screws SL6061642TN holding
Y belt support (1) at left & right of X
frame end to regulate tension. Refer to
QA Table, X-Y Unit, XY-1, XY Belt
Tension for Timing Belt YB.
1-3

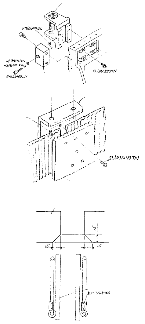
2. Pulley Replacement
(1) XA Pulley Bracket Assy
– Loosen the 4 screws SL6061492TN
that hold the Y-axis cable bearer.
Pull cable bearer away.
SM1050801SC
Tightening torque
9Nm Locktite 242
SL6062042TN
Tightening torque
15Nm Locktite 242
XA pulley
bracket assy
E2420725000
XA pulley base
E2431725000
Timing belt XA
Tightening
torque 9Nm
NM605000SC
XM bracket assy
SM9052003SC
SL6062092TN
Tightening torque 15Nm
Locktite 242
E2422725000
CB support A
SL6051042TN
Tightening torque 4Nm
Locktite 242
SL6061492TN
Tightening torque 15Nm
Y-axis cable bearer
– Loosen 2 each of SL6051042TN and
SM1050801SC that hold CB support
A. Remove CB support A
– Loosen NM6050001SC and
SM8053002TP which holds belt
tension.
– Remove the 4 screws SL6062092TN
which hold XA pulley bracket and the
3 screws SL6062042TN which hold
XA pulley base. Remove XA pulley
bracket assy and replace.
– Reassemble in reverse sequence
and adjust belt tension. Refer to the
QA Table, X-Y Unit, XY-1, XY Belt
Tension for Timing Belt XA.
1-4

(2) XB Pulley Bracket Assy
– Remove the four screws SL6051442TN holding X belt support (1), (7520), (7620) to head plate.
– Loosen lock nut NM6060001SC on XB pulley bracket and loosen SM6064002TN.
– Loosen the 4 screws SL6061692TN
holding XB pulley bracket assy to loosen
belt.
– Remove the 6 screws SL6041242TN
holding X belt support. Remove X belt
support (2) (E2427721000) and belt.
– Remove 2 screws SL6041242TN holding
X tension support and remove X tension
support from right X frame end.
– Remove the 4 screws SL6061692TN form
XB pulley bracket assy. Replace XB pulley
bracket assy.
– Sandwich timing belt with X belt support
(1) and X belt support (2) as shown at right
and fasten with screws. Move X belt
support up to 4 peaks left or right to align
mesh. Tighten the 6 screws SL6041241TN
evenly to a torque of 5Nm using Locktite
277.
– Fasten X tension support to right X frame
end with the 4 screws SL6061642TN.
– SL6051442TN holds X belt support (1) to
head plate and regulates tension. Refer
to the QA Table, X-Y Unit, XY-1, XY Belt Tension for Timing Belt XB.
SL6051442TN
X belt support (1)
(7520)
(7620)
E2427721000
X belt support (2)
Timing belt XB
XB pulley
bracket
assy
SL6051042TN
(Tightening torque 9Nm)
WS0610002KN
SM6064002TN
WP0641601SC
E2407725000
X tension support
SL6061642TN
SL6061642TN
(Tightening torque 15Nm)
SL6061642TN
(Tightening torque
15Nm)
XB support
E2419725000
SL6051642TN (Tightening torque 9Nm)
1-5