KE-750_MS - 第13页
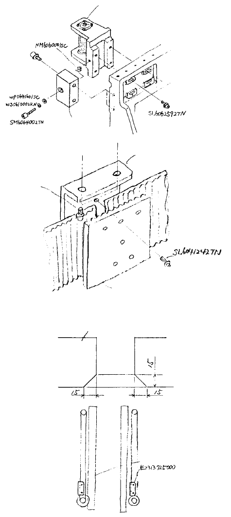
(4) YB Pulley Bracket Assy – Remove the 2 screws SL6061642TN holding Y belt support (1) at left & right of X frame end. (Tightening torque 15Nm) Y tension support E2315725000 Y belt support (1) Timing belt YB Y belt …

(3) YA Pulley Bracket Assy
SM604002TN
NM606000SC
YB pulley bracket ass
y
(L/R)
SL6041242TN
(Tightening torque 5Nm
Be sure to tighten evenly.
Use Locktite 277)
YM bracket assy
Parallel
pins
SL6061642TN
(Tightening torque
15Nm)
SL6061642TN
(Tightening torque
15Nm)
YA pulley bracket assy
Y belt support (2)
Y belt support (1)
SL6061642TN
(Tightening torque
15Nm)
SL6062592TN
(Tightening torque
15Nm)
Y tension support
E2315725000
SL6062542TN
(Tightening torque
15Nm)
– Remove the 2 screws
SL6061642TN holding Y
belt support (1) at left & right
of X frame end.
– Loosen lock nut
NM6060001SC at left & right
of YB pulley bracket and
loosen SM6064002TN.
– Loosen the 4 screws
SL6062592TN holding YB
pulley bracket to loosen belt.
– Remove the 6 screws
SL6041242TN holding Y
belt support and remove Y
belt support (2).
– Loosen NM6050001SC
(lock nut) & SM8053002TN.
Remove SL6061642TN
which holds YM bracket.
– Remove the 4 screws
SL6061642TN and replace
YA pulley bracket assy.
– Insert 4 spring pins in YA
pulley bracket and tighten
screws. Make sure pulley
YA movement is smooth.
– Reassemble in reverse
sequence and adjust timing
belt YA/YB tension. Refer to
the QA Table, X-Y Unit,
XY-1, XY Belt Tension.
1-6

(4) YB Pulley Bracket Assy
– Remove the 2 screws SL6061642TN
holding Y belt support (1) at left & right
of X frame end.
(Tightening torque
15Nm)
Y tension support
E2315725000
Y belt support (1)
Timing belt YB
Y belt support (2)
Y belt support (1)
SL6061642TN
(Tightening torque
15Nm)
SL6062542TN
(Tightening torque
15Nm)
YB pulley bracket
assy (L/R)
– Loosen lock nut NM6060001SC at left
& right of YB pulley bracket and
loosen SM6064002TN.
– Loosen the 4 screws SL6062592TN
holding YB pulley bracket to loosen
belt.
– Remove the 6 screws SL6041242TN
holding Y belt support and remove Y
belt support (2).
– Remove the 4 screws SL6062592TN
and replace YB pulley bracket assy.
– Pass belt through pulleys YA & YB,
sandwich with Y belt support (1) and
fasten with screws. Move X belt
support up to 4 peaks left or right to
align mesh. Tighten the 6 screws
SL6041242TN evenly to a torque of
5Nm using Locktite 277.
– Tighten screws SL6061642TN holding
Y belt support (1) at left & right of X
frame end to regulate tension. Refer
to the QA Table, X-Y Unit, XY-1, XY
Belt Tension for Timing Belt YB.
1-7

3. Servo Motor Replacement
(1) X Motor
– Loosen lock nut NM6050001SC
and SM8053002TP.
80 kg•cm
Wide
Narrow
E9611721000
(Tightening torque
9Nm)
E9611721000
X-axis motor
XM bracket
E2408725000
Left X frame end
SL6051492TN
SM8053002TP
NM6050001SC
XM bracket assy
XA pulley bracket assy
– Remove the 4 screws
SL6051492TN holding XM bracket
assy to left of X frame end and
remove bracket.
– Replace motor as shown in the
diagram while taking care to note
hole & tap positioning as well as
motor cable orientation.
– Remove pulley M and ETP bush
above motor axis and replace.
(Refer to separate section for
mounting & disassembly of ETP
bush.)
– Mount belt on pulley and
provisionally tighten screws
SL6051492TN.
– Regulate belt tension. Refer to the
QA Table, X-Y Unit, XY-1, XY Belt
Tension for Timing Belt XA.
1-8