KE-750_MS - 第15页
(2) Y Motor SL6051492TNx4 (Tightening torque 9Nm) Y-axis motor KM000000020 YM bracket E2305725000 YM bracket assy SM8053002TP SN6050001SC Parallel pins SL6061642TN (Tightening torque 15Nm) SL6061642TN (Tightening torque …

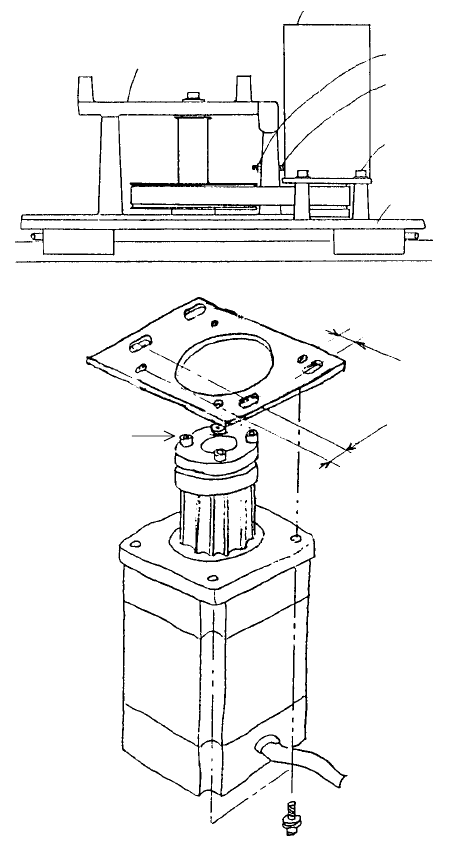
3. Servo Motor Replacement
(1) X Motor
– Loosen lock nut NM6050001SC
and SM8053002TP.
80 kg•cm
Wide
Narrow
E9611721000
(Tightening torque
9Nm)
E9611721000
X-axis motor
XM bracket
E2408725000
Left X frame end
SL6051492TN
SM8053002TP
NM6050001SC
XM bracket assy
XA pulley bracket assy
– Remove the 4 screws
SL6051492TN holding XM bracket
assy to left of X frame end and
remove bracket.
– Replace motor as shown in the
diagram while taking care to note
hole & tap positioning as well as
motor cable orientation.
– Remove pulley M and ETP bush
above motor axis and replace.
(Refer to separate section for
mounting & disassembly of ETP
bush.)
– Mount belt on pulley and
provisionally tighten screws
SL6051492TN.
– Regulate belt tension. Refer to the
QA Table, X-Y Unit, XY-1, XY Belt
Tension for Timing Belt XA.
1-8

(2) Y Motor
SL6051492TNx4
(Tightening torque
9Nm)
Y-axis motor
KM000000020
YM bracket
E2305725000
YM bracket assy
SM8053002TP
SN6050001SC
Parallel
pins
SL6061642TN
(Tightening
torque 15Nm)
SL6061642TN
(Tightening torque 15Nm)
YA pulley bracket assy
– Loosen lock nut NM6050001SC and
SM8053002TP.
– Remove 4 screws SL6061642TN fastening
YM bracket assy Y frame and remove
bracket.
– Replace motor as shown in the diagram
while taking care to note motor & bracket
positioning. (Assemble so that motor cable
faces bracket motor mounting face.)
– Remove pulley M and ETP bush above
motor axis and replace. (Refer to separate
section for mounting & disassembly of ETP
bush.)
– Mount belt on pulley, insert parallel pin into
slot and provisionally tighten screws
SL6061642TN.
– Regulate belt tension. Refer to the QA Table,
X-Y Unit, XY-1, XY Belt Tension for Timing
Belt XA.
1-9

4. Magnescale Replacement
– For method of adjustment & tension settings, refer to QA Table, X-Y Unit, XY-7, Magnescale /
Fastening position / Clearance.
5. Limit Sensor Replacement
(1) X-axis limit
Right X frame end
SM7860801SC
SL5020892TN
(Tightening torque 1Nm)
E2435725000
X limit bracket
SL5020892TN
(Tightening torque 1Nm)
SM7860801SC
E2435725000
X limit bracket
Left X frame end
– Remove sensor SM4860801SC from X-limit bracket and replace.
(2) Y-axis limit
– Remove sensor SM4860801SC from Y-limit bracket and replace.
E2324725000
Y limit bracket
Linear motion
guide rail
For replacement & adjustment of both left & right sensors, refer to the QA Table, X-Y Unit, XY-9,
Limit sensor positioning" under XY Unit, XY-9 in the QA table.
1-10