KE-750_MS - 第19页
Chapter 2 Head Unit 1. Head Unit Replacement & Subsequent Adjustment LAHD Head Head plate Positioning pin Head up SP Spring stud LAHD senso r θ -axis moto r (SL6051042TN) SEMS cap screws Z-axis moto r Fig. 2-1-1 1-13

7. Cable Bearer Replacement
SL6061492TN
Tightening torque 15Nm
E2331715000
Y-axis cable bearer
(assy)
SL6051642TN
Tightening torque 9Nm
SL6051042TN
Tightening torque 9Nm
SL6051642TN
Tightening torque
9Nm
SL6061192TN
Tightening torque 15Nm
E2332715000
CB spacer
E2437725000
CB guide
E2331715000
Y-axis cable
bearer (assy)
SL6051042TN
Tightening torque
9Nm
E2418725000
Rail support
SL6061042TN
Tightening torque 15Nm
E2424725000
Rubber stopper
E2433725000
Rail support spacer
E2433725000
Rail support spacer
E2422725000
CB support A
Tightening
torque 9Nm
Locktite
242
SL6051642TN
Tightening torque
9Nm
SL6051042TN
Tightening torque
9Nm
Locktite 242
SM1050801SC
E2332715000
CB spacer
– Remove screws SL6061492 (4 pcs. each above & below) which hold cable bearer.
– Remove cable bearer arm and replace wire bundle.
– After replacement, move X & Y axes to be sure that cable bearer is free and clear.
– Lightly coat space between X-axis cable bearer & rail support with grease.
1-12

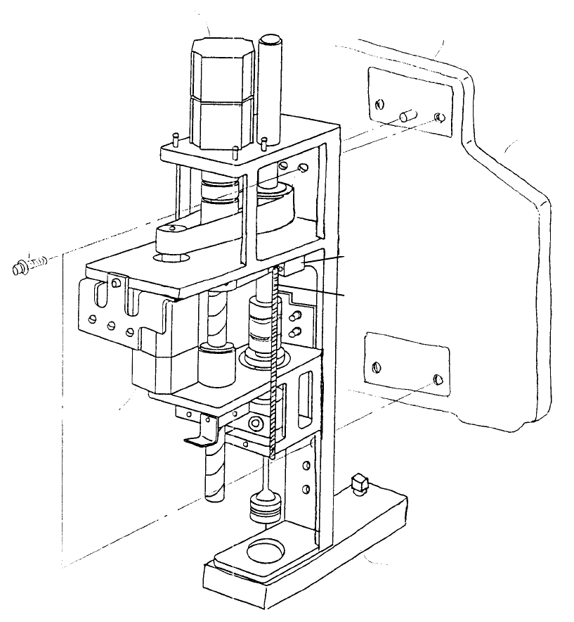
Chapter 2 Head Unit
1. Head Unit Replacement & Subsequent Adjustment
LAHD Head
Head plate
Positioning pin
Head up SP
Spring stud
LAHD senso
r
θ-axis moto
r
(SL6051042TN)
SEMS cap screws
Z-axis moto
r
Fig. 2-1-1
1-13

LA Head
Head plate
Positioning pin
Head up SP
Spring stud
LA senso
r
θ-axis moto
r
(SL6051042TN)
SEMS cap screws
Z-axis moto
r
Fig. 2-1-2
1-14