KE-750_MS - 第46页
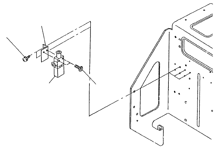
3. Ejector Replacement SEMS screw SL4031691SC SEMS scre w SL4030681SC Ejector bracket E2508725000 Ejecto r E3066700000 Fig. 3-3-1 - ATC Nozzle Setup - Vacum value without Nozzle 1-39


3. Ejector Replacement
SEMS screw
SL4031691SC
SEMS scre
w
SL4030681SC
Ejector bracket
E2508725000
Ejecto
r
E3066700000
Fig. 3-3-1
- ATC Nozzle Setup
- Vacum value without Nozzle
1-39

4. Union Filter Replacement
SEMS scre
w
SL4040891SC
A
ir mount plate
E2501725000
Union filte
r
PF010001000
Fig. 3-4-1
Should air tube become dirty, remove and replace with new tubing.
Note: When replacing, orient air filter hole (A) downwards.
A
ir tube
(A)
Elemen
t
A
ir tube
Fig. 3-4-2
1-40