KE-750_MS - 第49页
6. Bad Mark Sensor Replacement 6-1 Sensor replacement (Supplied with fiber) Inner toothed washe r Hex nut BM lens holde r E3291725000 SEMS cap screw x 2 SL6030692TN Hex nut (Supplied with fiber) Fibe r To amp Main OCC Ca…

5. Pressure Sensor Replacement
A
ir mount plate
Head pressure
sensor assy
SEMS scre
w
SL4031891SL
Elbow union
KJ304040504
Fig. 3-5-1
Head 2 pressure
sensor assy
E93187250A0
Head 3 pressure
sensor assy
E93217250A0
Head 1 pressure
sensor assy
E93157250A0
1-41

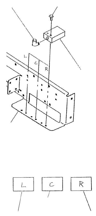
6. Bad Mark Sensor Replacement
6-1 Sensor replacement
(Supplied
with fiber)
Inner toothed
washe
r
Hex nut
BM lens holde
r
E3291725000
SEMS cap screw x 2
SL6030692TN
Hex nut
(Supplied
with fiber)
Fibe
r
To amp
Main OCC
Camera bracket D
E3809725000
Fig. 3-6-1
Using the nut and washer supplied, fasten fiber to the dimension shown at right and attach zoom head.
Fig. 3-6-2
1-42

6-2 Amp Replacement
Bad mark senso
r
cable assy
E95747250A0
SEMS cap scre
w
SL4030581SC
Bad mark senso
r
accessory (Supplied)
Head top plate
E2502725000
Fig. 3-6-3
Amp settings (Preset at factory. No adjustment necessary.)
Mode switch -> AUTO
Operation mode switch -> L. ON
Output timer switch -> NORMAL
Set buttonSurplus display?? displayReceptor level display Set display
(red LED)(green LED)(red LED)(green LED)
Fig. 3-6-4
1-43