KE-750_MS - 第51页
6-3 Sensor Height Adjustment (Only w hen sensor replaced) Refer to QA Table, Bad Mark Sensor, Sensor height. After adjustment, enter MS parameters. For entry refer to MS parameter operation specif ications 4 - 12 - 2 Bad…

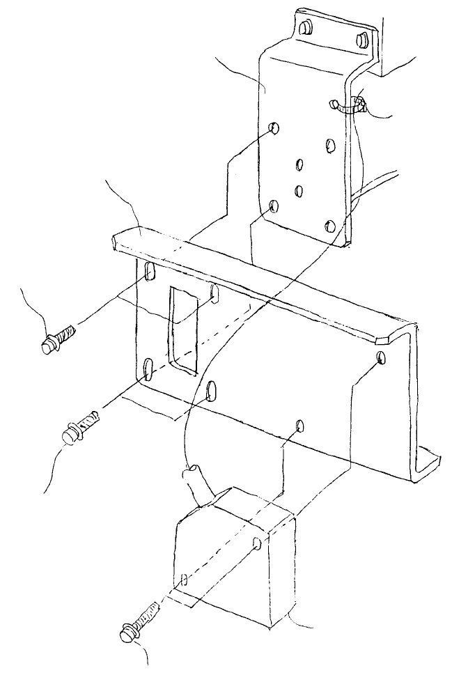
6-2 Amp Replacement
Bad mark senso
r
cable assy
E95747250A0
SEMS cap scre
w
SL4030581SC
Bad mark senso
r
accessory (Supplied)
Head top plate
E2502725000
Fig. 3-6-3
Amp settings (Preset at factory. No adjustment necessary.)
Mode switch -> AUTO
Operation mode switch -> L. ON
Output timer switch -> NORMAL
Set buttonSurplus display?? displayReceptor level display Set display
(red LED)(green LED)(red LED)(green LED)
Fig. 3-6-4
1-43
6-3 Sensor Height Adjustment (Only when sensor replaced)
Refer to QA Table, Bad Mark Sensor, Sensor height.
After adjustment, enter MS parameters.
For entry refer to MS parameter operation specifications 4 - 12 - 2 Bad mark sensor offset.
1-44

7. HMS Replacement (Optional)
HMS is adjusted with the sensor and amp. Sensor and amp are always replaced simultaneously (It is not
possible to change only one.)
7.1 HMS sensor replacement
Laser senso
r
SEMS cap screw x 2
SL6042592TN
SEMS cap screw x 2
SL6030692TN
(SEMS cap screw x 2)
SL6030892TN
Fastened with cable tie
Model 750: HMS holder (750)
E3651725000
Model 760: HMS holder (760)
E3652725000
Camera bracket D
E3809725000
Fig. 3-7-1
1-45