KE-750_MS - 第60页
2. CCD Camera / Lens Replacement (1) Follow the instructions in 4 - 1 to remove camera unit assy from head plate. (2) Remove SEMS cap screws (1) holding CCD camera block and lens holder to replace. Set lens length at 72.…

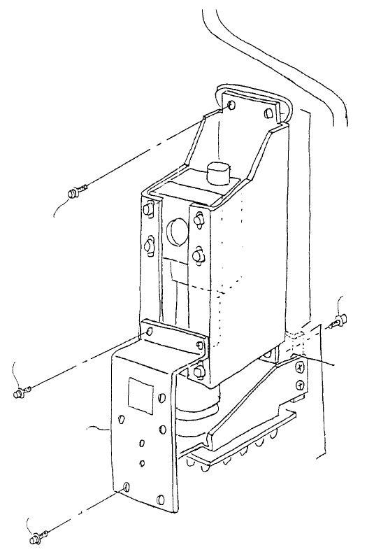
1-2 Sub OCC Unit
(1) Remove SEMS cap screws (1), (2) and remove camera bracket D.
(2) Camera unit assy is held by the 4 SEMS cap screws (3) and light unit assy is held by the 2 SEMS
cap screws (4). Remove connectors before removing and replacing both assemblies.
(3) Reassemble in reverse sequence.
(4) After replacing camera unit assy, adjust focus and enter MS parameters. After replacing light unit
assy, adjust polarizing filter and OCC light. (Refer to 4 - 7 Summary of Readjustments Required
after Replacement.)
Camera bracket D
E3809725000
Left light unit ass
y
E38117250A0
SEMS cap screw x 2
SL6041092TN
SEMS cap screw x 2
SL6030692TN
SEMS cap screw x 4
SL6041092TN
SEMS cap screw x 2
SL6030892TN
Camera unit ass
y
E38017250A0
Head plate
Fig. 4-1-2
1-52

2. CCD Camera / Lens Replacement
(1) Follow the instructions in 4 - 1 to remove camera unit assy from head plate.
(2) Remove SEMS cap screws (1) holding CCD camera block and lens holder to replace. Set lens
length at 72.5 ア0.05mm (Dia. 4 - 2 - 2). (Refer to QA Table, OCC lens length.)
(3) Reassemble in reverse sequence. Select a shim from among A~D that does not squeeze lens.
(4) After replacing camera unit assy, adjust focus and enter MS parameters. (Refer to 4 - 7 Summary of
Readjustments Required after Replacement.)
Fig. 4-2-2
Loosen the 3 screws for (a) and
rotate knob. Adjust lens length to
72.5±0.05mm.
(a)
Knob
Camera U bracket
E3802725000
Lens hold plate
E3808721000
Lens holde
r
E3803721000
SEMS cap x 2 pcs.
SL6030692TN
Lens
E9618721000
CCD camera
E9617721000
SEMS cap screw x 6
SL6041092TN
Shims A, B, C, D
A
llen head scre
w
Use Locktite 242
SM60207252TP
CCD camera bloc
k
E3853715000
Shim A E3804721000 t0.05
Shim B E3805721000 t0.01
Shim C E3806721000 t0.3
Shim D E3807721000 t0.5
Select a shim from among A~D that does not squeeze lens. (Gap spec. is 0.5mm.)
Fig. 4-2-1
1-53

3. OCC Light PWB Replacement
3-1 Main OCC Unit
(1) Follow the instructions in 4 - 1 to remove camera unit assy from head plate.
(2) Remove the 4 plate screws (1) and left light unit support. Replace OCC light PWB assy.
(3) Reassemble in reverse sequence.
(4) After replacing camera unit assy, adjust focus and enter MS parameters. (Refer to 4 - 7 Summary
of Readjustments Required after Replacement.)
Light filter
E2863721000
Hex worm screw
SM803612TP
SEMS cap x 4
SL6030592TN
Lens filter
E3861721000
Truss screw x 4
SM0020401SC
Filter holde
r
E3862721000
Mirror box support assy
E38137250A0
SEMS cap x 4
SL6031492TN
Head plate
Plate screw x 4
SM1030601SC
OCC light PWB assy
E86127210A0
SEMS cap x 2
SL6041092TN
Left light unit support
E3812725000
Spacer
HX00335000E
Undercove
r
E3857721000
Washer
HX002880000
Pot screw x 2
SM4030401SC
Plate screw x 2
SM1030501SC
OCC lens diffuse
r
E3858721000
Frame anti-
vibration rubber
11804606
Mirror box
E3853725000
Cloth pape
r
E3856721000
Beam splitter
E3855721000
Fig. 4-3-1
1-54