KE-750_MS - 第74页
12. SV Cable Assy Replacement (1) Close main air supply valve and remove tube from SV. (2) Remove connector at lower end of SV. (3) Loosen SV mounting screw and replace SV. 13. Centering Pin Replacement (1) Loosen screw …

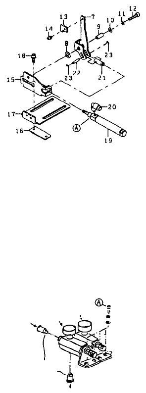
10. X Pusher Cylinder Replacement
(1) Loosen nut (A) as shown in diagram.
(2) Loosen nut (27) and replace cylinder.
(3) Reassemble in reverse sequence. Cylinder screw should penetrate (21) so that when air is
supplied, (7) is 1/2 rotation past vertical.
(4) Supply air and check that all movements are smooth.
11. Pressure Reduction Valve Replacement
(1) Remove tube and screw (A) as shown and replace pressure reduction valve.
(2) Standard settings for pressure reduction valve are:
Pusher X side (right side) 0.35MPa
Pusher Y side (left side) 0.5MPa
1-66

12. SV Cable Assy Replacement
(1) Close main air supply valve and remove tube from SV.
(2) Remove connector at lower end of SV.
(3) Loosen SV mounting screw and replace SV.
13. Centering Pin Replacement
(1) Loosen screw (1) and remove T-PIN sensor from each (2).
(2) Loosen screw (3) and remove centering pins from guide block and damper block.
(3) Loosen screw (4) and remove E-ring (5).
(4) Replace centering pins.
(5) Reassemble in reverse sequence.
1-67

14. Shock Absorber Replacement
(1) Put table in DOWN position.
(2) Loosen shock absorber peripheral nut from the bottom of the conveyor unit and replace shock
absorber.
(3) For instructions on adjusting positioning of shock absorber, refer to QA Table, Conveyor No. 4.
UP speed adjus
t
Lock scre
w
A
djust scre
w
DOWN speed adjus
t
Shock absorber nut
BU damper collar
Rail guide shaft
Mounting face for rail guide PWB guide
SM8040502TP Rail guide shaft adjust screw
15. Rail Plate Levelling
(1) Loosen stop screws in base bars BL & BR.
(2) For instructions on levelling refer to QA Table, Conveyor No. 3.
Mount dial gauge onto camera bracket D of the head and adjus
t
parallelism between the section indicated below and the X axis. to
[//|0.1]. Tighten stop screw (SL6104042TN) in base bar B.
Measure fo
r
parallelism here.
1-68