KE-750_MS - 第78页
2. Ejector Replacement (1) Repeat steps (1)~(4) in the previous section to remove CAL side cover. (2) Remove the 2 M3 SEMS cap screws and replace ejector. (3) To reassemble, follow steps (1)~(4) in the previous section i…

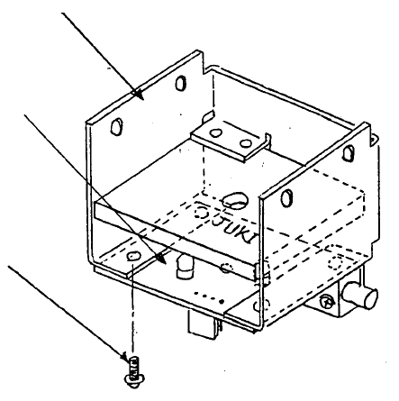
(5) Remove the 4 M3 SEMS cap screws holding the CAL block PWB and remove PWB.
(6) To reassemble, follow steps (1)~(4) in reverse sequence.
(7) Pull on the φ4mm tube from below to remove slack inside the CAL side cover.
CAL block PWB
(E86097210A0)
CAL side cove
r
(E3604721000)
M3 SEMS cap scre
w
Fig. 6-1-2
1-70

2. Ejector Replacement
(1) Repeat steps (1)~(4) in the previous section to remove CAL side cover.
(2) Remove the 2 M3 SEMS cap screws and replace ejector.
(3) To reassemble, follow steps (1)~(4) in the previous section in reverse sequence.
(4) Pull on the φ4mm tube from below to remove slack inside the CAL side cover.
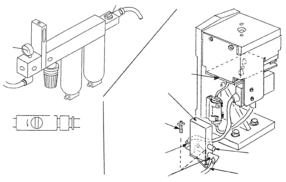
M3 SEMS cap scre
w
Ejecto
r
Fig. 6-2-1
1-71

3. CAL Vacuum ON Cable Replacement
(1) Close hand valve at back of main body.
(2) Disconnect both φ6mm air tubes from elbow unions.
(3) Disconnect cable of CAL vacuum ON cable assy from CAL block PWB assy.
(4) Remove the 2 SEMS cap screws and remove CAL vacuum ON cable assy.
Silence
r
PX058001000
φ 6mm air tube
PJ304065101
Elbow union
PJ304040505
M3 SEMS cap scre
w
CAL vacuum
ON cable assy
E93677250A0
CAL bloc
k
PWB assy
1. Hand valve
(A) When closed
Hand valve
Fig. 6-3-1 Fig. 6-3-2
1-72