P-0227-001 - 第110页
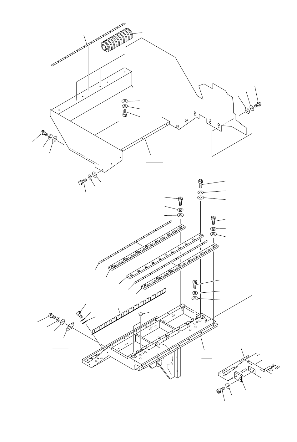
MODEL TCM-3200J 0102-001 108 部品供給部 FEEDER CARRIAGE SECTION Fig. 5-2 リールユニット Feeder Carriage Fig.5-2 TCM-3200J 90 90 32 33 33 39 40 40 41 38 38 37 36 41 40 39 39 31-1 31-1 31-2 31-2 . 10 9 8 5 4 3 14 13 12 90 11 6 90 90 2…

MODEL TCM-3200J
0102-001
Key No. PART No. PART NAME Q’ty REMARKS
NOTE
107
5-1
1 630 091 0537 BALL SCREW 1 759C--01H-001
2 630 047 9454 BRACKET 2 759C--01B-035
3 630 046 6874 COLLAR 2 759C--01B-037
4 630 046 6805 BEARING,PARTS 2 759C--01B-038
6 411 141 4503 WASHER V 8X17X1.6 4 FW8
7 411 141 3100 WASHER SPR 8 4 SW8
8 630 000 8043 BOLT,HEX-SCT 4 M8X35
9 630 032 5379 PIN,LOCATE 4 759C--01H-007
10 411 141 4800 WASHER V 12X24X2.5 8 FW12
11 411 141 3308 WASHER SPR 12 8 SW12
12 630 000 8241 BOLT,HEX-SCT 8 M12X40
21 630 091 3538 GUIDE,LINEAR 2 759C--01H-002
22 630 000 7770 BOLT,HEX-SCT 74 M5X20
31 630 047 6811 BRACKET 5 759C--01B-034
32 630 000 0252 SENSOR,PHOTO 8 PHS24, 25, 28, 29, 30, 31, 32, 33
759C--01H-005
33 630 000 0269 SENSOR,PHOTO(CONNECTOR) 8 759C--01H-006
34 411 119 1909 WASHER V 3X7X0.5 32 FW3 F
35 411 086 4408 WASHER SPR 3 16 SW3 F
36 411 040 7803 SCR PAN 3X12 16 M3X12 PAN
37 411 141 4107 WASHER V 5X10X1 10 FW5
38 411 141 6705 WASHER SPR 5 10 SW5
39 630 000 7749 BOLT,HEX-SCT 10 M5X10
41 630 054 9973 BLOCK 4 759C--01B-031
42 630 048 4052 MECH PARTS(URETHANES) 4 759C--01H-016
43 630 000 7879 BOLT,HEX-SCT 4 M6X12
44 411 141 4701 WASHER V 10X21X2 8 FW10
45 411 141 3209 WASHER SPR 10 8 SW10
46 630 000 8142 BOLT,HEX-SCT 8 M10X35

MODEL TCM-3200J
0102-001
108
部品供給部 FEEDER CARRIAGE SECTION
Fig. 5-2 リールユニット Feeder Carriage
Fig.5-2
TCM-3200J
90
90
32
33
33
39
40
40
41
38
38
37
36
41
40
39
39
31-1
31-1
31-2
31-2
.
10
9
8
5
4
3
14
13
12
90
11
6
90
90
2
23
22
21
21
20-1
.
20-2
15
15
19
18
18
17
17
27
27
53
52
51
26
26
25
25
1-1
1-1
1-2
1-2
1-2
1-2
.
24
24
34
34
35
35

MODEL TCM-3200J
0102-001
Key No. PART No. PART NAME Q’ty REMARKS
NOTE
109
5-2
1 -1 630 091 4658 BASE 1 759C--01B-001
1 -2 630 091 4665 BASE 1 759C--01B-002
2 630 091 4672 PLATE 2 759C--01B-003
3 411 141 4008 WASHER V 4X9X0.8 14 FW4
4 411 141 2905 WASHER SPR 4 14 SW4
5 630 000 7633 BOLT,HEX-SCT 14 M4X12
6 630 091 4689 PLATE 2 759C--01B-005
8 411 141 4107 WASHER V 5X10X1 22 FW5
9 411 141 6705 WASHER SPR 5 22 SW5
10 630 000 7763 BOLT,HEX-SCT 22 M5X16
11 630 091 4696 PLATE 2 759C--01B-007
12 411 141 4008 WASHER V 4X9X0.8 14 FW4
13 411 141 2905 WASHER SPR 4 14 SW4
14 630 000 7633 BOLT,HEX-SCT 14 M4X12
15 630 091 4702 SUPPORT 2 759C--01B-009
17 411 141 4107 WASHER V 5X10X1 8 FW5
18 411 141 6705 WASHER SPR 5 8 SW5
19 630 000 7756 BOLT,HEX-SCT 8 M5X12
20 -1 630 047 6798 BRACKET 1 759C--01B-032
20 -2 630 047 6804 BRACKET 1 759C--01B-033
21 411 141 4008 WASHER V 4X9X0.8 4 FW4
22 411 141 2905 WASHER SPR 4 4 SW4
23 630 000 7619 BOLT,HEX-SCT 4 M4X8
24 411 141 4107 WASHER V 5X10X1 32 FW5
25 411 141 6705 WASHER SPR 5 32 SW5
26 630 000 7763 BOLT,HEX-SCT 32 M5X16
27 630 005 4057 ACCESSORY,SW 4 759C--01H-022
31 -1 630 091 4719 SUPPORT 1 759C--01B-011
31 -2 630 091 4726 SUPPORT 1 759C--01B-012
32 630 055 1792 SUPPORT 6 759C--01B-013
33 411 141 4305 WASHER V 6X12.5X1.6 12 FW6
34 411 141 3001 WASHER SPR 6 12 SW6
35 630 000 7886 BOLT,HEX-SCT 12 M6X16
36 411 141 4305 WASHER V 6X12.5X1.6 8 FW6
37 411 141 3001 WASHER SPR 6 8 SW6
38 630 000 7879 BOLT,HEX-SCT 8 M6X12
39 411 088 1702 WASHER V 5X10X1 16 FW5 F
40 411 008 2109 WASHER SPR 5 16 SW5 F
41 411 140 4900 BOLT HEX 5X12 16 M5X12 HEX
51 630 056 1050 PLATE 1 759C--01B-014
52 411 141 4008 WASHER V 4X9X0.8 2 FW4
53 630 000 7626 BOLT,HEX-SCT 2 M4X10
90 630 091 3873 NAME PLATE,INDEX 6 759C--01H-024