P-0227-001 - 第256页
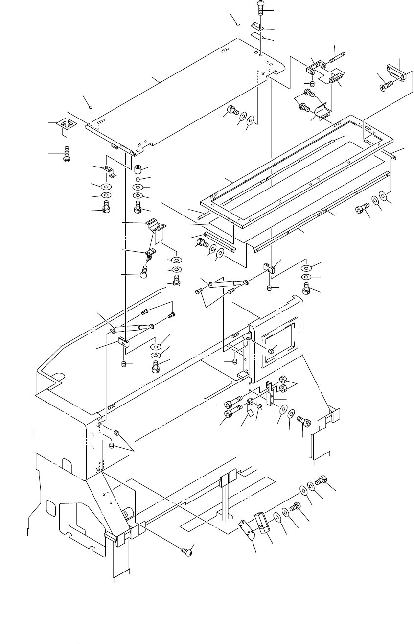
MODEL TCM-3200J 0102-001 254 カバー部 COVER SECTION Fig. 12-5 前扉 Front Cover 1 27 28 14 14 15 17 17 16 16 18 18 19 19 20 20 17 17 11 12 12 13 13 3 3 2 2 4 4 5 5 6 6 35 30 30 31 32 33 36 36 30 30 18 18 19 19 20 20 35 36 31 31…

MEMO

MODEL TCM-3200J
0102-001
254
カバー部 COVER SECTION
Fig. 12-5 前扉 Front Cover
1
27
28
14
14
15
17
17
16
16
18
18
19
19
20
20
17
17
11
12
12
13
13
3
3
2
2
4
4
5
5
6
6
35
30
30
31
32
33
36
36
30
30
18
18
19
19
20
20
35
36
31
31
32
32
33
33
39
40
40
41
41
42
49
49
50
50
51
51
52
52
53
53
54
54
55
55
56
56
43
44
44
45
45
46
47
36
36
36
36
34
34
34
23
24
7
7
9
9
10
10
22
22
21
21
8
8
25
25
23-1
23-1
23
23
26
26
26
16
16
16
16
16
62
62
63
63
64
64
65
65
57
57
50
50
61
61
58
58
59
59
60
60
66
66

MODEL TCM-3200J
0102-001
Key No. PART No. PART NAME Q’ty REMARKS
NOTE
255
12-5
1 630 058 0921 COVER 1 759R--01B-051
2 630 035 7219 MECH PARTS(URETHANES) 2 759R--01H-011
3 630 038 9708 COLLAR 2 759R--01B-060
4 411 141 4008 WASHER V 4X9X0.8 2 FW4
5 411 141 2905 WASHER SPR 4 2 SW4
6 630 000 7664 BOLT,HEX-SCT 2 M4X20
7 630 051 3578 SUPPORT 2 759R--01B-053
8 630 051 3585 SUPPORT 2 759R--01B-065
9 630 038 9715 PIN,HINGE 2 759R--01B-059
10 630 000 8920 SET SCREW 4 M4X6 SET
11 411 141 4107 WASHER V 5X10X1 4 FW5
12 411 141 6705 WASHER SPR 5 4 SW5
13 630 000 7756 BOLT,HEX-SCT 4 M5X12
14 630 058 2086 COVER 1 759R--01B-052
15 630 058 0938 COVER 1 759R--01B-061
16 630 051 3592 SUPPORT 4 759R--01B-062
17 630 051 3608 SUPPORT 2 759R--01B-063
18 411 141 4008 WASHER V 4X9X0.8 16 FW4
19 411 141 2905 WASHER SPR 4 16 SW4
20 630 000 7619 BOLT,HEX-SCT 16 M4X8
21 630 051 3561 SUPPORT 2 759R--01B-054
22 411 113 9109 SCR TRS 5X10 12 M5X10 TRS
23 630 003 5032 HANDLE 1 759R--01H-003
23 -1 630 060 3781 PLATE 1 759R--01B-069
24 411 140 7406 SCR FLT 5X20 2 M5X20 FLT
25 411 113 7501 SCR TRS 4X10 2 M4X10 TRS
26 630 013 8986 MECH PARTS(RUBBER CUSHION 2 759R--01H-012
27 630 039 1763 HINGE 2 759R--01B-055
28 411 113 9109 SCR TRS 5X10 12 M5X10 TRS
30 630 038 9571 BLOCK 2 759R--01B-057
31 411 141 4107 WASHER V 5X10X1 4 FW5
32 411 141 6705 WASHER SPR 5 4 SW5
33 630 000 7800 BOLT,HEX-SCT 4 M5X35
34 630 035 6694 SPRING 2 759R--01H-001
35 630 038 9609 PIN,HINGE 4 759R--01B-056
36 630 000 8944 SET SCREW 6 M5X6 SET
39 630 050 7454 BLOCK 1 759R--01B-101
40 411 141 4305 WASHER V 6X12.5X1.6 2 FW6
41 411 141 3001 WASHER SPR 6 2 SW6
42 630 000 7923 BOLT,HEX-SCT 2 M6X35
43 630 039 2104 HOOK 1 759R--01B-102
44 630 038 9861 SPRING,TORSION 1 759R--01B-103
45 630 000 7800 BOLT,HEX-SCT 1 M5X35
46 630 000 7824 BOLT,HEX-SCT 1 M5X45
47 411 141 0505 NUT HEX 5 2 M5
49 630 058 2178 BRACKET 1 759R--01B-068
50 630 058 0457 SWITCH,LIMIT 1 LS14 759R--01H-006
51 411 119 2104 WASHER V 4X9X0.8 2 FW4 F
52 411 008 1706 WASHER SPR 4 2 SW4 F
53 411 161 9007 SCR PAN 4X35 2 M4X35 PAN