P-0227-001 - 第45页
MODEL TCM-3200J 0102-001 Key No . P AR T No. P AR T NAME Q’ty REMARKS NOTE 43 3-8 1 630 048 4724 BASE 1 759KB-01B-024 2 630 048 7435 GUIDE,LINEAR 1 759KB-01H-013 3 630 048 4687 P L A T E 1 759KB-01B-023 4 4 11 1 4 1 40 0…

MODEL TCM-3200J
0102-001
42
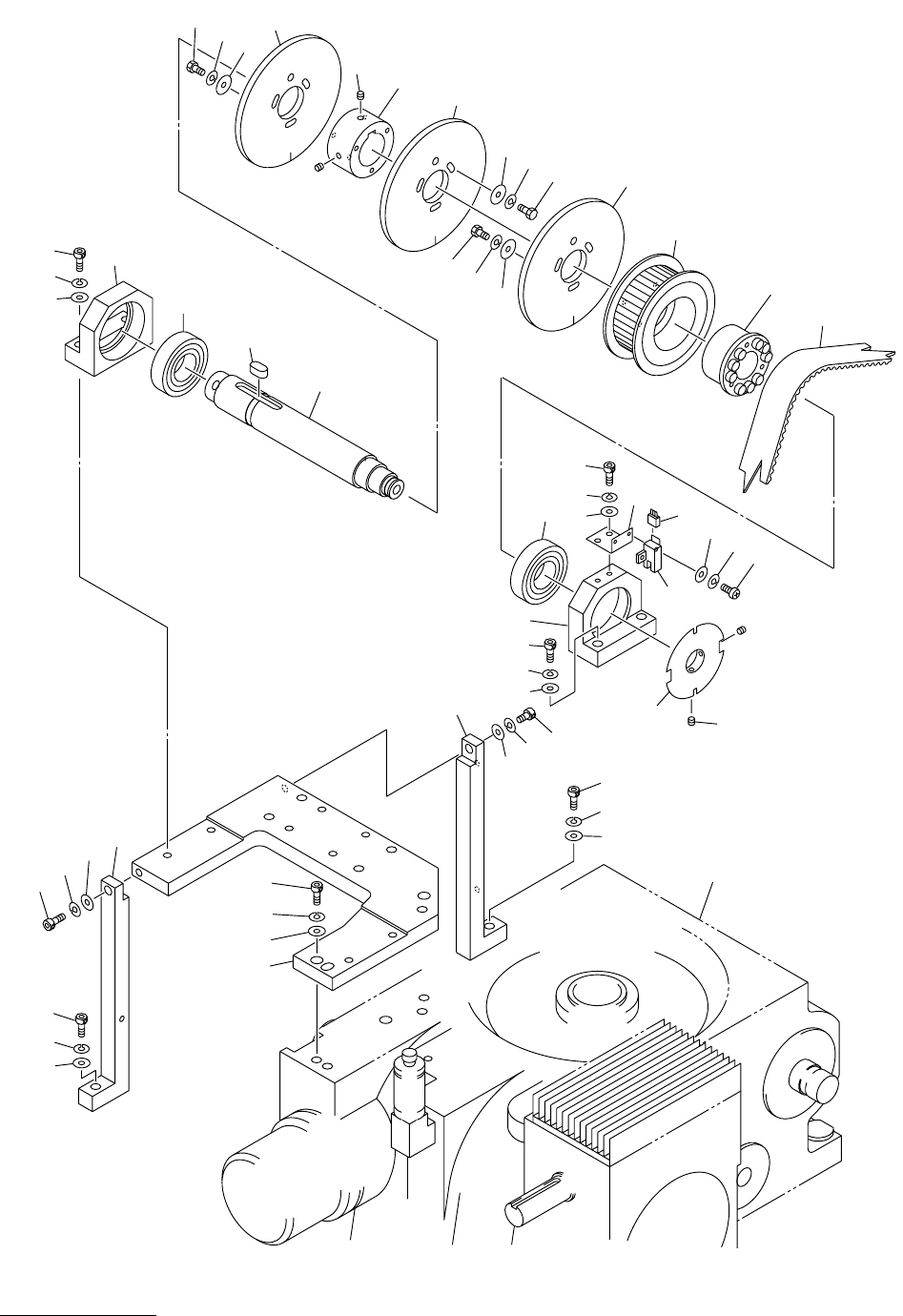
ヘッド駆動部 HEAD DRIVING SECTION
Fig. 3-8 吸着上下補正駆動部 Pick-up Level Adjuster Driver
1
17
19
16
16
18
18
20
20
22
25
25
24
24
23
23
15
15
10
10
11
12
13
13
14
2
7
8
9
3
4
5
6
26
27
27
28
28
31
31
30
30
29
29
33
33
34
35
51
52
53
21
See Fig.2-1
See Fig.2-1
Key No.1
Key No.1
See Fig.1-1
See Fig.1-1
Key No.13
Key No.13
21

MODEL TCM-3200J
0102-001
Key No. PART No. PART NAME Q’ty REMARKS
NOTE
43
3-8
1 630 048 4724 BASE 1 759KB-01B-024
2 630 048 7435 GUIDE,LINEAR 1 759KB-01H-013
3 630 048 4687 PLATE 1 759KB-01B-023
4 411 141 4008 WASHER V 4X9X0.8 2 FW4
5 411 141 2905 WASHER SPR 4 2 SW4
6 630 000 7640 BOLT,HEX-SCT 2 M4X14
7 411 141 3902 WASHER V 3X7X0.5 8 FW3
8 411 141 2806 WASHER SPR 3 8 SW3
9 630 000 7510 BOLT,HEX-SCT 8 M3X8
10 630 048 4762 SPACER 1 759KB-01B-025
11 630 091 2999 MOTOR,AC-SERVO 1 SVM6(CZ), SGMAH-01AAA21
759KB-01H-016
12 411 141 4008 WASHER V 4X9X0.8 2 FW4
13 411 141 2905 WASHER SPR 4 2 SW4
14 630 000 7626 BOLT,HEX-SCT 2 M4X10
15 630 003 1621 COUPLING 1 759KB-01H-015
16 630 048 4779 BRACKET 1 759KB-01B-026
17 630 071 0397 BALL SCREW 1 759KB-01H-014
18 630 000 7633 BOLT,HEX-SCT 4 M4X12
19 630 000 8043 BOLT,HEX-SCT 2 M8X35
20 630 000 7626 BOLT,HEX-SCT 2 M4X10
21 630 048 7527 SHOCK ABSORBER 2 759KB-01H-017
22 630 048 4717 PLATE 1 759KB-01B-028
23 411 141 3902 WASHER V 3X7X0.5 2 FW3
24 411 141 2806 WASHER SPR 3 2 SW3
25 630 000 7510 BOLT,HEX-SCT 2 M3X8
26 630 057 4036 BRACKET 1 759KB-01B-027
27 630 000 0245 SENSOR,PHOTO 3 PHS9,PHS10,PHS11 759KB-01H-011
28 630 000 0269 SENSOR,PHOTO(CONNECTOR) 3 759KB-01H-012
29 411 088 9005 WASHER F 3X6X0.5 6 FWS3 F
30 411 086 4408 WASHER SPR 3 6 SW3 F
31 411 162 1604 SCR PAN 3X20 6 M3X20 PAN
33 411 141 4008 WASHER V 4X9X0.8 2 FW4
34 411 141 2905 WASHER SPR 4 2 SW4
35 630 000 7626 BOLT,HEX-SCT 2 M4X10
51 630 001 0244 WASHER 2 759KB-01H-018
52 411 141 3100 WASHER SPR 8 2 SW8
53 630 000 8036 BOLT,HEX-SCT 2 M8X30

MODEL TCM-3200J
0102-001
44
ヘッド駆動部 HEAD DRIVING SECTION
Fig. 3-9 カム軸- 2 Cam Shaft-2
12
12
13
13
14
14
15
15
16
16
17
17
18
18
19
20
20
21
21
26
26
22
22
23
23
24
24
25
25
27
27
28
29
30
30
33
33
32
32
31
31
41
42
42
43
43
44
45
45
46
47
48
49
34
1
11
10
9
2
3
4
5
8
7
6
Fig.3-9
TCM-3000Z
TCM-3200J
See Fig.2-1
See Fig.2-1
Key No.1
Key No.1
20
20
19
19
18
18
28
33
32
31
5
4
3
8
8
7
7
6
6
2-1
2-1
35