2OM-1321-005_w - 第60页
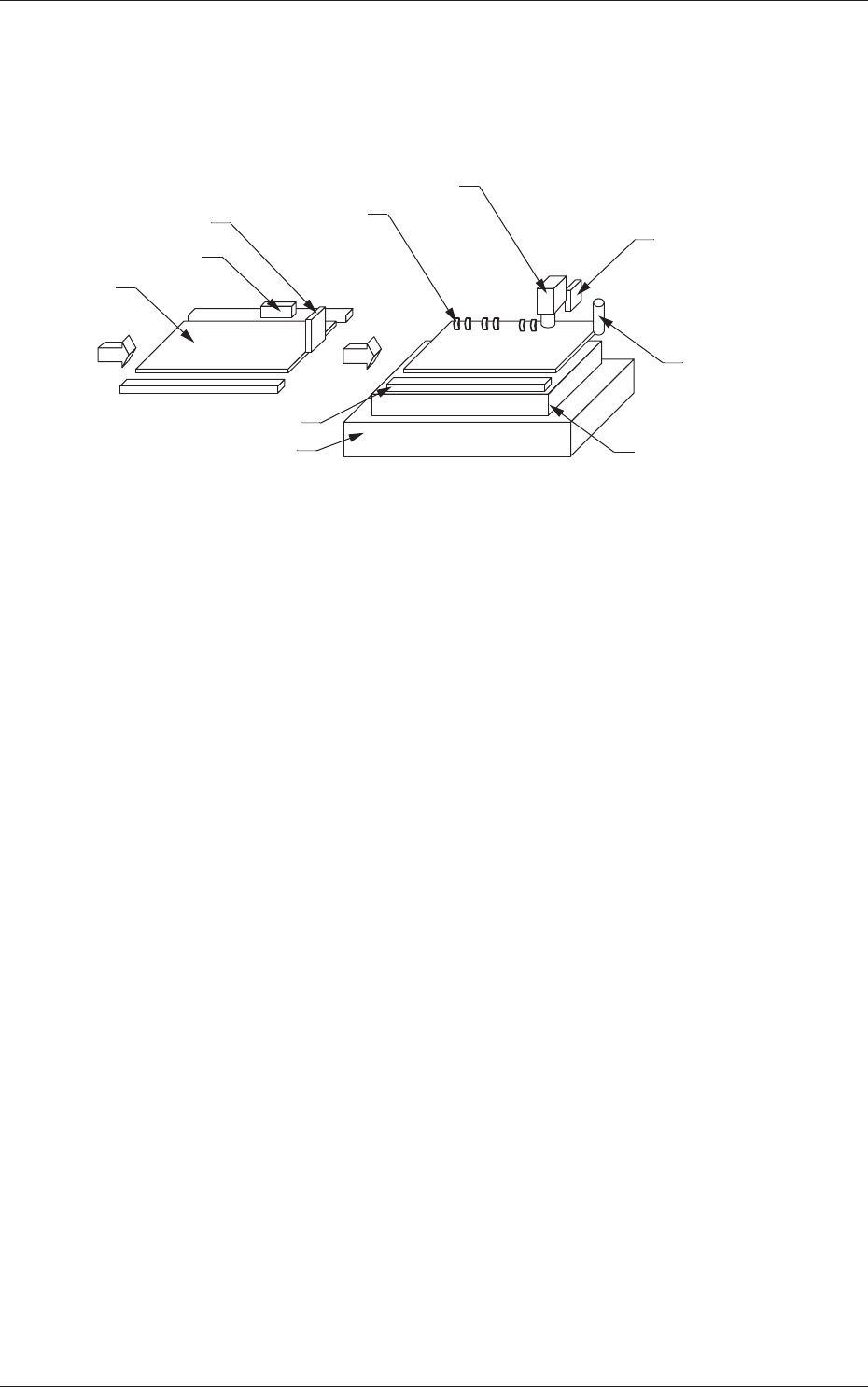
1 - 1 Tg 1298 -ID-OP 1. 動作概要 0602 - 001 1. 動作概要 1.1 基板搬入と基板位置決め 基板 供給側基板検出センサ 基板クランプ テーブル 供給側基板ストッパ 基板反り上押え 基板認識カメラ 基板検出センサ 基板ストッパ 基板バックアップベース Fig. 2A1 (1) 前工程装置より L コンベアに送られた基板がベルトで搬送され て L コンベア上の“供給側基板ストッパ”にあたり、 “供給側基 …

Tg1298-ID-OP
1-B0602-001

1-1
Tg1298-ID-OP
1. 動作概要
0602-001
1. 動作概要
1.1 基板搬入と基板位置決め
基板
供給側基板検出センサ
基板クランプ
テーブル
供給側基板ストッパ
基板反り上押え
基板認識カメラ
基板検出センサ
基板ストッパ
基板バックアップベース
Fig. 2A1
(1) 前工程装置より L コンベアに送られた基板がベルトで搬送され
て L コンベア上の“供給側基板ストッパ”にあたり、“供給側基
板検出センサ”により基板が検出されると、L コンベアが停止し
ます。
(2) 基板位置決め部を乗せたテーブルが基板供給位置まで移動し、
基板認識カメラも基板認識サイズに応じた位置まで移動すると、
“基板ストッパ”が下降します。
(3) “基板ストッパ”の下降後、L コンベアが駆動します。
基板位置決め部のコンベアは、
L コンベアと歯車が噛み合うこと
により駆動します。
このとき、
“基板反り上押え”が下降します。
(4) 基板が基板位置決め部へ移載され、基板認識カメラ駆動部につ
いた“基板ストッパ”にあたり“基板検出センサ”によって基
板が検出されると L コンベアが停止します。
(5) 基板位置決め部の基板バックアップベースが上昇し、
“基板クラ
ンプ”により基板を固定します。
(6) 基板位置決め部の動作が終了すると、“基板反り上押え”と“基
板ストッパ”が上昇します。

1-2
Tg1298-ID-OP
1.2. 基板認識
0602-001
1.2 基板認識
スクリーン
基板
基板認識カメラ
テーブル
Fig. 2A2
(1) 基板認識カメラ駆動部が X および Y 方向へ移動し、2 個のマーク
を認識します。認識後、原点位置に戻ります。
(2) テーブルが印刷位置へ移動した後、“認識結果より算出した値”
だけテーブル X
軸,
θ
軸およびスクリーン
Y 軸が補正され、移動
します。
(3) テーブル Z
軸が“パターンプログラムで設定したギャップ量”
になるまでテーブルが上昇します。