00194044-01 - 第153页
Manuale per l'uso SIPLACE F5 HM 6 Preparazione componenti Versione software SR.408.xx Edizione 03/2006 IT 6.2 Dati tecnici dei caricatori S 153 6.2.18 Supporto per vassoi Con il sup porto per i vass oi si p ossono p…

6 Preparazione componenti Manuale per l'uso SIPLACE F5 HM
6.2 Dati tecnici dei caricatori S Versione software SR.408.xx Edizione 03/2006 IT
152
6.2.17.2 Dati tecnici
6
6
6
6.2.17.3 Parametri dei caricatori Surftape
I parametri dei caricatori Surftape si possono modificare con il calcolatore Pro SIPLACE.
Larghezze della cinghia 8/12/16 mm
Misure consigliate di cinghia e componenti 8 mm: CO 1 x 1 mm² - 2,3 x 2,3 mm²
12 mm: CO 2,3 x 2,3 mm² - 5 x 5 mm²
16 mm: CO 3,8 x 3,8 mm² - 9,5 x 9,5 mm²
Precisione della cinghia dei Bare Die nel
Surftape
Misura del Bare Die fino a 2,3 x 2,3 mm²:
+/- 100 µm, 6 σ
Misura del Bare Die superiore a 2,3 x 2,3 mm²:
+/- 200 µm, 6 σ
(riferita al centro della tasca)
Distanza necessaria del Bare Die- angoli
rispetto alla tasca della cinghia Min. 0,4 mm
Ago d'espulsione Angolo semplice o triplo, secondo le misure del Die
Materiale della cinghia Metrico
Norma della cinghia IEC 286-3, DIN-IEC-286, EIA 481 e JIS C 0806
Diametro del rotolo della cinghia 7" fino a 15"
Superficie di appoggio del caricatore 1 posto nel tavolo dei componenti

Manuale per l'uso SIPLACE F5 HM 6 Preparazione componenti
Versione software SR.408.xx Edizione 03/2006 IT 6.2 Dati tecnici dei caricatori S
153
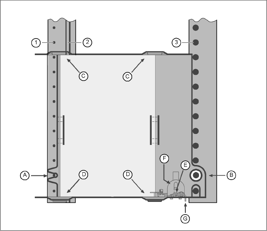
6.2.18 Supporto per vassoi
Con il supporto per i vassoi si possono prelevare componenti da singoli vassoi. I vassoi vengono
cambiati a mano.
6
Fig. 6.2 - 18 Montaggio/smontaggio
(1) Spine di centraggio
(2) Barra magnetica
(3) Calotta
Il supporto dei vassoi viene posizionato sul tavolo CO come un caricatore. Ci sono due modelli di
supporti diversi per larghezza.
Supporto per vassoio grande (260 x 360 mm², occupa 9 posti)
articolo n. 00116430-01 e 6
Supporto per vassoio piccolo (136 x 360 mm², occupa 5 posti)
articolo n. 00116432-01 6
6

6 Preparazione componenti Manuale per l'uso SIPLACE F5 HM
6.2 Dati tecnici dei caricatori S Versione software SR.408.xx Edizione 03/2006 IT
154
ISTRUZIONE 6
Il supporto per vassoi può essere posizionato solo sul lato destro del SIPLACE F5 HM e solo in
modo tale che l'angolo destro occupi al massimo la traccia 73. 6
6.2.18.1 Montaggio
Æ Collocare il lato anteriore del "supporto per vassoi" nell'apposita spina di centraggio (A nella
Fig. 6.2 - 18
).
Æ Mettere quindi il foro nel retro del "supporto per vassoi" sulla calotta del tavolo di componenti
(B nella Fig. 6.2 - 18
).
Æ Controllare se il "supporto per vassoi" è allineato sul tavolo dei componenti.
Æ Mettere un lato del portavassoi nel supporto (C nella Fig. 6.2 - 18). Ora premere l'altro lato nel
supporto (D nella Abb. 6.2 - 18
).
Æ Spingere il vassoio contro il punto d'arresto (E in Abb. 6.2 - 18).
Æ Fissare il portavassoi premendo verso il basso il pezzo per l'estrazione (F nella Fig. 6.2 - 18).
Æ Per estrarre il portavassoi ripremere il pezzo per l'estrazione.
ISTRUZIONE
Nel caso del "supporto per vassoio piccolo" (136 mm) si può montare un vassoio (vassoio
JEDEC/ CENELEC) direttamente sul supporto, quindi senza portavassoio. Per questa opera-
zione sostituire il premilastra (G nella Fig. 6.2 - 18).
AVVERTENZA
Come premessa per la sicurezza d'esercizio, tutti i posti devono essere dotati di caricatori.
Se non si hanno abbastanza caricatori a disposizione, si devono munire i posti non occupati con
una protezione ad innesto (Dummy-Feeder). Anche quando si allestisce un supporto per vassoi,
i posti liberi devono essere muniti di protezione ad innesto.
6.2.18.2 Sostituzione del premilastra
Æ Temere fermo il premilastra (G nella Fig. 6.2 - 18). Premere il pezzo per l'estrazione (F nella
Fig. 6.2 - 18
) verso il basso ed estrarre il premilastra spingendolo fuori lateralmente.
6.2.18.3 Inserimento dati
Definire i vassoi come è descritto nel manuale d'uso di SIPLACE Pro.