00194044-01 - 第199页
Manuale per l'uso SIPLACE F5 HM 7 Opzioni Versione sof tware SR.408.xx E dizione 03/2006 IT 7.7 Scambiatore di pipette per la test a Pick&Place 199 7.7 Sca mbiator e di pipette per la test a Pick&Pla ce 7.7.…

7 Opzioni Manuale per l'uso SIPLACE F5 HM
7.6 Videocamera CS multicolor (tipo 18) Versione software SR.408.xx Edizione 03/2006 IT
198
– Luce obliqua blu
Con questa luce si può ottenere nella maggior parte dei casi un netto miglioramento del con-
trasto nelle fiducial di posizione semplici su materiale di base chiaro come ceramica o CEM
(c
omposite electrochemical materials, quindi materiali elettrochimici compositi). È possibile ri-
conoscere meglio su fondo chiaro anche fiducial di posizione coperte da vernice antisaldatura.
– Illuminazione a infrarossi
L'uso di questo tipo d'illuminazione è particolarmente consigliato per fiducial rivestite da ver-
nice antisaldatura o per fiducial su materiale flex. È eventualmente possibile migliorare il rico-
noscimento delle fiducial d'argento/platino da stabilire anticipatamente con un centraggio o
montaggio di prova.

Manuale per l'uso SIPLACE F5 HM 7 Opzioni
Versione software SR.408.xx Edizione 03/2006 IT 7.7 Scambiatore di pipette per la testa Pick&Place
199
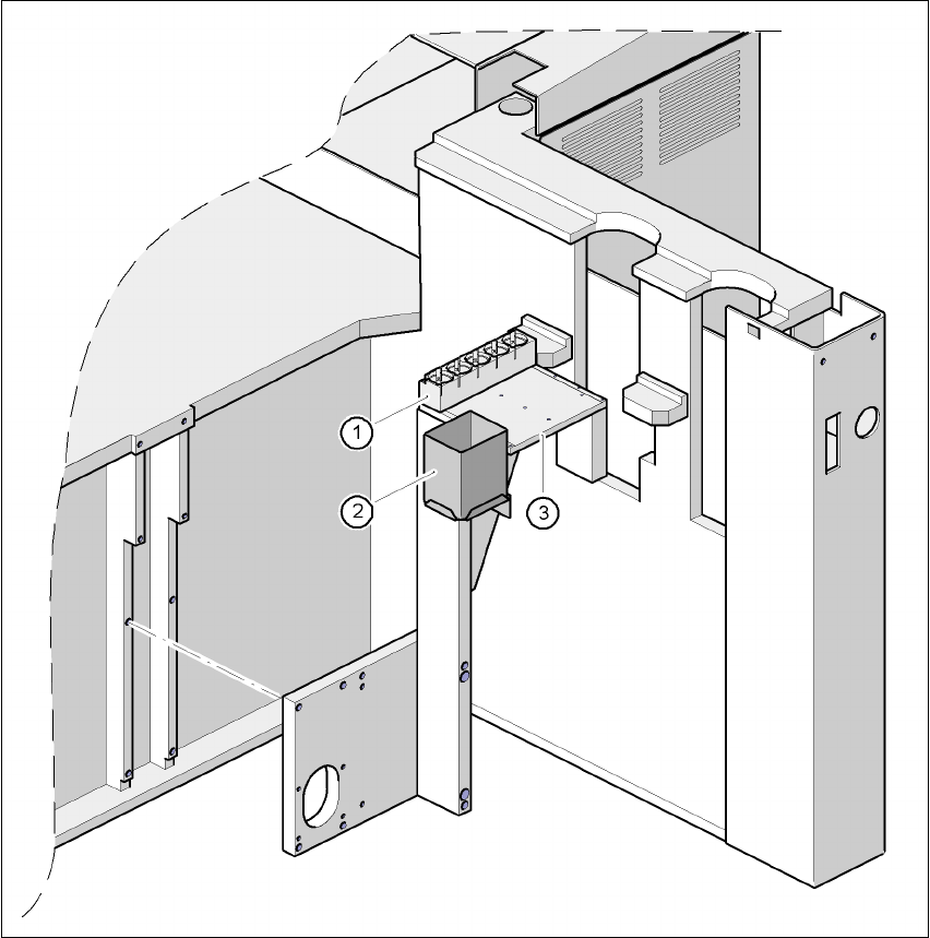
7.7 Scambiatore di pipette per la testa Pick&Place
7.7.1 Indicazioni generali
Fig. 7.7 - 1 Punto d’installazione dello scambiatore di pipette per la testa Pick&Place
(1) Caricatore per 5 pipette
(2) Contenitore degli scarti
(3) Cartella

7 Opzioni Manuale per l'uso SIPLACE F5 HM
7.7 Scambiatore di pipette per la testa Pick&Place Versione software SR.408.xx Edizione 03/2006 IT
200
Il dispositivo automatico SIPLACE F5 HM è dotato in via standard di uno scambiatore di pipette
per la testa Pick&Place. Rientra nell’ambito della fornitura un caricatore di pipette per cinque
pipette, per esempio quattro pipette standard della serie 4xx ed una pipetta speciale. Su richiesta
è possibile allestire anche tre caricatori di pipette aggiuntivi, così che si ha a disposizione un
massimo di 20 pipette.
7.7.2 Dati tecnici - Scambiatore di pipette per la testa Pick&Place
7
7
7
7.7.3 Descrizione del funzionamento
7
Fig. 7.7 - 2 Sommario dello scambiatore pipette
7
Tipi di pipette Tutte le pipette della serie 4xx, pipetta speciale (opzionale)
Capacità Da 1 a 4 caricatori da 5 pipette, configurabili a piacere
Tempo di sostituzione delle pipette Circa 2 sec per ogni pipetta
(1) Fiducial di posizione
(2) Garage delle pipette
(3) Contenitore degli scarti
(4) Caricatore 1 (standard)
(5) Caricatori da 2 a 4 (opzionali)