CUKYX-193-5100_G5S2 - 第165页
193-5100 CUKYX 2.35 I/O 板 U02 的连接电路 1 4-50 2.35 I/O 板 U02 的连接电路 1 1 2 3 4 5 6 CN3B 7 8 9 /B_1(B) /A_1(B) B_1(B) A_1(B) A_4(B) /A_4(B) B_4(B) /B_4(B) S_GND :1 :3 :5 :7 :2 :4 :6 :8 :13 :16 1 2 3 CN10 24V(24A6) GND(10) 1 2 …

193-5100
CUKYX
2.34 I/O 板 U01 的连接电路 9
4-49
2.34 I/O 板 U01 的连接电路 9
CN1
U01
IO PCB
LVDS UP
[F-/03/7D]
from U85-DN
CN2
LVDS DN
CN3
LVDS T
CN4
LVDS T
CN5
LVDS T
CN7
LVDS T
1
2
3
4
5
6
GND
TCK
TDI
TMS
3.3V
TDO
CN60
CN6
LVDS T
X01C2
X01C4
1
2
3
4
5
6
7
8
X01C1
UP_RX+
UP_RX-
UP_TX+
SG
SG
UP_TX-
SG
SG
FG
RX+
RX-
TX+
SG
SG
TX-
SG
SG
[B-/07/1D]
to X30F
1
2
3
4
5
6
7
8
DN_RX+
DN_RX-
DN_TX+
SG
SG
DN_TX-
SG
SG
FG
RX+
RX-
TX+
SG
SG
TX-
SG
SG
1
2
3
4
5
6
7
8
T_RX+
T_RX-
T_TX+
SG
SG
T_TX-
SG
SG
FG
[D-/10/2B]
to U02-CN1
1
2
3
4
5
6
7
8
T_TX+
T_TX-
T_RX+
SG
SG
T_RX-
SG
SG
FG
RX+
RX-
TX+
SG
SG
TX-
SG
SG
1
2
3
4
5
6
7
8
T_TX+
T_TX-
T_RX+
SG
SG
T_RX-
SG
SG
FG
1
2
3
4
5
6
7
8
UP_RX+
UP_RX-
UP_TX+
SG
SG
UP_TX-
SG
SG
FG
1
2
3
4
5
6
7
8
UP_RX+
UP_RX-
UP_TX+
SG
SG
UP_TX-
SG
SG
FG
KYX-000-CC-032

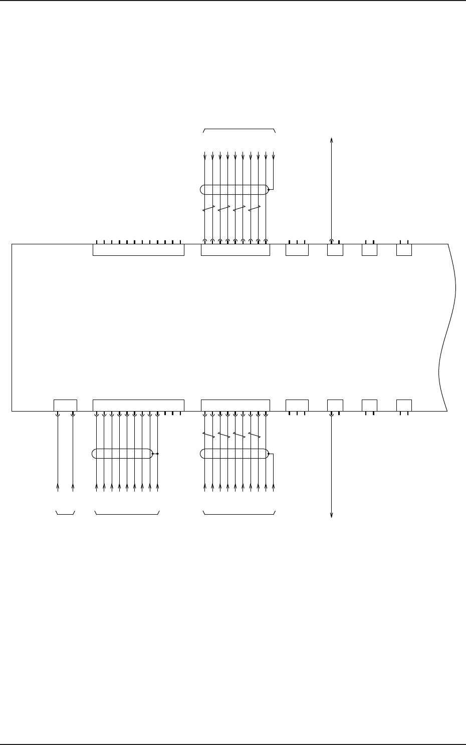
193-5100
CUKYX
2.35 I/O 板 U02 的连接电路 1
4-50
2.35 I/O 板 U02 的连接电路 1
1
2
3
4
5
6
CN3B
7
8
9
/B_1(B)
/A_1(B)
B_1(B)
A_1(B)
A_4(B)
/A_4(B)
B_4(B)
/B_4(B)
S_GND
:1
:3
:5
:7
:2
:4
:6
:8
:13
:16
1
2
3
CN10
24V(24A6)
GND(10)
1
2
CN20
INLK_OUT
24V(24A6)
1
2
CN21
24V(24A6)
1
2
CN22
24V(24A6)
CNP1
1
2
1
2
3
4
5
6
/RX(UP)
TX(UP)
RX(UP)
/TX(UP)
CN1
7
8
9
10
11
12
FG
FG
FG
FG
:1
:2
:3
:4
:5
:6
:7
:8
:9
GND(10)
S_GND
S_GND
S_GND
S_GND
24V(24A6)
24A6
10
2
3
CN11
24V(24A6)
GND(10)
1
2
CN23
INLK_OUT
24V(24A6)
1
2
CN24
24V(24A6)
1
2
CN25
24V(24A6)
1
1
2
3
4
5
6
/TX(DN)
RX(DN)
TX(DN)
/RX(DN)
CN2
7
8
9
10
11
12
FG
FG
FG
FG
S_GND
S_GND
S_GND
S_GND
/B_1(F)
/A_1(F)
B_1(F)
A_1(F)
A_4(F)
/A_4(F)
B_4(F)
/B_4(F)
1
2
3
4
5
6
CN3F
7
8
9
S_GND
:1
:3
:5
:7
:2
:4
:6
:8
:13
:16
U02
IO PCB
STLT_HD
X0223X0220
X0203FX0203B
X0201
X0201P
[B-/02/7D]
from DCterminal
[D-/09/8E]
from U01-CN4
[C-/03/1D]
from A31B-CN5
[C-/08/7A]
to U01-CN11
HEAD1 INLK
[C-/08/7B]
to U01-CN12
[C-/04/1D]
from A31F-CN5
HEAD2 INLK
KYX-000-CC-033

193-5100
CUKYX
2.36 I/O 板 U02 的连接电路 2
4-51
2.36 I/O 板 U02 的连接电路 2
1
2
3
4
5
6
CN4F
7
8
9
10
11
12
1
2
3
4
5
6
CN5F
7
8
9
10
DC8V
FG
EXPOSURE_OUT(F)
FG
FG
FG
GND(10)
S_GND
S_GND
S_GND
S_GND
24V(24A6)
1
2
3
4
5
6
CN6F
7
8
9
10
11
12
13
GND(10)
1
2
3
4
5
6
CN7F
7
8
9
1024V(24A6)
1
2
3
4
5
6
DC8V
FG
SER_DATA+(B)
SER_DATA-(B)
CN4B
7
8
9
I2C_CTRL_RXD-(B)
I2C_CTRL_RXD+(B)
I2C_CTRL_TXD-(B)
10
11
12
EXPOSURE_OUT(B)
I2C_CTRL_TXD+(B)
1
2
3
4
5
6
S_TXD+(B)
CN5B
7
8
9
10
S_TXD-(B)
S_RXD+(B)
S_RXD-(B)
FG
FG
FG
GND(10)
S_GND
S_GND
S_GND
S_GND
24V(24A6)
24V(24A6)
1
2
3
4
5
6
CN6B
7
8
9
10
11
12
13
GND(10)
Di1_00
Di1_11
Di1_02
Di1_04
Di1_06
Di1_07
Di1_08
Di1_09
Di1_10
Di1_12
Di1_14
1
2
3
4
5
6
CN7B
7
8
9
10
24V(24A6)
Do1_00
Do1_01
Do1_02
Do1_03
Do1_04
Do1_05
Do1_10
X10204B
U02
IO PCB
STLT_HD
L1_HEIGHT_SENS
L2_HEIGHT_SENS
HEAD_CONNECT_2
AIR_BLOW / L1_VAC
L1_VAC_BRK
L3_VAC
L3_VAC_BRK
HEAD_CONNECT_1
6V
Case
:12
:13
:14
:15
Case
:23
:20
:27
:28
:24
:25
:21
:22
:36
:37
:38
:39
:42
:43
:40
:41
:44
:1
:2
:3
:4
:8
:5
:11
:12
:9
:10
:6
:7
:14
:15
:16
:17
:20
:21
:18
:19
:22
:8
:9
Robot Cable
S_TXD+(F)
S_TXD-(F)
S_RXD+(F)
S_RXD-(F)
IB_CTRL
IB_STABILITY
IB_TUNING_EXT
I2C_CTRL_RXD-(F)
I2C_CTRL_RXD+(F)
I2C_CTRL_TXD-(F)
I2C_CTRL_TXD+(F)
SER_DATA+(F)
SER_DATA-(F)
24V(24A6)
X10204F
Case
:1
:2
:3
:4
:8
:5
:11
:12
:13
:9
:10
:6
:7
:14
:15
:16
:17
:20
:21
:18
:19
:22
:8
:9
:12
:13
:14
:15
Case
:23
:20
:27
:28
:24
:25
:21
:22
:36
:37
:38
:39
:42
:43
:40
:41
:44
:2
:3
:1
XIB
N.C
L1_HEIGHT_SENS
L2_HEIGHT_SENS
HEAD_CONNECT_2
AIR_BLOW / L1_VAC
L1_VAC_BRK
L3_VAC
L3_VAC_BRK
HEAD_CONNECT_1
NL_INLK
IB_CTRL
IB_STABILITY
IB_TUNING_EXT
X0702
Robot Cable
X0702
Head1 Head2
X0204B
X0205B
X0206B
X0207B
X0204F
X0205F
X0206F
X0207F
Di3_00
Di3_11
Di3_02
Di3_04
Di3_06
Di3_07
Di3_08
Di3_09
Di3_10
Di3_12
Di3_14
Do1_11
Do1_12
Do3_00
Do3_01
Do3_02
Do3_03
Do3_04
Do3_05
Do3_10
Do3_11
Do3_12
G9
Switching
Power Supply
L220
L120
L
N
FG
+V
-V
6V
[D-/11/3A][D-/11/6A]
[B-/02/2F]
From G1,3
Output voltage
6.00± V
0.00
0.50
24V(24A6)
:16
:5
IH_ERROR
:7
:3
:4
IH_LIGHT_OFF
IH_ZERO_SHIFT
X10718F
:2
:3
:1
XIB
N.C
:4
:5
:1
XIH
N.C
:2
:3
:1
:2
IH_TX+
IH_TX-
:16
:13
NL_INLK
:5
IH_ERROR
X10718B
:3
IH_LIGHT_OFF
:4
IH_ZERO_SHIFT
:4
:5
:1
XIH
N.C
:2
:3
:7
:1
IH_TX+
:2
IH_TX-
KYX-000-CC-034