CUKYX-193-5100_G5S2 - 第182页
193-5100 CUKYX 2.52 送料器推车部 _2 4-67 2.52 送料器推车部 _2 - OUT + BR BK BL B6910 Y6912 1 2 CN12 X6910 CN10 1 2 3 3 2 1 CN1 1 X691 1 X6915 1 2 CN15 X6918 1 2 CN18 X6919 1 2 CN19 3 2 1 CN13 B6913 3 2 1 CN14 X6914 3 2 1 CN16 X6916 …

193-5100
CUKYX
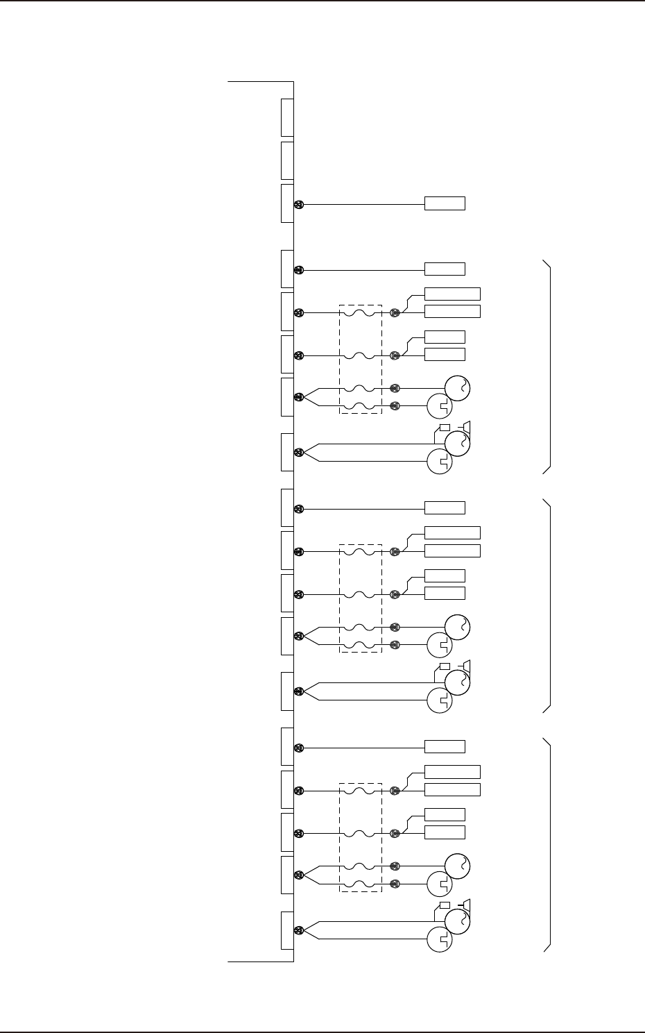
2.51 送料器推车部 _1
4-66
2.51 送料器推车部 _1
4GND
1
2
3
+24V
+24V
GND
9
8
5
6
7
13
10
11
12
S.GND
TXD
RXD
14
15
16FG
X01
X02
X03
X04
X05
OUT1
OUT2
IN1
IN2
IN3
X06
X07
X08
X09
X10
X11
X12
X13
X14
X15
4
3
2
1
GND
+24V
GND
+24V
X100
6
5
FG
77
80
79
78
73
76
75
74
9
8
7
6
OUT1
OUT2
IN1
IN2
IN3
X01:
X01:
X01:
X01:
X01:
OUT1
OUT2
IN1
IN2
IN3
X02:
X02:
X02:
X15:
X15:
OUT2
IN1
X15:
X15:
1
5
…
…
…
47
50
49
48
46
8
7
X01:
X01:
X01:
X02:
X02:
X15:
X15:
1
…
… …
S.GND
TXD
RXD
S.GND
TXD
TXD
RXD
24G1A
10G
24G1A
10G
10G
24G1B
10G
24G1B
:5
:8
:7
:6
:12
:11
:10
:9
:2
:1
solenoid
valve
1Ω7W
RLY
:3
:2
:1
DC24V Input
X16
9
8
5
6
7
Start feed1
Start feed2
Ready
Communi-
Confirm feeder
4
1
2
3
+24V
+24v
GND
X16
GND
FG
13
10
11
12
S.GND
TXD
RXD
14
X17
X18
X19
X20
X21
X22
X23
X24
X25
X26
X27
X28
X29
X30
X6801
X6802
X6803
X6804
X6805
X6806
X6807
X6808
X6809
X6810
X6811
X6812
X6813
X6814
X6815
for feeder
14
14
14
14
14
14
14
14
14
14
14
14
14
X68100B
Connection P.C.B FB
U68
Bundle connector
X30F,X30B
X68101
X68102
…
X101
X102
4GND
1
2
3
+24V
+24V
GND
9
8
5
6
7
13
10
11
12
S.GND
TXD
RXD
14
15
16FG
X01
X02
X03
X04
X05
OUT1
OUT2
IN1
IN2
IN3
X06
X07
X08
X09
X10
X11
X12
X13
X14
X15
4
3
2
1
GND
+24V
GND
+24V
X100
6
5
FG
77
80
79
78
73
76
75
74
9
8
7
6
OUT1
OUT2
IN1
IN2
IN3
X01:
X01:
X01:
X01:
X01:
OUT1
OUT2
IN1
IN2
IN3
X02:
X02:
X02:
X15:
X15:
OUT2
IN1
X15:
X15:
1
5
…
…
…
47
50
49
48
46
8
7
X01:
X01:
X01:
X02:
X02:
X15:
X15:
1
…
… …
S.GND
TXD
RXD
S.GND
TXD
TXD
RXD
1Ω7W
RLY
X16
9
8
5
6
7
4
1
2
3
+24V
+24v
GND
X01
GND
FG
13
10
11
12
S.GND
TXD
RXD
14
X02
X03
X04
X05
X06
X07
X08
X09
X10
X11
X12
X13
X14
X15
X6701
X6702
X6703
X6704
X6705
X6706
X6707
X6708
X6709
X6710
X6711
X6712
X6713
X6714
X6715
14
14
14
14
14
14
14
14
14
14
14
14
14
X68100A
U67
X67101
X67102
…
X101
X102
U69
80 5080 50
CN2
CN4
CN1
CN3
X6903
X6901
X6904
X6902
Check cart connection
Air Hose
to U69-X1
Connection P.C.B FB
X6716 6
X31
Feeder set cable
X6816
A module
B module
D module
:4
:3
:6
:5
:8
:7
:10
:9
:12
:11
(12Pins)
(3Pins)
6
:4
:3
:2
:1
(12Pins)
I/O P.C.B
STLT_FB
[FB-/03/2D]
Drawer connector ×15
to feed
cation ready
connection
for feeder
Drawer connector ×15
Start feed1
Start feed2
Ready
Communi-
Confirm feeder
to feed
cation ready
connection
KYX-000-CC-078

193-5100
CUKYX
2.52 送料器推车部 _2
4-67
2.52 送料器推车部 _2
-
OUT
+
BR
BK
BL
B6910
Y6912
1
2
CN12
X6910
CN10
1
2
3
3
2
1
CN11
X6911
X6915
1
2
CN15
X6918
1
2
CN18
X6919
1
2
CN19
3
2
1
CN13
B6913
3
2
1
CN14
X6914
3
2
1
CN16
X6916
3
2
1
CN17
X6917
X6905
1
2
CN5
3
4
5
6
Y6912
Feeder clamp
Feeder clamp (upper limit)
:6
:1
:10
:9
:8
:7
:2
:3
:4
:5
Bundle connector
X30F,X30B
10G
24G1,G2
X1
1
2
X69X1
7
9
6
8
FG
RTS
CTS
5
S.GND
4
3 TXD
2
RXD
1
1
3
2
6
X6906
X6908
CN6
CN8
U69
4
5
7
8
UP:RX+
UP:RX-
UP:TX+
UP:TX-
SG
High-speed IO
RS232C
[FB/02/4A]
from X30A-3,4
UP
I/O PCB
STLT_FB
:11
:12
C module
(12Pins)
ID15(25):Di12
DI
DI
DI
DI
DI
ID14(24):Di0
DO
DO
DO
*1
*1
Note1:In (), ID number on block 2 side
KYX-000-CC-079

193-5100
CUKYX
2.53 多功能安装头的电路框图 ( D 型 )
4-68
2.53 多功能安装头的电路框图 ( D 型 )
Vacuum
Vacuum
Height
overrun
X0701
X0702
Robot Cable
G5S2 Platform
Multifunctional head nozzle 1 side
valve
break valve
detection
U07D(UC49)
Connector PCB
CN9 CN11
CN1
SIG & DIOPW
CN2
20P 44P
CN4
Y145-1
Y145
Y146-1
CN10
B143-1(R)
B143
B143-1(T)
B144-1
CN3
3
M
M
SSG
M141-1
1Z(θ)
M141-P
M141
3
M
M
SSG
M142-1
1L(Z)
CN21
PW
8P
CN12 CN14CN5
Y145-2
Y145
Y146-2
CN13
B143-2(R)
B143
B143-2(T)
B144-2
CN6
3
M
M
SSG
M141-2
2Z(θ)
M141-P
M141
3
M
M
SSG
M142-2
2L(Z)
CN15 CN17CN23
Y145-3
Y146-3
CN16
B143-3(R)
B143-3(T)
B144-3
CN22
3
M
M
SSG
M141-3
3Z(θ)
M141-P
M141
3
M
M
SSG
M142-3
3L(Z)
CN18
N301
CN19 CN20
Y145 B143
X0704 X0703 X0709 X0710 X0711 X0705 X0706 X0712 X0713 X0714 X0723 X0722 X0715 X0716 X0717 X0718
X0712
Multifunctional head nozzle 2 side Multifunctional head nozzle 3 side
Height
detection
Vacuum
Vacuum
Height
overrun
valve
break valve
detection
Height
detection
Vacuum
Vacuum
Height
overrun
valve
break valve
detection
Height
detection
detection
Parts fall
KYX-000-CC-080-1