CUKYX-193-5100_G5S2 - 第57页
193-5100 CUKYX 1.7 安装头部 1-8 1.7 安装头部 No. Name Q’ty No. Name Q’ty No. Name Q’ty No. Name Q’ty 1 Tube ∅ 4 1 2 Tube ∅ 8 1 3 Solenoid V alve 1 4 Rotary Joint 1 5 Solenoid V alve 15 6 Filter 15 A V P R A P A V P A V P V alve …

193-5100
CUKYX
1.6 吸嘴贮备器
1-7
1.6 吸嘴贮备器
No. Name Q’ty No. Name Q’ty No. Name Q’ty No. Name Q’ty
1 Tube
∅
8 1
2 Tube
∅
6 1
3 Tube
∅
4 1
4 Solenoid Valve 1
5 Cylinder 1
6 Cylinder 1
8 Needle 1
9 Union Y 1
8
4
5
6
2
3
9
1
Stocker 1 U/D
From Main Body
Shutter 1 Open / Close
Fig_1-13S

193-5100
CUKYX
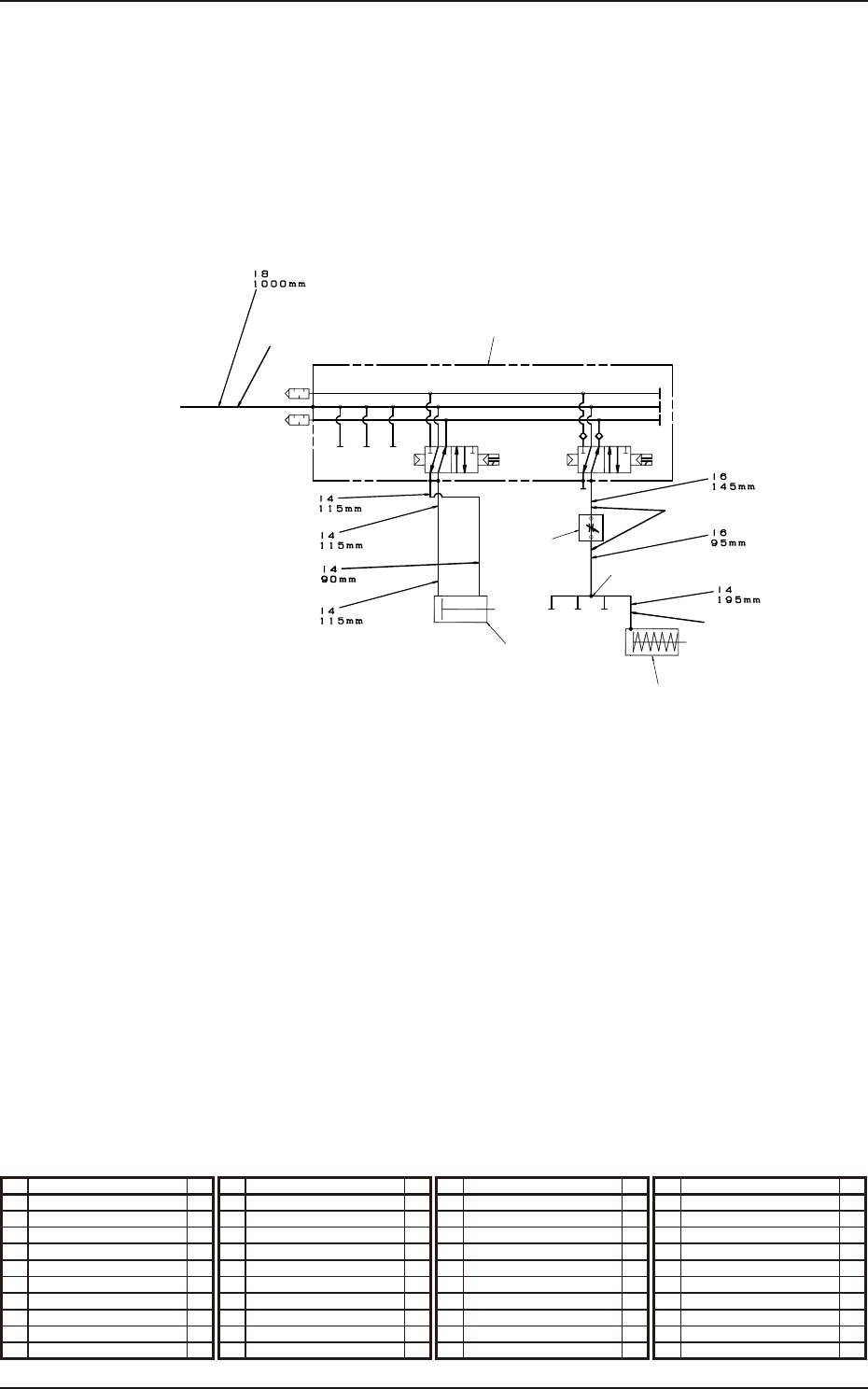
1.7 安装头部
1-8
1.7 安装头部
No. Name Q’ty No. Name Q’ty No. Name Q’ty No. Name Q’ty
1 Tube
∅
4 1
2 Tube
∅
8 1
3 Solenoid Valve 1
4 Rotary Joint 1
5 Solenoid Valve 15
6 Filter 15
A
V
P
R
A
P
A
V
P
A
V
P
Valve
Filter
Rotary Joint
φ8 Fitting
φ8
φ4
φ8 Fitting
φ6 Fitting
φ4 Fitting
φ4 Fitting
Valve
3
2
1
4
5
6
From Main Body
Robot Cable
Nozzle1 Nozzle2 Nozzle15
Fig_1-15S

193-5100
CUKYX
1.8 送料器安装台
1-9
1.8 送料器安装台
No. Name Q’ty No. Name Q’ty No. Name Q’ty No. Name Q’ty
1 Tube
∅
6 1
2 Solenoid Valve 2
3 Speed Controller 4
4 Cylinder 2
5 Modular Unit 2
6 Air Connector Pin 2
5
1
2
3
4
6
From Main Body
Fig_1-17S