文档中心
/
Cable trees_20211123_101927
Cable trees_20211123_101927 - 第19页
Cable trees Page 19 / 47 23.11.2021
目录
100%
显示:宽度
宽度
1 / 47
回到旧版
旧版
?
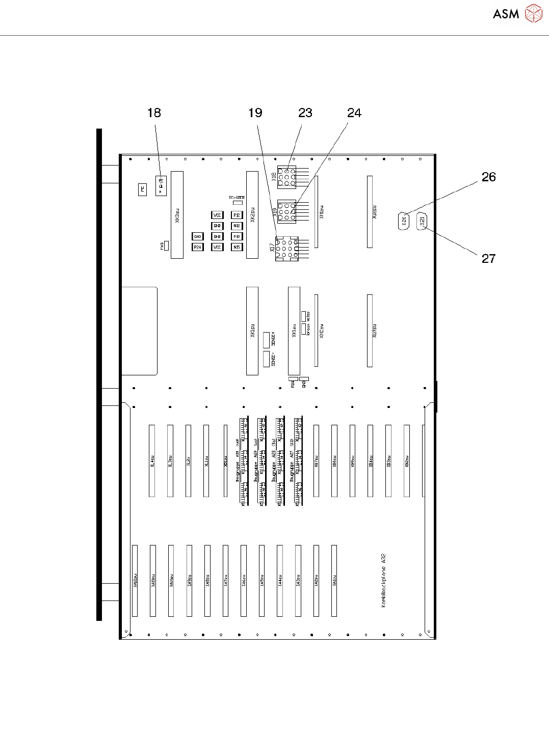
Cable trees
Page 18 / 47
23.11.2021
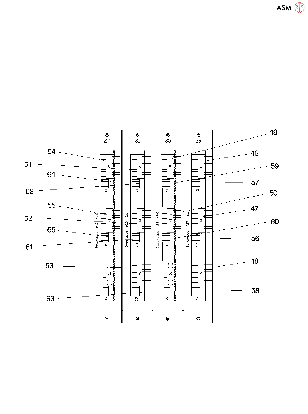
Cable trees
Page 19 / 47
23.11.2021
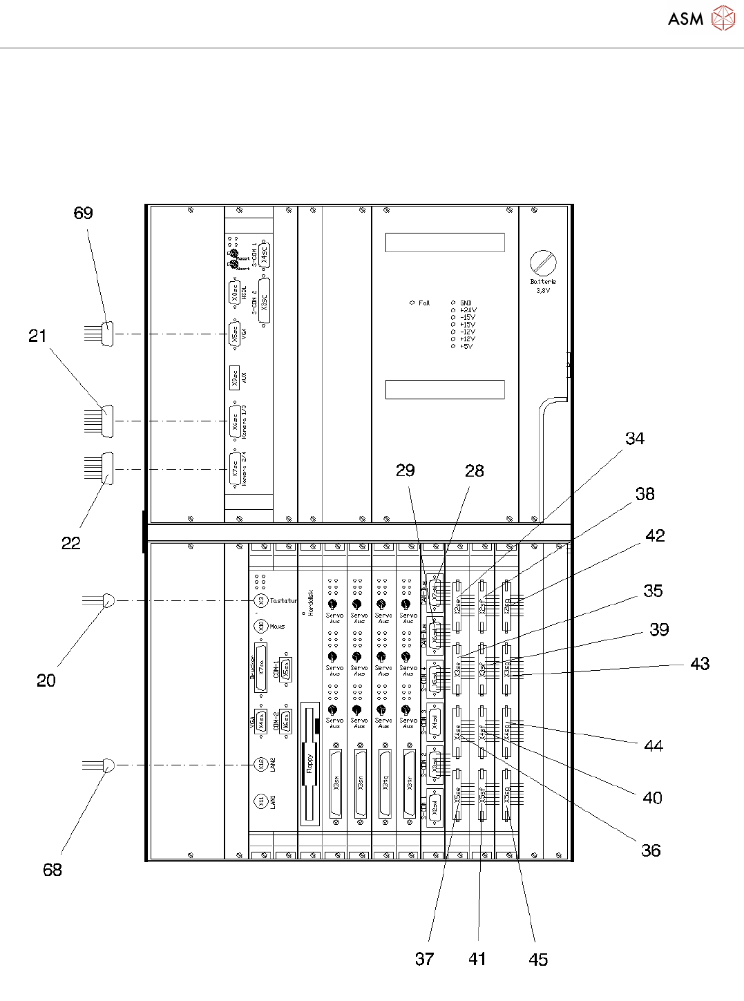
Cable trees
Page 20 / 47
23.11.2021
该页面需要启用 JavaScript 才能进行交互式预览。