文档中心
/
Cable trees_20211118_083139
Cable trees_20211118_083139
Cable trees Page 1 / 18 18.11.2021
目录
100%
显示:宽度
宽度
1 / 18
回到旧版
旧版
?
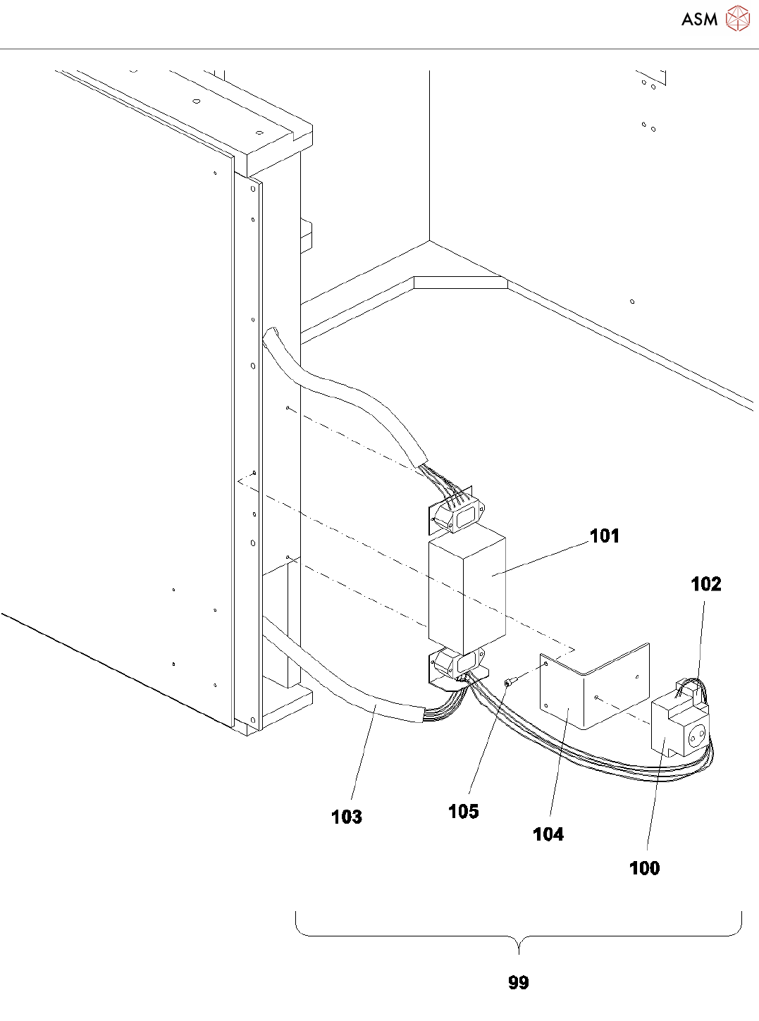
Cable trees
Page 1 / 18
18.11.2021
Cable trees
Page 2 / 18
18.11.2021
Cable trees
Page 3 / 18
18.11.2021
该页面需要启用 JavaScript 才能进行交互式预览。