文档中心
/
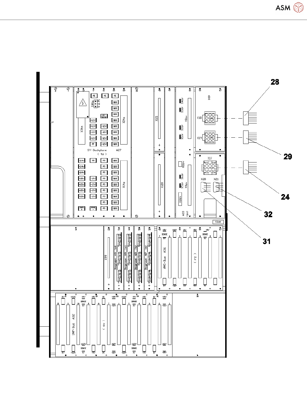
Cable trees_20211122_075139
Cable trees_20211122_075139 - 第15页
Cable trees Page 15 / 40 22.11.2021
目录
100%
显示:宽度
宽度
1 / 40
回到旧版
旧版
?
Cable trees
Page 14 / 40
22.11.2021
Cable trees
Page 15 / 40
22.11.2021
Cable trees
Page 16 / 40
22.11.2021
该页面需要启用 JavaScript 才能进行交互式预览。