00193928-03 - 第180页
4 Instalace a uvedení do provozu Návod k obsluze SIPLACE HF-série 4.4 Instalace au tomatu Verze softwar e SR.50x.xx Vydání 01/2006 CZ 180 4 Obr . 4.4 - 3 Nohy aut omatu 4 (1) Vn ě jší noha stroje , 4 x, 2 prov edení (viz…

Návod k obsluze SIPLACE HF-série 4 Instalace a uvedení do provozu
Verze software SR.50x.xx Vydání 01/2006 CZ 4.4 Instalace automatu
179
zvětšit vzdálenost mezi vidlemi natolik, aby byl automat zvedán za boční díly rámu stroje.
Následkem by byla deformace rámu stroje.
Æ Dbejte na to, aby byly vidle při zvedání automatu rovnoměrně zatíženy. Pevná podložka mezi
vidlemi a automatem zabraňuje převržení automatu při zvedání. Tak lze zabránit
jednostrannému zatížení nohou stroje, které by mohlo vést k deformaci upevnění nohou
stroje. Doporučujeme, aby zvedání automatu pozorovala druhá osoba, která by kontrolovala,
zda při zvedání vysokozdvižným vozíkem nedochází k přílišnému naklápění.
Æ Nadzvedněte automat pomocí vysokozdvižného vozíku asi 35 cm vysoko. Tak vyloučíte riziko
poranění Vašich nohou, pokud by noha stroje nedopatřením poklesla.
Automat stojí na 6 nohách.
–4 vnější nohy stroje (pos.1 na obr. 4.4 - 3
)
Vnější nohy stroje jsou ve dvou provedeních: 4
–vnější noha stroje pro transportní výšku desky 830 mm, délka 369 mm,
číslo výrobku 03041008-01 (pos. 1 na obr. 4.4 - 3
, strana 180)
–vnější noha stroje pro výšky transportu desek 900, 930 a 950 mm, délka 439 mm,
číslo výrobku 03000890-02 (pos. 2 na obr. 4.4 - 3
, strana 180)
– 2 prostřední nohy stroje (pos. 2 na obr. 4.4 - 3
) se 2 distančními díly (pos. 3 a pos. 4 na obr.
4.4 - 3
) pro výškové nastavení, pokud je potřebné.
4
Obr. 4.4 - 2 Vn
ě
jší nohy stroje - dv
ě
provedení (míry v milimetrech)

4 Instalace a uvedení do provozu Návod k obsluze SIPLACE HF-série
4.4 Instalace automatu Verze software SR.50x.xx Vydání 01/2006 CZ
180
4
Obr. 4.4 - 3 Nohy automatu
4
(1) Vnější noha stroje, 4 x, 2 provedení (viz obr. 4.4 - 2, strana 179)
(2) Prostřední noha stroje, 2 x
(3) Distanční díl na straně modulu elektrického napájení
(4) Distanční díl na straně pneumatického modulu
(5) Závitový otvor pro prostřední nohu stroje
(T) Směr transportu desek
(P) Pneumatický modul
(S) Modul napájecího napětí

Návod k obsluze SIPLACE HF-série 4 Instalace a uvedení do provozu
Verze software SR.50x.xx Vydání 01/2006 CZ 4.4 Instalace automatu
181
4.4.4.1 Nastavení výšky prostřední nohy stroje
Nejprve musí být nastaveny prostřední nohy stroje. Podle výšky automatu musí být na spodní
stranu přišroubovány distanční díly (dbát na jejich správnou polohu).
Nastavení transportní výšky desek na 830 mm 4
Pro transportní výšku desek 830 mm nepotřebujete žádný distanční díl.
Æ Zašroubujte prostřední nohu stroje co možná nejdále do pro ni připraveného závitového
otvoru (viz bod 5 na obr. 4.4 - 3
).
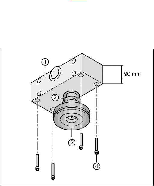
Nastavení transportní výšky desek na 900 mm 4
Pro transportní výšku desek 900 mm potřebujete distanční díl.
Æ Orientujte ho tak, aby byl rozměr 90 mm svisle a vrtání pro prostřední nohu ukazovalo dolu.
4
4
4
4
4
4
4
4
4
4
4
4
Obr. 4.4 - 4 Orientace distan
č
ního dílu pro transportní výšku 900 mm
4
(1) Distanční díl-výška 90 mm
(2) Prostřední noha stroje
(3) Kontramatice M24
(4) Imbusový šroub M12x80, 4 kusy