00193928-03 - 第311页
Návod k obs luze SIPLACE HF-s érie 7 Rozší ř ení stanice Verze software SR.50x.xx Vydání 01/2006 CZ 7.1 M ě ni č pipet 311 7.1.3 M ě ni č pipet pro hlavu SIPLACE T winHead Zásobn ík pro 2 pip ety: č íslo výrobku 0 300519…

7 Rozšíření stanice Návod k obsluze SIPLACE HF-série
7.1 Měnič pipet Verze software SR.50x.xx Vydání 01/2006 CZ
310
7.1.2.9 Montážní sada pro měnič pipet "řada 2"
Číslo výrobku 00119664-xx
Měnič pipet "řada 2" lze instalovat na následující stanoviště:
Automat HF: Stanoviště 1 a 3 (viz obr. 7.1 - 10
, strana 302)
Automat HF/3: Stanoviště 1, 3 a 4 (viz obr. 7.1 - 11
, strana 303)
Souprava pro dodatečnou montáž obsahuje vedle měniče pipet ještě montážní sadu a přípravek
na stahování pipet s odhazovací nádobou na pipety.
7
Obr. 7.1 - 16 Montážní sada pro 2. m
ě
ni
č
pipet
(1) Montážní sada pro měnič pipet "řada 2"
(2) Přípravek na stahování pipet pro pipety typu 8xx
(3) Přípravek na stahování pipet pro pipety typu 9xx
(4) Nádoba na odhazování pipet

Návod k obsluze SIPLACE HF-série 7 Rozšíření stanice
Verze software SR.50x.xx Vydání 01/2006 CZ 7.1 Měnič pipet
311
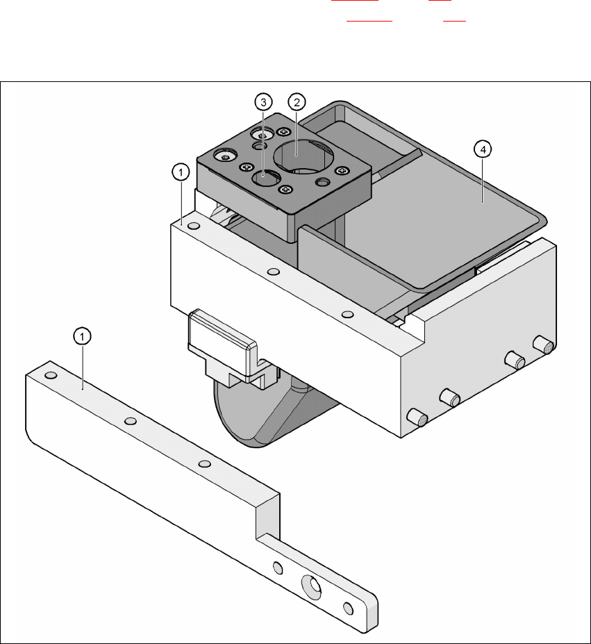
7.1.3 Měnič pipet pro hlavu SIPLACE TwinHead
Zásobník pro 2 pipety: číslo výrobku 03005191-xx
Zásobník pro 1 pipetu: číslo výrobku 03001807-xx
Tento měnič pipet může pojmout až 12 zásobníků pipet. K dispozici jsou dva typy zásobníků:
standardní zásobníky a zásobníky pro zvláštní pipety nebo chapače. Zásobníky jsou umístěny na
společném nosiči. Jsou polohovány vždy pomocí dvou válcových kolíků a zajištěny pomocí dvou
zápustných šroubů.
7
Obr. 7.1 - 17 M
ě
ni
č
pipet pro hlavu SIPLACE TwinHead
VÝSTRAHA 7
Pro každou osazovací hlavu instalujte jen příslušný měnič pipet. Při smíšené konfiguraci hrozí
nebezpečí havárie hlav!
7.1.3.1 Technická data
7
Měnič pipet pro hlavu SIPLACE TwinHead
Rozměry (délka x šířka x výška) 448 x 68,5 x 49 mm³
Počet úložných míst pro pipety 16 pro standardní pipety
4 pro zvláštní pipety nebo chapače
Typy pipet 5xx, standard
4xx s adaptérem
9xx s adaptérem
Doba výměny pipety < 2 s

7 Rozšíření stanice Návod k obsluze SIPLACE HF-série
7.1 Měnič pipet Verze software SR.50x.xx Vydání 01/2006 CZ
312
7.1.3.2 Poloha měniče pipet pro hlavu TwinHead na automatu HF
Na stanovištích 1, 2, 3 a 4 lze instalovat vždy jeden měnič pipet pro hlavu TwinHead (pos. 1 na
obr. 7.1 - 18
). To dává celkovou kapacitu 4 měničů pipet se 48 zásobníky a celkem 96 úložnými
místy (garážemi) pipet.
7
Obr. 7.1 - 18 Poloha m
ě
ni
č
e pipet pro hlavu TwinHead na automatu HF
(1) Měnič pipet
(2) Standardní zásobník
(3) Zásobník pro zvláštní pipety nebo chapače
(4) Odpadová nádoba na součástky
7
7