00193928-03 - 第314页
7 Rozší ř ení s tanice Návod k obsluze SI PLACE HF-série 7.1 M ě ni č p ipet Verze software SR.50x.xx Vydání 01/2006 CZ 314 7.1.3.4 Montáž M ě ni č pipet je p ř ipevn ě n na p ř ípravku pro vtaho vání voz íku sou č ás te…

Návod k obsluze SIPLACE HF-série 7 Rozšíření stanice
Verze software SR.50x.xx Vydání 01/2006 CZ 7.1 Měnič pipet
313
7.1.3.3 Poloha měniče pipet pro hlavu TwinHead na automatu HF/3
Na stanovištích 2 a 3 lze instalovat vždy jeden měnič pipet pro hlavu TwinHead (pos. 1 na obr. 7.1
- 19). To dává celkovou kapacitu 2 měničů pipet a celkem 48 úložných míst (garáží) pipet.
7
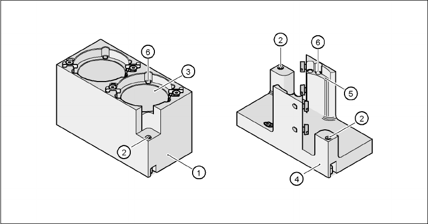
Obr. 7.1 - 19 Poloha m
ě
ni
č
e pipet pro hlavu TwinHead na automatu HF/3
(1) Měnič pipet
(2) Standardní zásobník
(3) Zásobník pro zvláštní pipety nebo chapače
(4) Odpadová nádoba na součástky

7 Rozšíření stanice Návod k obsluze SIPLACE HF-série
7.1 Měnič pipet Verze software SR.50x.xx Vydání 01/2006 CZ
314
7.1.3.4 Montáž
Měnič pipet je připevněn na přípravku pro vtahování vozíku součástek.
7
Obr. 7.1 - 20 Montážní poloha
(1) Značící vrtání
(2) Strana obsluhy
(3) Šipka ukazuje ve směru transportu desek
7
Æ Měnič pipet orientujte tak, aby značící vrtání (pos. 1) bylo při pohledu od obsluhy vlevo.

Návod k obsluze SIPLACE HF-série 7 Rozšíření stanice
Verze software SR.50x.xx Vydání 01/2006 CZ 7.1 Měnič pipet
315
7.1.3.5 Popis funkce
Zásobník pro standardní pipety má 1 polohovací značku, zásobník pro zvláštní pipety/chapače
dvě. V úložných místech jsou pipety aretovány kuličkami. Podle smyslu otáčení osy DP jsou
pipety buď sevřeny nebo uvolněny pro odběr.
7
Obr. 7.1 - 21 Zásobník pro standardní pipety a zvláštní pipety
(1) Standardní zásobník
(2) Polohová značka
(3) Místo uložení pipet
(4) Zásobník pro zvláštní pipety a chapače
(5) Místo uložení pipet
(6) Kuličky pro aretaci pipet