00193933-03 - 第311页
Driftsvejledning SIPLACE HF -serie 7 Stationsudvidelser Softwareversion SR.50x. xx Udgave 01/2006 DK 7.1 Pipetteveksler 311 7.1.3 Pipetteve ksler ti l SIPLAC E T winHead Magasin til 2 pipetter : Artikel -nr . 03005 191-x…

7 Stationsudvidelser Driftsvejledning SIPLACE HF-serie
7.1 Pipetteveksler Softwareversion SR.50x.xx Udgave 01/2006 DK
310
7.1.2.9 Montagesæt for pipetteveksleren "Række 2"
Artikel-nr. 00119664-xx
Pipetteveksleren "Række 2" kan installeres på følgende placeringssteder:
HF-automat: Placeringssteder 1 og 3 (se Fig. 7.1 - 10
, side 302)
HF/3-automat: Placeringssteder 1, 3 og 4 (se Fig. 7.1 - 11
, side 303)
Eftermonteringspakken indeholder udover pipetteveksleren et monteringssæt og en pipetteaf-
trækningsanordning med udsmidningsbeholder.
7
Fig. 7.1 - 16 Monteringssæt til den 2. pipetteveksler
(1) Montagesæt for pipetteveksleren "Række 2"
(2) Pipetteaftrækningsanordning til pipetter af typen 8xx
(3) Pipetteaftrækningsanordning til pipetter af typen 9xx
(4) Pipettefejlvarebeholderen

Driftsvejledning SIPLACE HF-serie 7 Stationsudvidelser
Softwareversion SR.50x.xx Udgave 01/2006 DK 7.1 Pipetteveksler
311
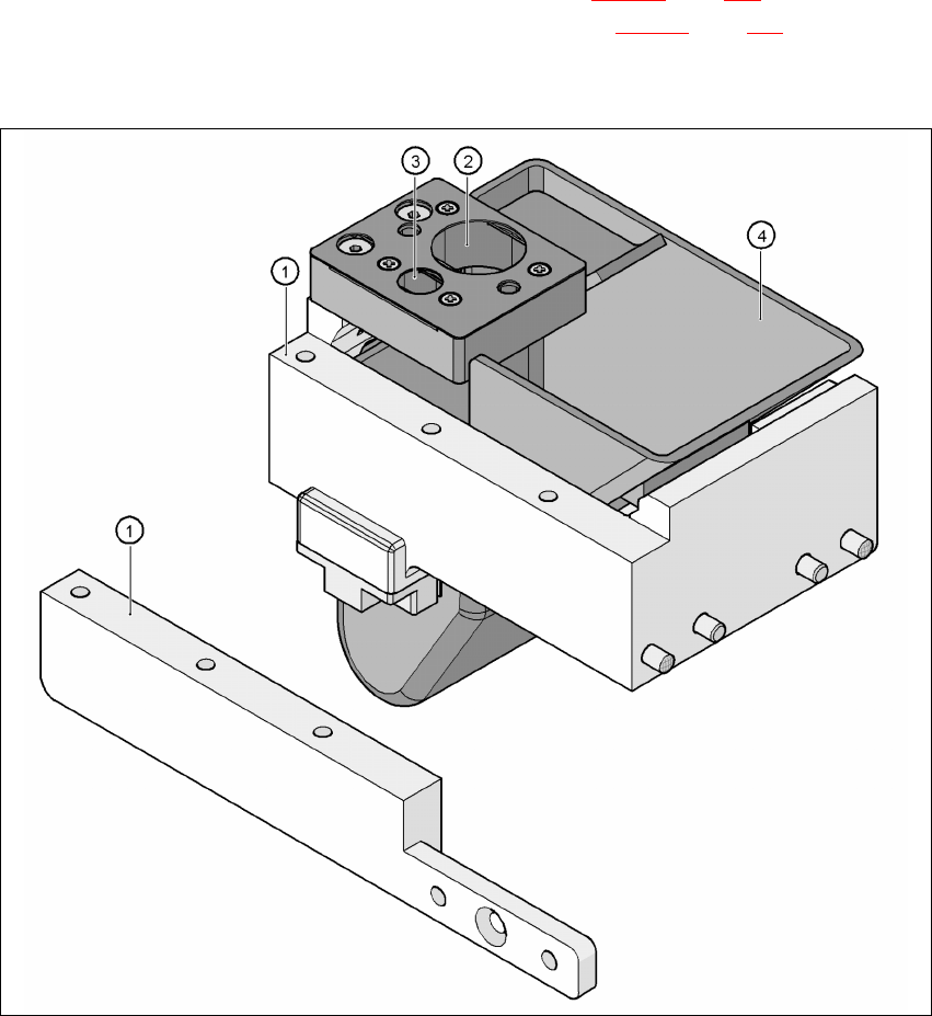
7.1.3 Pipetteveksler til SIPLACE TwinHead
Magasin til 2 pipetter: Artikel-nr. 03005191-xx
Magasin til 1 pipette: Artikel-nr. 03001807-xx
Denne pipetteveksler kan rumme op til 12 pipettemagasiner. Der kan vælges mellem to magasin-
typer: standardmagasiner og magasiner til specialpipetter eller gribere. Magasinerne sidder på en
fælles holder. De er centreret med to cylinderstifter og fastgjort med to skruer med nedsænket ho-
ved.
7
Fig. 7.1 - 17 Pipetteveksler til SIPLACE TwinHead
ADVARSEL 7
Installér kun den tilhørende pipetteveksler til hvert bestykningshoved. Ved blandede konfiguratio-
ner er der fare for hovedcrash!
7.1.3.1 Tekniske data
7
Pipetteveksler til SIPLACE TwinHead
Mål (længde x bredde x højde) 448 x 68,5 x 49 mm³
Antal pipettegarager 16 til standardpipetter
4 til specialpipetter eller gribere
Pipettetyper 5xx, standard
4xx med adapter
9xx med adapter
Pipettevekseltid < 2 s

7 Stationsudvidelser Driftsvejledning SIPLACE HF-serie
7.1 Pipetteveksler Softwareversion SR.50x.xx Udgave 01/2006 DK
312
7.1.3.2 Position af pipettevekslerne for TwinHead på HF-automaten
Både ved placeringssted 1, 2, 3 og 4 kan der installeres en pipetteveksler for TwinHead (pos. 1 i
Fig. 7.1 - 18
). Dette giver en samlet kapacitet på 4 pipettevekslere med 48 magasiner og i alt 96
pipettegarager.
7
Fig. 7.1 - 18 Position af pipettevekslerne for TwinHead på HF-automaten
(1) Pipetteveksler
(2) Standardmagasin
(3) Magasin til specialpipetter eller gribere
(4) Komponent-udsmidningsbeholder
7
7