00193933-03 - 第315页
Driftsvejledning SIPLACE HF -serie 7 Stationsudvidelser Softwareversion SR.50x. xx Udgave 01/2006 DK 7.1 Pipetteveksler 315 7.1.3.5 Funktionsbeskrivel se Magasin et til standardpipe tter har 1 po sitionsmær ke til reg is…

7 Stationsudvidelser Driftsvejledning SIPLACE HF-serie
7.1 Pipetteveksler Softwareversion SR.50x.xx Udgave 01/2006 DK
314
7.1.3.4 Montering
Pipetteveksleren er fastgjort på komponentvogn-indtrækningsanordningen.
7
Fig. 7.1 - 20 Monteringsposition
7
(1) Markeringsboring
(2) Operatørside
(3) Pil peger i retning PCB-transport
7
Æ Indstil pipetteveksleren på en sådan måde, at markeringsboringen (pos. 1) ligger til venstre
set ud fra operatørens blikvinkel.

Driftsvejledning SIPLACE HF-serie 7 Stationsudvidelser
Softwareversion SR.50x.xx Udgave 01/2006 DK 7.1 Pipetteveksler
315
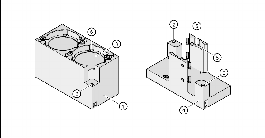
7.1.3.5 Funktionsbeskrivelse
Magasinet til standardpipetter har 1 positionsmærke til registrering af positionen, magasinet til
specialpipetter/gribere to. I garagen fastgøres pipetterne med kugler. Afhængigt af DP-aksens
drejeretning klemmes pipetterne eller de frigives til udtagning.
7
Fig. 7.1 - 21 Magasin til specialpipetter og gribere
(1) Standardmagasin
(2) Positionsmærke
(3) Pipettegarage
(4) Magasin til specialpipetter og gribere
(5) Pipettegarage
(6) Kugler til fastgørelse af pipetter

7 Stationsudvidelser Driftsvejledning SIPLACE HF-serie
7.1 Pipetteveksler Softwareversion SR.50x.xx Udgave 01/2006 DK
316
7.1.3.6 Komponent-udsmidningsbeholder
En komponent-udsmidningsbeholder kan installeres til SIPLACE TwinHead. Den er positioneret
ved siden af Fine-Pitch-visionssystemet (se Pos. 4 i Fig. 7.1 - 18
, side 312 og 7.1 - 19, side 313).
7
Fig. 7.1 - 22 Komponent-udsmidningsbeholder
7.1.4 Gribere og specialpipetter
SIPLACE-automater forarbejder ikke kun standard-SMT-spektret, men også komponenter i gen-
nemstikningsmonteringsteknik (Through Hole Technology) og OSC-komponenter (Odd Shaped
Components). Parallelt hermed udvikler SIEMENS A&D kontinuerligt specialpipetter og gribere.
Specialpipetter tilbydes til alle bestykningshoveder, så bestykningsordrene kan køres i gennem
med max. hastighed, præcision og fleksibilitet. Brug af automatiske pipettevekslere reducerer
desuden klargøringstiderne, der er forbundet med et produktskift.
Til Pick&Place-hovederne tilbyder SIEMENS A&D mekaniske gribere. Komponenter, hvis over-
flade ikke er egnet til opsugning via pipetter, hentes af mekaniske gribere og bestykkes. Der findes
to typer gribere, der kan inddeles i to grupper, afhængigt af funktionen:
– Gribere, der tager fat i komponentens udvendige kanter og
– Gribere, der tager fat i komponentens indvendige kant.
Informationer vedr. specialpipetter og gribere fås hos SIEMENS A&D. Mht. fremstilling af special-
magasiner og gribere bedes De ligeledes kontakte SIEMENS A&D.