KE2030取扱説明書Ver.2.01,和文Rev.09 - 第58页
1 - 38 ④は,トラックボール用コネクタ( 9 pin )です。 トラックボール用コネクタのピン配置は表 1-4-5 参照。 ⑤は,キーボード用コネクタ( 5 pin )です。 キーボード用コネクタのピン配置は表 1-4-4 参照。 ⑥は,ハンドヘルド操作盤(HOD)用コネクタ( 50 pin )です。 図 図 図 図 1-4-3 本体正面右側 本体正面右側 本体正面右側 本体正面右側 トラックボールとキーボードのコネクタは同形状に…

1 - 37
1-4. 外部装置とのインターフェイス
外部装置とのインターフェイス外部装置とのインターフェイス
外部装置とのインターフェイス
(1)
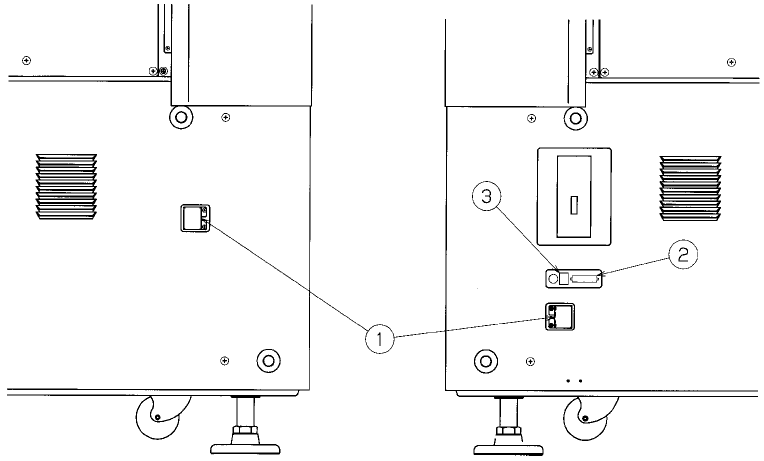
①は,本体装置をオンラインで使用する場合に他の装置と接続するレディアウト(イン)用コネク
タ(
14 pin
)です。
搬送方向が左→右の場合と右→左の場合とでレディアウト(イン)用コネクタのピン配置は表
1-4-1
及び表
1-4-2
参照。
(2)
②は,プリンタ用コネクタ(
Dsub 25 pin
)でセントロニクス方式に準拠しています。
プリンタ用コネクタのピン配置は表
1-4-3
参照。
③は,イーサネットコネクタ(モジュラーコネクタ8P)です。
イーサネットコネクタのピン配置は表
1-4-6
参照。
図
図図
図
1-4-1
本体正面左側
本体正面左側本体正面左側
本体正面左側
図
図図
図
1-4-2
本体正面右側
本体正面右側本体正面右側
本体正面右側

1 - 38
④は,トラックボール用コネクタ(
9 pin
)です。
トラックボール用コネクタのピン配置は表
1-4-5
参照。
⑤は,キーボード用コネクタ(
5 pin
)です。
キーボード用コネクタのピン配置は表
1-4-4
参照。
⑥は,ハンドヘルド操作盤(HOD)用コネクタ(
50 pin
)です。
図
図図
図
1-4-3
本体正面右側
本体正面右側本体正面右側
本体正面右側
トラックボールとキーボードのコネクタは同形状になっております。接続を間違えると機械のシス
テムが立ち上がりません。
注意
注意注意
注意
:
④
⑤
⑥

1 - 39
表
表表
表
1-4-1
本体正面左側のコネクタ表
本体正面左側のコネクタ表本体正面左側のコネクタ表
本体正面左側のコネクタ表
信号名
搬送方向
右流れ
信号名
搬送方向
左流れ
使用コネクタ
1 READY OUT
+
READY IN
+
2 READY OUT
−
READY IN
−
(
GND
)
AMP
3 BOAD AVAILABLE IN
+
BOAD AVAILABLE OUT
+
206043−1
4 BOAD AVAILABLE IN
−
(
GND
)
BOAD AVAILABLE OUT
−
5 N.C. N.C.
6 N.C. N.C.
ケーブル側
7 N.C. N.C.
接続コネクタ
8 N.C. N.C.
206044−1
9 N.C. N.C.
10 N.C. N.C.
11 N.C. N.C.
12 N.C. N.C.
13 N.C. N.C.
14 N.C. N.C.
表
表表
表
1-4-2
本体正面右側のコネクタ表
本体正面右側のコネクタ表本体正面右側のコネクタ表
本体正面右側のコネクタ表
信号名
搬送方向
右流れ
信号名
搬送方向
左流れ
使用コネクタ
1 READY IN
+
READY OUT
+
2 READY IN
−
(
GND
)
READY OUT
−
AMP
3 BOAD AVAILABLE OUT
+
BOAD AVAILABLE IN
+
206043−1
4 BOAD AVAILABLE OUT
−
BOAD AVAILABLE IN
−
(
GND
)
5 N.C. N.C.
6 N.C. N.C.
ケーブル側
7 N.C. N.C.
接続コネクタ
8 N.C. N.C.
206044−1
9 N.C. N.C.
10 N.C. N.C.
11 N.C. N.C.
12 N.C. N.C.
13 N.C. N.C.
14 N.C. N.C.