西门子技术培训TX-Series_ZH.pdf - 第133页
8 控制和通信 8.10 GigE视像系统 技术培训 FSE SIPLACE TX系列 01/2018 133 GigE视像系统 电源概览 GigE视像系统 相机通信概览

8 控制和通信
8.10 GigE视像系统
132 技术培训 FSE SIPLACE TX系列 01/2018
8.10 GigE视像系统
GigE是用于影像系统硬件的一个术语,在TX贴片机上包括相机类型和总线结构。
1. 以太网接头
2. 以太网线缆通信(黑色或绿色)
●
GigE是一种关于高性能工业相机的接口标准。它为通过以太网网络传输高速视频和相关控制数
据提供了一个框架。
●
它与现有的 SIPLACE 影像系统硬件不兼容。
●
GigE 网络接口卡(以太网适配器)在 BoxPC 内。
●
所有GigE相机使用相同的传感器型号表示SIPLACE影像,除了在型号后面加一个G,例如
SST23G。
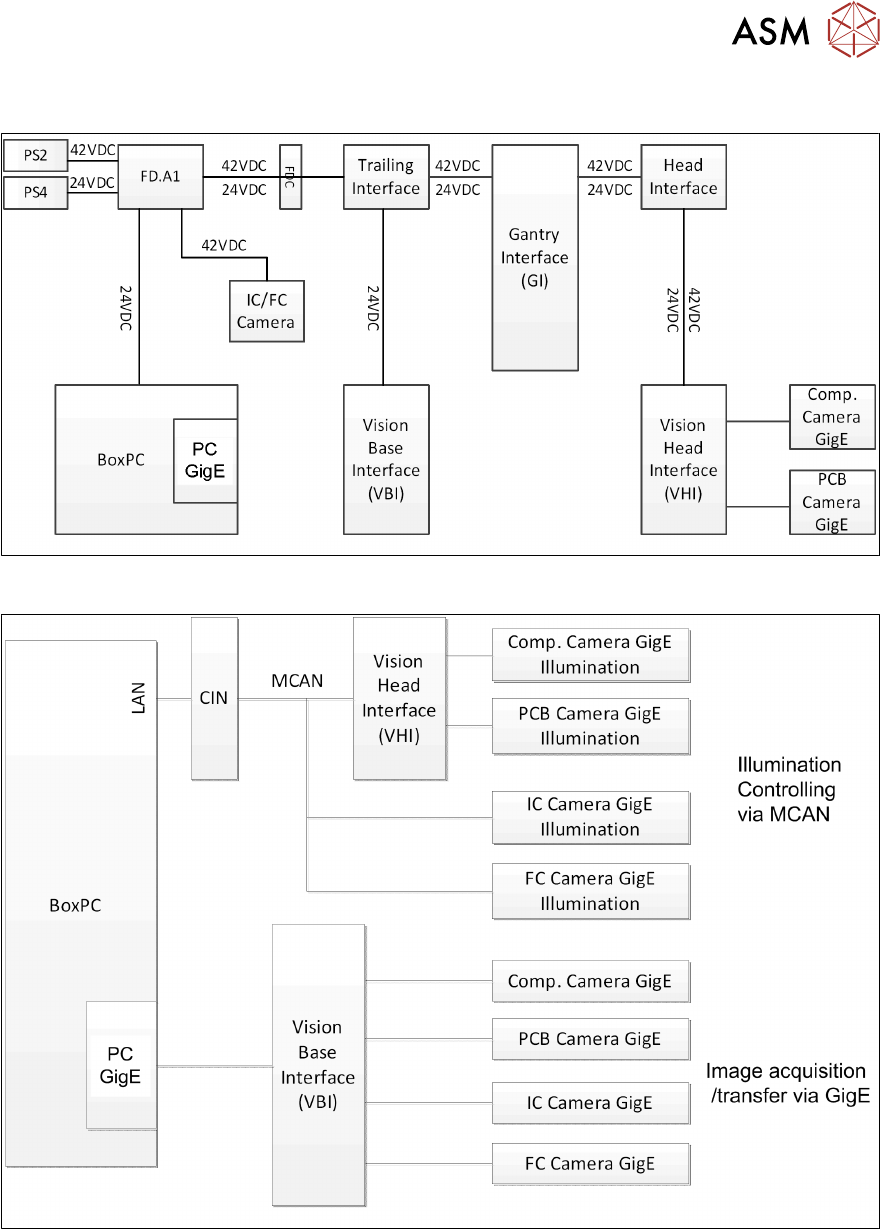
TX上通过 GigE和CAN总线进行影像通信
●
来自元件和PCB相机的图像以数字的形式发送到影像基础接口板(VBI)。
●
通过拖曳电缆“扩频”(非同轴电缆)进行传输。
●
来自 IC和FC 相机的图像直接通过影像基础接口板(VBI)发送到 PC的GigE 适配板。
●
贴片机CAN总线执行照明控制。
●
储存在元件形状中的各照明值通过 CAN总线传输到相机中。

8 控制和通信
8.10 GigE视像系统
技术培训 FSE SIPLACE TX系列 01/2018 133
GigE视像系统 电源概览
GigE视像系统 相机通信概览

8 控制和通信
8.11 分析/常见错误列表
134 技术培训 FSE SIPLACE TX系列 01/2018
8.11 分析/常见错误列表
代码 错误描述 可能的原因 操作
30447
30451
30456
30256
30262
●
GCU-GCU快速驱动总线上
通信中断
●
指定的 CAN 总线关闭
●
二级 CAN 总线关闭
●
无法初始化CAN硬件
●
无法初始化CAN界面
●
线缆连接存在问题
●
CIN存在问题
●
CAN电路中某元件/电路
板出现问题
●
MGCU存在故障
●
适配板/HCU存在故障
●
检查电缆连接
●
重启贴片机
●
检查 CIN 上的状态
和开关设置
●
检查并重新下载
CAN 接口的固件
●
检查 CAN 电路中相
关印刷板上的状态/
指示
●
检查 MGCU/HMCU
的状态/指示
●
更好适配板/HCU
37752
●
相机照明LED测试出现故障
●
相机未拍摄图像
●
相机照明电源出现故障
●
LED出现故障,但是相
机可以操作
●
相机GigE存在问题
●
线缆GigE存在问题
●
检查照明电源的相
关电路
●
检查输出相关电源
(PS)
●
检查相机的功能
●
检查GigE电缆的连
接
33378
33520
33606
33331
●
相机无法寻址
●
相机线路板无法寻址
●
相机拍摄的图像丢失
●
PC和相机之间信号通路
中断
●
相机存在问题
●
检查 BoxPC 的电缆
连接
●
检查同轴电缆连接
和拖曳电缆接头
●
检查相机线缆
●
检查相机,必要时
进行更换
30365
30572
●
不允许移动轴,Z轴不在安
全位置
●
移动星形轴和Z轴时时序错
误
●
轴控制次序偶尔出现通
信错误
●
看到星形轴和Z轴的允
许的重叠区
●
执行贴片头轴回参
考点
●
检查贴片头和轴
●
整体回参考点
●
如果某段位器出现
故障,那么进行更
换