FX-3RA-Rev07 - 第159页
- 15 2 - NOTE( 注 記 ) #01....FOR LEFT SIDE 左側用 #0 2. ...F OR E N EN 用 #0 3. ...F OR RI GH T SI DE 右側 用 #04....FOR 200V 200 V 用 #05....FOR 400V 400 V 用 #0 6. ...F OR ST ST 用 #0 7. ...F OR JE J E 用 #0 8. ...F OR CH CH 用 REF…

- 151 -
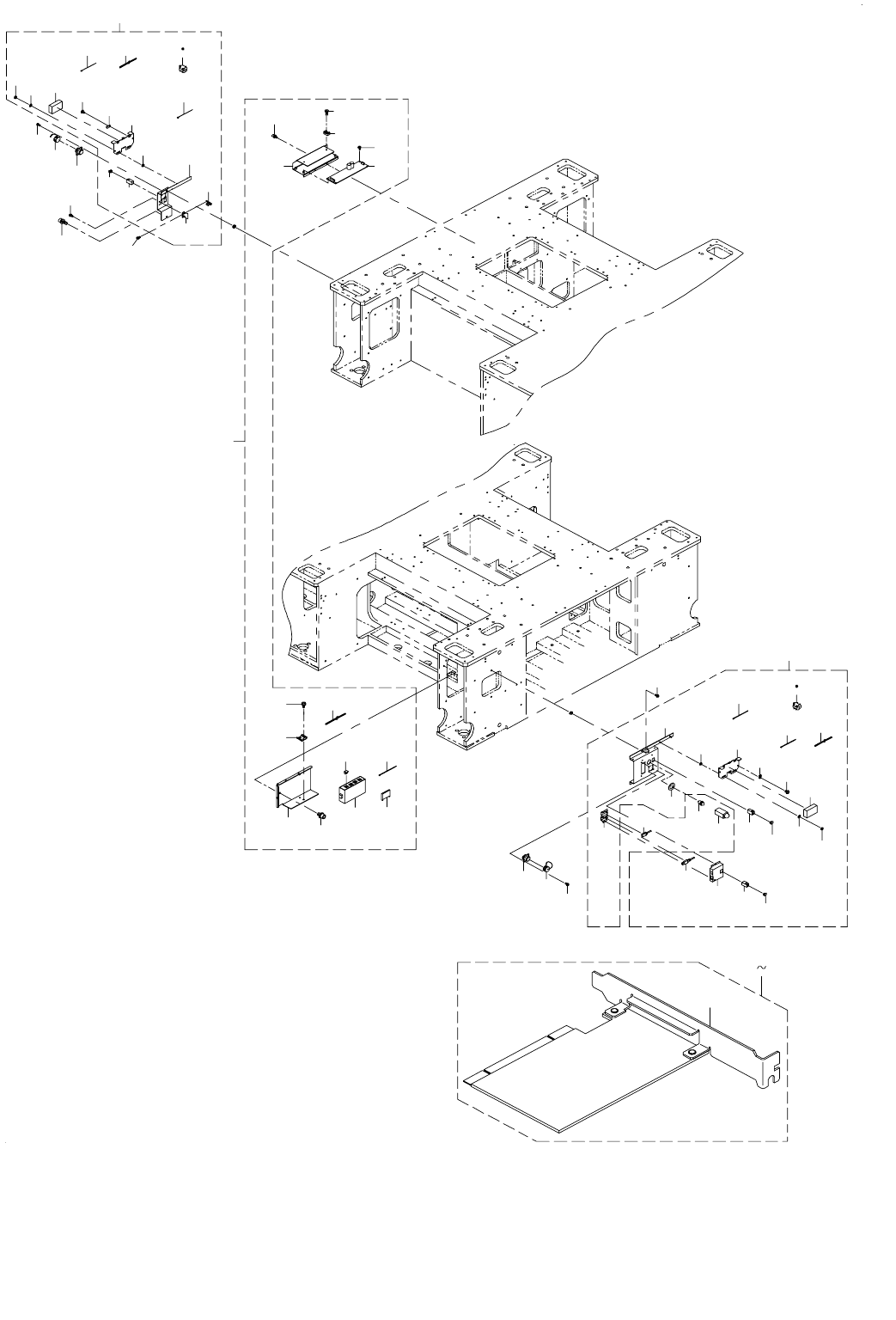
76.PLACEMENT MONITOR COMPONENTS(3)
プレースメントモニタ関係(3)
9
39
40
2
42
18
7
4
3
6
18
43
18
19
1
5
12
27
8
26
28
30
34
20
46
44
45
41
4
13
22
23
23
32
59
62
60
61
50
47
56
5552
51
49
48
54
53
66
63
65
16 17
24 25
26
27
37
67
35
36
11
10
14
15
38
21
31
33
29
57
58

- 152 -
NOTE( 注記 ) #01....FOR LEFT SIDE 左側用
#02....FOR EN EN 用
#03....FOR RIGHT SIDE 右側用
#04....FOR 200V 200 V 用
#05....FOR 400V 400 V 用
#06....FOR ST ST 用
#07....FOR JE JE 用
#08....FOR CH CH 用
REF.NO NOTE PART NO D E S C R I P T I O N
品 名
Qty
1
#01
401-18150 EPV BASE LEFT ASSY
EPV ベース左組
1
2 401-41916 HUB BRACKET 400
ハブブラケット400
(1)
3 NM-6050001-SC NUT M5X0.8 TYPE1
六角ナット M 5 X 0.8 1種
(2)
4 WP-0641601-SC WASHER M6
平座金みがき丸 M 6
(4)
5 401-21070 1394 CONN BR
1394コネクタブラケット
(1)
6 401-13079 1394 CONN BASE
1394コネクタベース
(1)
7 HK-0651200-80 CONNECTOR
モジュラー
(1)
8 HX-0066000-00 DUST COVER
ダストカバー
(1)
9 401-13080 IF PANEL L PM
IF パネル L PM
(1)
10 HX-0045900-00 ANCHOR MOUNT
アンカーマウント
(2)
11 SM-4040601-SC SCREW M4X0.7 L=6
なべ小ねじ M 4 X 0.7 L =6
(2)
12 EA-9500B01-00 CABLE BAND
束線バンド
(5)
13 HX-0009600-0A GROMMET
エッジングブッシュ
(0.2)
14 401-41912 1394 REPEATER HUB
1394リピータハブ
(1)
15 HX-0006500-0A CABLE CLIP
束線バンド
(1)
16 HN-0014900-0A CLAMP FILTER
クランプフィルタ
(3)
17 HN-0021000-00 CORES
コア
(1)
18 SL-4030881-SC SCREW M3 L=8
座金付きなべ小ねじ M 3 L =8
8
19 SL-6061292-TN SCREW M6 L=12
座金付き六角穴ボルト M 6 L =12
2
20
#03
401-26195 EPV_BASE_RIGHT_ASSY
EPV _ベース右組
1
21 401-41916 HUB BRACKET 400
ハブブラケット400
(1)
22 NM-6050001-SC NUT M5X0.8 TYPE1
六角ナット M 5 X 0.8 1種
(2)
23 WP-0641601-SC WASHER M6
平座金みがき丸 M 6
(4)
24 HN-0021000-00 CORES
コア
(1)
25 HN-0014900-0A CLAMP FILTER
クランプフィルタ
(3)
26 HK-0651200-80 CONNECTOR
モジュラー
(2)
27 HX-0066000-00 DUST COVER
ダストカバー
(2)
28 401-24763 IF_PANEL_R_RA_PM
IFパネルR_RA_PM
(1)
29 HX-0045900-00 ANCHOR MOUNT
アンカーマウント
(2)
30 SM-4040601-SC SCREW M4X0.7 L=6
なべ小ねじ M 4 X 0.7 L =6
(2)
31 EA-9500B01-00 CABLE BAND
束線バンド
(7)
32 HX-0009600-0A GROMMET
エッジングブッシュ
(0.13)
33 401-41912 1394 REPEATER HUB
1394リピータハブ
(1)
34 HX-0006500-0A CABLE CLIP
束線バンド
(1)
35 401-02179 USB_1394_BOX
USB 1394ボックス
(1)
36 401-02180 USB_1394_BR
USB 1394ブラケット
(1)
37 401-02157 1394 ADAPTER CABLE
1394アダプタケーブル
(1)
38 L177E-021-000 HOLDER CUSHION
ホルダークッション
(2)
39
#04
L800E-821-0A0 POWER ON LAMP 200V CABLE ASM
パワーオンランプ200 V 束線組
1
40
#05
L804E-921-0A0 POWER ON LAMP 400V CABLE ASM
パワーオンランプ400 V 束線組
1
41 SL-6061292-TN SCREW M6 L=12
座金付き六角穴ボルト M 6 L =12
2
42 400-47845 SMEMA IN CABLE ASM
スメマ IN ケーブル組
1
43
#02
HK-0429901-4A CONNECTOR
キャップ
1
44 400-47846 SMEMA OUT CABLE ASM
スメマ OUT ケーブル組
1
45
#02
HK-0429901-4A CONNECTOR
キャップ
1
46 SL-4030881-SC SCREW M3 L=8
座金付きなべ小ねじ M 3 L =8
4
47 401-18152 PM ETHERNET ASSY
PM イーサネット組
1
48 401-18003 SWITCHING HUB BR PM
スイッチングハブ BR PM
(1)
49 400-73033 SWITCHING HUB
スイッチングハブ
(1)
50 400-71597 CAREER RAIL 30
キャリアレール30
(1)
51 HK-0498900-0G CONNECTOR
コネクタ
(1)
52 HX-0066000-00 DUST COVER
ダストカバー
(2)
53 SL-6061292-TN SCREW M6 L=12
座金付き六角穴ボルト M 6 L =12
(2)
54 SL-4040891-SC SCREW M4X8
座金付きなべ小ねじ M 4 L =8
(2)
55 EA-9500B01-00 CABLE BAND
束線バンド
(10)
56 HX-0009600-0A GROMMET
エッジングブッシュ
(0.295)
57 401-21069 1394 POWER BR
1394パワー BR
(1)
58 HX-0054200-00 POWER SUPPLY
パワーサプライ
(1)
59 SL-4030881-SC SCREW M3 L=8
座金付きなべ小ねじ M 3 L =8
(4)
60 HX-0029400-00 FIXED BASE
固定ベース
(2)
61 SM-4040601-SC SCREW M4X0.7 L=6
なべ小ねじ M 4 X 0.7 L =6
(2)
62 SL-6040892-TN SCREW M4 L=8
座金付き六角穴ボルト M 4 L =8
(2)
63
#06
401-18153 ACCESSARY PM FX3R ST
アクセサリ PM FX 3 R ST
1
64
#07
401-18154 ACCESSARY PM FX3R JE
アクセサリ PM FX 3 R JE
1
65
#08
401-18155 ACCESSARY PM FX3R CH
アクセサリ PM FX 3 R CH
1
66 401-03223 1394 BOARD ASM
1394ボード組
(1)
67 400-44522 USB RELAY CABLE
USB 延長ケーブル
1

- 153 -
77.2D BARCODE READER COMPONENTS
2次元バーコードリーダ関係
27
27
3
1
7
8
9
10
11
34
32
34
33
34
33
34
32
31
30
6
19 20
21
22
16
17
28
28
28
28
28
23
23
24
25
26
12 15
35
2
5
4
24
42
42
41
46
36
46
36
39
37
38
36
37
45
42
42
45
36
43
44
40
38
50
53
51
53
57
54
53
58
52
55
53
56
60
59
48
49
47
A
A
29
18
29
18