Q4Y3C-E-MPA-45 - 第87页
Ref No. Remarks R 1 Q't y 8 コンベア 幅寄 せ 部 Conveyor Width Adjustment Section イラスト No. Part No. 品 名 品番 数量 R 2 パーツリスト Kit No . キット品 番 Kit Name キット名称 KXFX04JWA00 Part N ame 備 考 セクションNo. PARTS LIST Section No. R 3 PIN 4 1 …

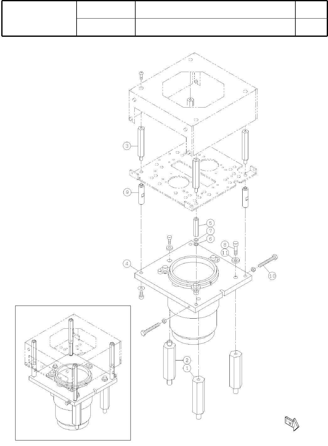
8
コンベア
幅寄
せ
部
Conveyor Width Adjustment Section
パーツレイアウト
Kit No.
キット品
番
Kit Name
キット名称
KXFX04JWA00
セクションNo.
PARTS LAYOUT
Section No.
M63

Ref
No.
Remarks
R
1
Q't
y
8
コンベア
幅寄
せ
部
Conveyor Width Adjustment Section
イラスト
No.
Part No.
品 名品番 数量
R
2
パーツリスト
Kit No.
キット品
番
Kit Name
キット名称
KXFX04JWA00
Part Name
備 考
セクションNo.
PARTS LIST
Section No.
R
3
PIN
4
1 KXFB0210A00
PLATE
2
2 N210043799AA
BRACKET
1
3 N210043800AA
BRACKET
1
4 KXFB0EMHA00
BRACKET
1
5 KXFB0EM9A00
BRACKET
1
6 KXFB0EMJA00
BRACKET
1
7 KXFB0EMAA00
PULLEY
2
8 N510024786AA R101-0320C2-821305-F-PK
SPACER
2
9 N510017038AA 3382330-90160
BEARING
2
10 N510024787AA 6000ZZ
MOTOR
1
11 KXF07R6AA00
S
KH56KM2-651
COUPLING
1
12 KXF0DWP1A00 MSF-25-D6.35XD8 CM402(DDA)
BEARING
4
13 KXF03G0AA00 SFB38-10
BALL-SCREW
2
14 N510032967AA XSTR01204C1DFC7-386-P0(NA120506)
SHAFT
2
15 N510032400AA SF16314M05B
BUSH
2
16 N510016960AA LMF16LUU
PH-SENSOR
1
17 KXF0DL0AA01 PM-K53B-C1(DA KXF0DL0AA01)
BOLT
2
18 N510018901AA
Hexagon head bolt Best class M8X120-6g 4T A2J (Trivalent)
BOLT
2
19 N510018902AA
Hexagon head bolt Best class M8X20-6g 4T A2J(Trivalent)
NUT
2
20 N510017879AA
Hexagon nut Type-3 Best class M8-6H-4T A2J (Trivalent)
GREASE-NIPPLE
2
21 KXF0CSNAA00 GPA6A
BOLT
2
22 N510017536AA
Hexagon socket button head screw M4X8-10.9 A2J (Trivalent)
BOLT
1
23 N510017328AA
Hexagon socket head cap screw M3X35-10.9 A2J (Trivalent) Full thread
WASHER
2
24 N510018471AA
Iron round plain washer4X13X1.0(chromeite) A2J (Trivalent)
M64

9
ラインカメラ
Line Camera
パーツレイアウト
Kit No.
キット
品番
Kit Name
キット
名称
KXFX036BA00
セクション
No
.
PARTS LAYOUT
Section No.
-
-
M65
( KKXFX036BA00-05 )