P-0107-002 - 第102页
在线预览 P-0107-002 PDF 文档。



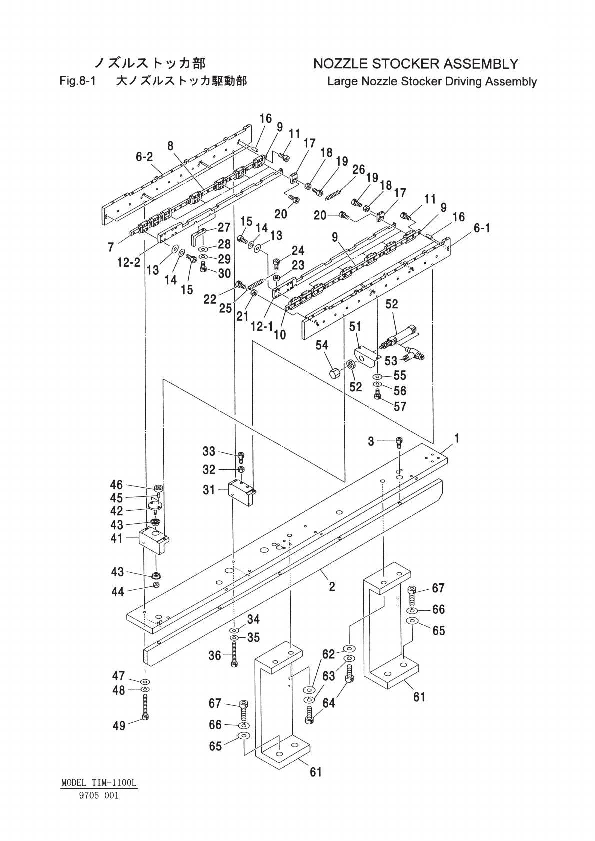
Key No. PART No. PART NAME Q'ty REMARKS REGISTERED No.
1 616 125 8854 BASE 1 648FC-21B-011 1CC2FA1001902
2 616 125 8885 REINFORCEMENT 1 648FC-21B-020 1CC2FE0500521
3 630 000 7879 BOLT,HEX-SCT 5 M6X12
6 -1 616 125 6768 HOLDER 1 648FB-21B-002 1CC2FC0507131
6 -2 616 125 6751 HOLDER 1 648FB-21B-001 1CC2FC0507121
7 616 121 8940 WAY 1 648FB-21H-503 1CC2GG1001560
8 616 121 8964 WAY 1 648FB-21H-505 1CC2GG1001580
9 616 121 8957 WAY 3 648FB-21H-504 1CC2GG1001570
10 616 121 8933 WAY 1 648FB-21H-502 1CC2GG1001550
11 630 008 1114 BOLT,HEX-SCT 28 M2X8
12 -1 616 121 8803 PLATE 1 648FB-21B-004 1CC2FB0507111
12 -2 616 121 8797 PLATE 1 648FB-21B-003 1CC2FB0507101
13 411 141 6903 WASHER V 2X5X0.3 16 FW2
14 411 141 2608 WASHER SPR 2 16 SW2
15 630 008 1114 BOLT,HEX-SCT 16 M2X8
16 616 121 8926 SHAFT 12 648FB-21H-501 1CC2GK0502790
17 616 121 8858 BLOCK 10 648FB-21B-009 1CC2FB1002820
18 411 140 9202 NUT HEX 2 10 M2
19 630 008 1114 BOLT,HEX-SCT 10 M2X8
20 630 000 7466 BOLT,HEX-SCT 20 M2X6
21 411 140 9202 NUT HEX 2 1 M2
22 630 008 1114 BOLT,HEX-SCT 1 M2X8
23 411 140 9202 NUT HEX 2 1 M2
24 630 008 1114 BOLT,HEX-SCT 1 M2X8
25 616 111 8530 SPRING 1 648FB-21H-512 1CC2GM0502030
26 616 121 8995 SPRING 5 648FB-21H-513 1CC2GM0504240
27 616 121 8902 BLOCK 1 648FB-21B-015 1CC2FB1002830
28 411 141 3902 WASHER V 3X7X0.5 2 FW3
29 411 141 2806 WASHER SPR 3 2 SW3
30 630 000 7527 BOLT,HEX-SCT 2 M3X10
31 616 125 6782 PLATE 1 648FB-21B-006 1CC2FB0505302
32 411 140 9905 NUT HEX 3 1 M3
33 630 000 7527 BOLT,HEX-SCT 1 M3X10
34 411 141 3902 WASHER V 3X7X0.5 2 FW3
35 411 141 2806 WASHER SPR 3 2 SW3
36 630 000 7596 BOLT,HEX-SCT 2 M3X35
41 616 125 6775 PLATE 1 648FB-21B-005 1CC2FB0506652
42 616 121 8865 LEVER 1 648FB-21B-010 1CC2CC0501131
43 616 121 8988 BALL BEARING 2 648FB-21H-509 1CC2GF4002010
44 616 111 8356 NUT 1 648FB-21H-511 1CC2SA1500840
45 616 111 8325 SHAFT 2 648FB-21H-516 1CC2GK0502110
46 616 111 8288 BALL BEARING 2 648FB-21H-508 1CC2GF4000260
47 411 141 3902 WASHER V 3X7X0.5 2 FW3
48 411 141 2806 WASHER SPR 3 2 SW3
49 630 000 7596 BOLT,HEX-SCT 2 M3X35
51 616 121 8872 BRACKET 1 648FB-21B-011 1CC2FC1005440
52 616 121 8971 CYLINDER 1 648FB-21H-506 1CC2BA0502660
53 616 111 8226 SPEED CONTROLLER 2 648FB-21H-507 1CC2BC0800141
54 616 111 8462 BLOCK(ROD) 1 648FB-21B-014 1CC2FB1001720
55 411 141 3902 WASHER V 3X7X0.5 2 FW3
NOTE
8-1
9705-001
MODEL TIM-1100L