P-0107-002 - 第127页
Key No. PART No. PART NAME Q'ty REMARKS REGISTERED No. 1 616 121 6267 COVER 1 648BC-21B-038 1CC2CA0504560 2 630 059 2849 PANEL 1 648GH-21V-001 3 411 141 4008 WASHER V 4X9X0.8 6 FW4 4 411 141 2905 WASHER SPR 4 6 SW4 …


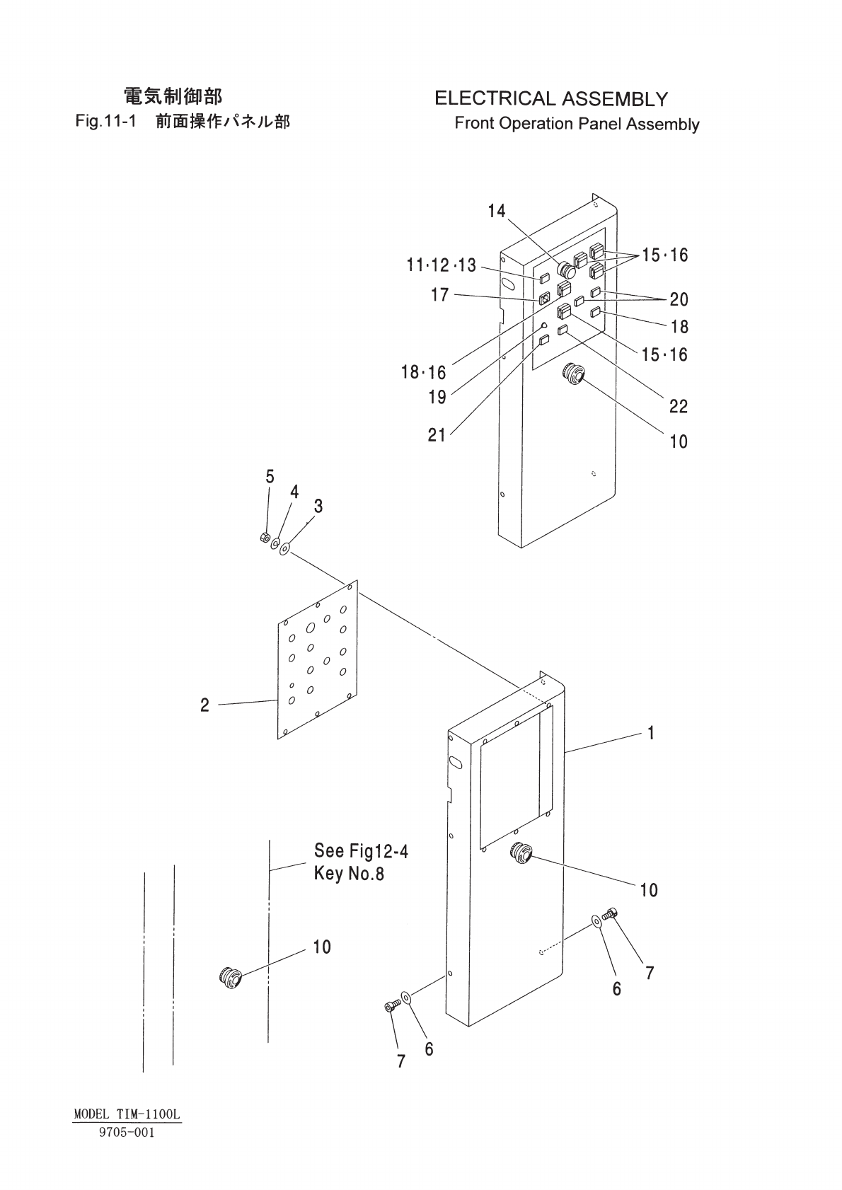
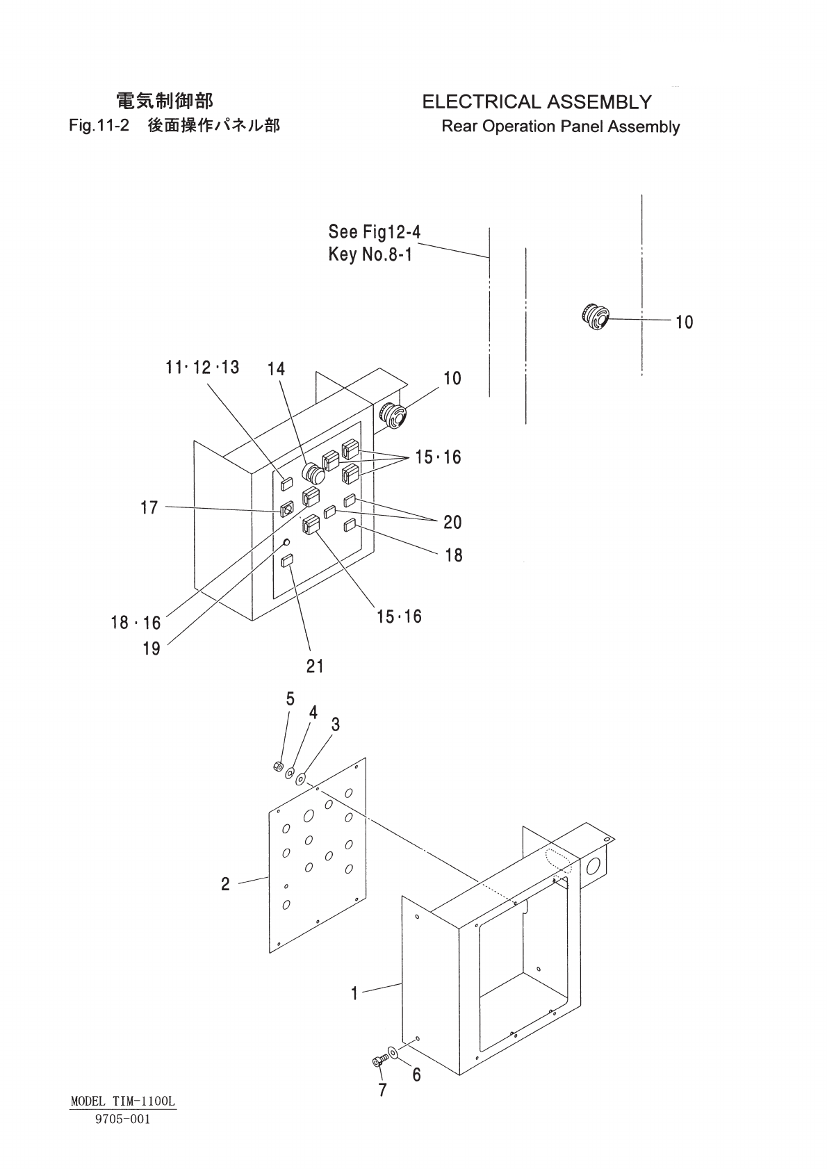
Key No. PART No. PART NAME Q'ty REMARKS REGISTERED No.
1 616 121 6267 COVER 1 648BC-21B-038 1CC2CA0504560
2 630 059 2849 PANEL 1 648GH-21V-001
3 411 141 4008 WASHER V 4X9X0.8 6 FW4
4 411 141 2905 WASHER SPR 4 6 SW4
5 411 141 0307 NUT HEX 4 6 M4
6 411 141 4107 WASHER V 5X10X1 5 FW5
7 630 000 7749 BOLT,HEX-SCT 5 M5X10
10 630 049 1166 SWITCH,BUTTON 2 648GH-21D-512
11 616 121 4188 SWITCH 1 648GH-21D-514 1CC4S11001100
12 630 059 1989 ACCESSORY,SW 1 648GH-21D-515
13 630 033 4593 ACCESSORY,SW 1 648GH-21D-516
14 616 121 4102 PUSH SWITCH 1 648GH-21D-502 1CC4S11000990
15 616 121 4140 PUSH SWITCH 4 648GH-21D-506 1CC4S11000110
16 616 112 2162 SWITCH COVER 5 648GH-21D-509 1CC4S11200010
17 616 125 6492 SELECTOR SWITCH 1 648GH-21D-503 1CC4S13500370
18 616 121 4126 PUSH SWITCH 2 648GH-21D-504 1CC4S11000220
19 616 121 4171 L.E.D INDICATOR LIGHT 1 648GH-21D-511 1CC4T42700030
20 616 121 4133 PUSH SWITCH 2 648GH-21D-505 1CC4S11000170
21 616 121 4157 PUSH SWITCH 1 648GH-21D-507 1CC4S11000240
22 630 035 0074 BUZZER 1 648GH-21D-508
NOTE
11-1
9705-001
MODEL TIM-1100L
